Sharp BP-50C26, BP-50C31, BP-50C36, BP-50C45 Handleiding
- 1 CONFIGURATIE
- 2 SIMULATIE
- 3 HOOFDEENHEID
- 4 BP-DE12/DE13/DE14 PAPIERLADE
- 5 BP-DE15 PAPIERLADE
-
6
BP-LC10 GROTE CAPACITEITS LADE
- 6.1 Uitpakken
-
6.2
Installatie
- 6.2.1 Ontgrendel de vergrendeling
- 6.2.2 Aansluiting van de hoofdeenheid en de grote capaciteitslade
- 6.2.3 Hoogteaanpassing
- 6.2.4 Aansluiting van de connector
- 6.2.5 Papierformaatschakelaar
- 6.2.6 Schakel de stroom van de hoofdeenheid in
- 6.2.7 Formaatinstelling
- 6.2.8 Aanpassing van het uit het midden staande beeld
- 7 MX-LT10 LANGE PAPIERINVOERTRAY
- 8 Download handleiding
- 9 In andere talen

CONFIGURATIE
Systeemdiagram

Optielijst

STD: Standaarduitrusting
OPT: Installeerbare optie
*1: Optie in sommige gebieden
*2: Geen ondersteuning in sommige gebieden
SIMULATIE
Algemeen en doel
De simulatiemodus heeft de volgende functies, om de werkingsstatus van de machine weer te geven, de positie van het probleem en de oorzaken in een eerder stadium te identificeren en om de machine efficiënt in te stellen en aan te passen voor verbeterde onderhoudbaarheid.
- Diverse aanpassingen
- Instelling van de specificaties en functies
- Problemen annuleren
- Werking controleren
- Counters controleren, instelling wissen
- Machine-werkingscondities (werking-hysterese) gegevens controleren, wissen
- Diverse (aanpassingen, instellingen, werking, counters, enz.) gegevenstransport.
De bedieningsprocedures en displays zijn afhankelijk van het ontwerp van het bedieningspaneel van de machine.
Simulatiemodus
| Eenvoudige modus | Geeft veelgebruikte simulaties weer voor elke categorie, waardoor technici gemakkelijk toegang hebben om instellingen te wijzigen, onderhoud uit te voeren en aanpassingen te maken. |
| Klassieke modus | Alle simulaties worden weergegeven en kunnen worden geopend door de hoofdcode in te voeren, vervolgens de subcode volgens eerdere modelseries. |
Functie van elke toets

| Nr. | Naam | Functie |
| 1 | TEST-toets | Testmodus wijzigen |
| 2 | Modus instellingstoets | Eenvoudige modus, Klassieke modus wijzigen |
| 3 | Taal instellingstoets | Taal wijzigen in simulatiemodus |
| 4 | INFO-toets | Werking van de huidige weergave weergeven |
| 5 | EXIT-toets | Afsluiten van de simulatiemodus |
| 6 | BACK-toets | Terug naar de vorige weergave |
| 7 | Clear-toets | Invoerwaarde wissen |
De simulatie starten
De simulatiemodus openen.
- Dubbeltik op de HOME-toets
- Tik op de Ver-weergavesectie (10-toetsenmodus invoermodus scherm)
![Sharp - BP-50C26 - De simulatie starten - Stap 1 De simulatie starten - Stap 1]()
- Raak de (#) toets → Asterisk (*) toets → Clear-toets → Asterisk (*) toets → Gereed voor invoer van de hoofdcode van de simulatie aan.
![Sharp - BP-50C26 - De simulatie starten - Stap 2 De simulatie starten - Stap 2]()
HOOFDEENHEID
Uitpakken
- Snijd de polypropyleen banden door.
- Verwijder de bovenkant, de dempingsmaterialen en de behuizing van de hoofdeenheid.
- Verwijder F -add. Verwijder de vinyl zak van de hoofdeenheid.
- Trek de handgrepen eruit.
- Til de hoofdeenheid langzaam op met 4 personen en zet hem voorzichtig op een vlakke en veilige plaats.
Verwijdering van bevestigingstape en beschermmateriaal

- Open de voorklep en verwijder de silicagel.
![]()
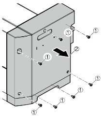
- Duw de vergrendelingshendels aan beide uiteinden van de afvaltonerbox naar binnen en trek de afvaltonerbox omhoog.
- Verwijder de tape van de afvaltonerbox.
* Tape wordt gebruikt bij het verplaatsen van de machine, dus bewaar deze indien nodig.
- Zorg ervoor dat de vergrendelingshendel naar de positie is verplaatst die wordt aangegeven door de pijl.
- Verwijder het beschermmateriaal.
- Open de rechterklep.
![]()
- Verwijder het bevestigingsmateriaal (4 plaatsen) van de overdrachtseenheid en het label.
Controle van verpakte artikelen

| Nr. | Naam | Aantal |
| 1 | Bedieningshandleiding | 1 |
| 2 | Beschermblad | 1 |
Ontgrendeling
- Tray rotation plate lock release (ontgrendeling van het vergrendelingsplaatje van de laderotatie)
- Trek de lade eruit. Draai het bevestigingsmateriaal en verwijder het. Verwijder het waarschuwingslabel.
Bevestig het verwijderde bevestigingsmateriaal op de positie die in de afbeelding wordt getoond voor toekomstig gebruik.
Sluit de lade die was uitgetrokken.
![Sharp - BP-50C26 - Een tray rotation plate lock ontgrendelen op de hoofdeenheid Een tray rotation plate lock ontgrendelen op de hoofdeenheid]()
- Trek de lade eruit. Draai het bevestigingsmateriaal en verwijder het. Verwijder het waarschuwingslabel.
- Scanner (2/3 mirror unit) lock release (ontgrendeling van de scanner (2/3 spiegel unit))
- Verwijder de bevestigingsschroef van de optische unit en verwijder het notitielabel.
![]()
- Bevestig het beschermblad. (Verpakt artikel nr. 2)
- Verwijder de bevestigingsschroef van de optische unit en verwijder het notitielabel.
Installatie
Wanneer een optionele papierinvoertafel op de machine is aangesloten, pakt u de papierinvoertafel uit en installeert u deze, en pakt u vervolgens de machine uit.
Plaats de machine stevig op de optionele tafel en voer de installatieprocedures van de machine uit.
Plaats de machine stevig en veilig op de optionele tafel.
Deze modellen zijn verzonden met de developer in de developer unit en SIM25-2 is uitgevoerd. Voer daarom SIM25-2 NIET uit bij de installatie van de machine.
Als SIM25-2 is uitgevoerd, vervang dan alle developers door nieuwe en voer SIM25-2 uit. Als de machine is gebruikt zonder de nieuwe developer te vervangen, kunnen er problemen ontstaan met de levensduur.
Installatie tonercartridge
- Schud de tonercartridge horizontaal meerdere keren
- Open de voorklep en plaats elke tonercartridge
Zorg ervoor dat u de kleurencartridge in de juiste positie plaatst. Vermijd installatie op een andere kleurpositie.
Plaats de tonercartridge niet met geweld.
Duw deze naar binnen totdat de cartridge stevig op zijn plaats is vergrendeld.

Montagelocatie van de tonercartridge van elke kleur
Reiniging van het stofvrije glas van de LSU
Tijdens transport of installatie kan er stof van de transferband of sluiter of een ander aangrenzend onderdeel op de LSU vallen. Zorg ervoor dat u het stofvrije glas reinigt voordat u de beeldkwaliteit controleert.
- Maak de LSU-reinigingsstaaf los van de voorklep.
- Draai de viltzijde van de reinigingsstaaf naar beneden en steek deze erin. Schuif deze een paar keer heen en weer om het stofvrije glas van de LSU te reinigen.
- Plaats de LSU-reinigingsstaaf terug op de voorklep zodat het vilt naar boven wijst. Plaats de uitstulping en bevestig deze met drie palmen.
- Bevestig de afvaltonerbox.
Beide uiteinden zijn goed vergrendeld.
- Schakel de hoofdschakelaar in en sluit vervolgens de voorklep.
Voor de optie EXIT TRAY CABINET. De finisher of de exit tray cabinet moet worden geïnstalleerd voordat de machine wordt ingeschakeld, anders treedt de code L4-11 op.
- Schakel de aan/uit-schakelaar van het bedieningspaneel in.
Bedien de hoofdeenheid niet gedurende 20 seconden nadat u de stroom hebt ingeschakeld vanwege de contactbedieningscontrole van de laadrol.
* In zeldzame gevallen kan het JAM-scherm verschijnen wanneer het apparaat wordt bediend.
* Als het JAM-scherm verschijnt, annuleert u JAM door de rechterklep te openen en te sluiten en de JAM-geschiedenis te wissen.
- Druk op OK (OK).
![Sharp - BP-50C26 - Reiniging van het stofvrije glas van de LSU - Stap 6 Reiniging van het stofvrije glas van de LSU - Stap 6]()
- MFP automatisch opnieuw opgestart en gaat naar de toner aanvulbewerking
Controleer of "Toner aanvullen bezig" wordt weergegeven en wacht tot de weergave verdwijnt (dit duurt 30 sec - 4 min)
Opmerking
Deze procedure is voor het controleren van de toner toevoerbewerking van de tonercartridge naar de DV-unit. De bewerkingstijd is afhankelijk van de hoeveelheid toner in de tonercartridge. Ongelijke verdeling van toner en de interne staat van de tonercartridge.
Instelling papierinvoerlade
- Systeeminstelling
- Tik op de [SETTINGS] (INSTELLINGEN)-toets.
- Tik op de [Init. Install Settings] (Init. Installatie-instellingen)-toets.
- Tik op de [Password] (Wachtwoord)-toets bij de Administrator Login (Administrator Login). Voer het wachtwoord in met 10 toetsen. "admin"
- Tik op de [Paper Tray Settings] (Papierlade-instellingen)-toets om de instellingen te configureren. Deze instellingen specificeren het papiertype, het papierformaat en de toegestane functies voor elke papierlade. Wanneer op de [Tray Settings] (Lade-instellingen)-toets wordt getikt, verschijnt een lijst met de lades en de huidige instellingen.
- Tik op de [Each tray] (Elke lade)-toets in het bovenstaande scherm om de instellingen te wijzigen.
De volgende instellingen kunnen worden geconfigureerd.
| Item | Beschrijving |
| Type | Selecteer het type papier dat in de lade is geplaatst. De papiersoorten die kunnen worden geselecteerd, variëren per papierlade. |
| Grootte | Selecteer het papierformaat uit de lijst. De papierformaten die kunnen worden geselecteerd, variëren per lade. De formaten die kunnen worden geselecteerd, kunnen ook worden beperkt door het hierboven geselecteerde papiertype. Als het gewenste formaat niet in de lijst staat, selecteer dan [Custom Size] (Aangepast formaat) en voer het formaat rechtstreeks in (alleen voor de bypasslade). |
| Feeding Approved Job (Invoeren goedgekeurde taak) | Selecteer de modi die kunnen worden gebruikt. Als er een functie is die u niet met de geselecteerde lade wilt gebruiken, schakel de functie dan uit. Wanneer het "Type" anders is dan normaal papier, gerecycled papier, gekleurd papier of een gebruikerstype, kunnen [Fax] en [Internet Fax] niet worden geselecteerd. |
- Ladeformaat instellen
- Trek de papierlade eruit.
Trek de lade voorzichtig uit totdat deze stopt.
Als er nog papier in de lade zit, verwijder dit dan.
![Sharp - BP-50C26 - Papierladeformaat instellen - Stap 1 Papierladeformaat instellen - Stap 1]()
- Stel de geleideplaten A en B in door hun vergrendelingshendels in te drukken en ze te verschuiven zodat ze overeenkomen met de verticale en horizontale afmetingen van het te plaatsen papier.
De geleideplaten A en B zijn verschuifbaar. Verschuif elke geleideplaat terwijl u de vergrendelingshendel indrukt.
- Stel de geleideplaten A en B in door hun vergrendelingshendels in te drukken
![Sharp - BP-50C26 - Papierladeformaat instellen - Stap 3 Papierladeformaat instellen - Stap 3]()
- Trek de papierlade eruit.
Specificaties instellen
Gebruik SIM26-6 om de bestemming van de machines in te stellen.
| SIM-nr. | Inhoud | |
| 26 | 6 | Wordt gebruikt om de bestemming in te stellen. |
Nadat de bestemmingsinstellingen zijn voltooid, wijzigt u de ingestelde waarden om de volgende instellingen aan te passen.
| SIM-nr. | Inhoud | |
| 26 | 3 | Wordt gebruikt om de specificatiemodus van de auditor in te stellen. |
| 5 | Wordt gebruikt om de telmodus van de totale teller en de onderhoudsteller in te stellen. | |
| 18 | Wordt gebruikt om JA/NEE van de tonerspaarstand in te stellen (alleen in de Britse en Japanse versies) * Voor andere bestemmingsversies wordt deze instelling gemaakt door het gebruikersprogramma. | |
| 29 | Wordt gebruikt om de modus voor firmware-updates op afstand in te stellen. | |
| 52 | Wordt gebruikt om JA/NEE in te stellen van het tellen wanneer niet-afdrukpapier door elke teller wordt gevoerd. | |
Beeldkwaliteitscontrole
Uit te voeren handelingen
Voer de volgende handelingen uit.
| Nr. | Handeling | SIM |
| 1 | Aanpassing beeldvervorming printengine (handmatige aanpassing)/OPC-trommelfase-aanpassing (automatische aanpassing)/Kleurenaanpassing (automatische aanpassing) | 50-22 |
| 2 | Controle kopieerkleurbalans en -dichtheid | |
| 3 | Controle printerkleurbalans/-dichtheid | 64-5 |
Wanneer er afwijkingen in een afbeelding zijn door de hierboven genoemde inhoud, voert u de volgende inhoud uit en bevestigt u een afbeelding.
| Nr. | Handeling | SIM |
| 4 | Aanpassing kopieer-/printerkleurbalans (automatische aanpassing) | 46-74 |
| 5 | Aanpassing van print-/scanbeeld buiten het midden, positie voorrand | 50-10 |
Beschrijving
- Aanpassing beeldvervorming printengine (handmatige aanpassing)/OPC-trommelfase-aanpassing (automatische aanpassing)/Kleurenaanpassing (automatische aanpassing)
Deze aanpassing voert tegelijkertijd de aanpassing van de beeldvervorming van de printengine, de OPC-trommelfase-aanpassing en de kleurenaanpassing uit.
- Ga naar de SIM50-22-modus.
- Druk op de [EXECUTE]-toets (UITVOEREN).
De [EXECUTE]-toets (UITVOEREN) is gemarkeerd en de automatische aanpassing van de beeldregistratie wordt gestart. (Het duurt ongeveer 30 seconden om de aanpassing te voltooien.) - Wanneer de aanpassing is voltooid, keert de [EXECUTE]-toets (UITVOEREN) terug naar de normale weergave en wordt de waarde van het aanpassingsresultaat weergegeven.
Het huidige scheefheidsniveau voor elke kleur wordt weergegeven in het SKEW-weergavegedeelte.
- Noteer het weergegeven scheefheidsniveau.
(Betekenis van de waarde van het scheefheidsniveau en de aanpassingsprocedure)
* Als "OK" wordt weergegeven voor alle items van SKEW C, M en Y, is het niet nodig om de aanpassing uit te voeren.
* Wanneer "R" aan het begin van de waarde wordt weergegeven, draait u de LSU-scheefheidsaanpassingsschroef met de klok mee.
* Wanneer "L" aan het begin van de waarde wordt weergegeven, draait u de LSU-scheefheidsaanpassingsschroef tegen de klok in.
* De draaihoeveelheid van de aanpassingsschroef komt overeen met elke aanpassingswaarde. C, M en Y geven het aantal klikken aan. De weergegeven waarde wordt afgerond op het decimale punt.
* "C, M en Y(SKEW)" toont het aantal aanpassingsklikstappen voor elke aanpassingsschroef van C, M en Y.
Inhoud in ( )
MIAN, SUB: Verschil met de vorige aanpassingswaarde van de beeldregistratie.
Voorbeeld:
Als 105 voor deze keer en 103 voor de vorige keer, wordt het weergegeven als 105,0 (+2,0).
SKEW: Beoordeling van het LSU-scheefheidsaanpassingsresultaat. OK of NG.
PHASE: OPC-trommelfase-aanpassingswaarde van de vorige keer - De procedures 2) tot 4) opnieuw en controleer of C, M en Y (SKEW) OK zijn.
Als een van hen NG is, draai dan aan de LSU-scheefheidsaanpassingsschroef van de corresponderende kleur om aan te passen.
![Sharp - BP-50C26 - Aanpassing beeldvervorming printengine - Stap 2 Aanpassing beeldvervorming printengine - Stap 2]()
Wanneer de aanpassing wordt gedaan door aan de LSU-scheefheidsaanpassingsschroef van K te draaien, veranderen de statussen van C, M en Y (SKEW). Voer SIM50-22 uit om te controleren of C, M en Y (SKEW) OK zijn.
Wanneer er een afwijking optreedt, wordt "ERROR" weergegeven.
Controleer in dit geval elke aandrijvingssectie en de processectie.
- Controle kopieerkleurbalans en -dichtheid
Methode
Maak een kopie van de grijze testkaart (UKOG-0162FCZZ) en een kopie van de servicekleurentestkaart (UKOG-0326FCZZ/UKOG-0326FC11) en controleer of ze correct zijn.- Opmerking voor het uitvoeren van de controle van de kleurbalans en -dichtheid in de kleurenkopieermodus Om de kopieerkleurbalans en -dichtheid te controleren, gebruikt u de grijze testkaart (UKOG-0162FCZZ) en de servicekleurentestkaart (UKOG- 0326FCZZ/UKOG-0326FC11). Stel het kopieerdichtheidsniveau in op "3" in de modus Text/Printed Photo (Handmatig) en maak een kopie.
Op dat moment moeten alle aanpassingen van de kleurbalans in de gebruikersaanpassingsmodus op de standaard (midden) staan. Gebruik bovendien zeker het opgegeven papier voor kleur. - Opmerking voor het controleren van de dichtheid in de monochrome kopieermodus
Om de dichtheid te controleren, gebruikt u de grijze testkaart (UKOG-0162FCZZ). Stel het kopieerdichtheidsniveau in op "Handmatig 3" in de modus Text/Printed Photo (Handmatig).
Bovendien moeten alle aanpassingen van de kleurbalans in de gebruikersaanpassingsmodus op de standaard (midden) staan.
- Opmerking voor het uitvoeren van de controle van de kleurbalans en -dichtheid in de kleurenkopieermodus Om de kopieerkleurbalans en -dichtheid te controleren, gebruikt u de grijze testkaart (UKOG-0162FCZZ) en de servicekleurentestkaart (UKOG- 0326FCZZ/UKOG-0326FC11). Stel het kopieerdichtheidsniveau in op "3" in de modus Text/Printed Photo (Handmatig) en maak een kopie.

[Controleren met de grijze testkaart (UKOG-0162FCZZ)]
Controleer bij de controle van de kopieerdichtheid met de grijze testkaart of aan de volgende voorwaarden wordt voldaan.
Gebruik voor de kleur-(grijze)balans de servicekleurentestkaart (UKOG- 0326FCZZ/UKOG-0326FC11) om te controleren.

[Controleren met de servicekleurentestkaart (UKOG-0326FCZZ/UKOG- 0326FC11)]
Controleer bij de controle van de kopieerkleurbalans met de servicekleurentestkaart of aan de volgende voorwaarden wordt voldaan.
- Controlepunten kleurenkopie (Controleer of aan het volgende wordt voldaan:)
- Er zijn 12 lege gebieden.
- Registraties (één punt voor het hoofdscanproces en één punt voor het subscanproces) zijn niet verschoven.
- De resolutie van 5,0 (5 punten) is te zien.
- Het kleurverschil in grijstinten tussen de F- en de R-kant is niet zo groot.
- Er zijn geen witte en zwarte strepen.
- Kleurteksten worden duidelijk gereproduceerd.
- De vaste dichtheid is niet zo licht.
- Controlepunten monochrome kopie (Controleer of aan het volgende wordt voldaan:)
- Er zijn 12 lege gebieden.
- De resolutie van 4,0 (5 punten) is te zien.
- Het dichtheidsverschil tussen de F- en de R-kant is niet zo groot.
- Er zijn geen witte en zwarte strepen.
- De vaste dichtheid is niet zo licht.
- De zwarte gradatie met lage dichtheid wordt enigszins gekopieerd.
- Controle printerkleurbalans/-dichtheid
Methode
Voer SIM64-5 uit om het printtestpatroon af te drukken.
![Sharp - BP-50C26 - Beeldkwaliteitscontrole - Controle kleurbalans/-dichtheid Beeldkwaliteitscontrole - Controle kleurbalans/-dichtheid]()
Stel elke ingestelde waarde in op de standaard en druk op de [EXECUTE]-toets (UITVOEREN). Het printtestpatroon wordt afgedrukt.
De printdichtheid moet geleidelijk worden gewijzigd van het lichtere naar het donkerdere niveau. De richting van de dichtheidswijziging mag niet worden omgekeerd. Het dichtheidsniveau van elke kleur moet bijna op hetzelfde niveau liggen.
- Aanpassing kopieer-/printerkleurbalans en -dichtheid (automatische aanpassing)
Wanneer een printeroptie is geïnstalleerd, moet u zeker het bovenstaande item uitvoeren.
- Ga naar de SIM46-74-modus.
- Druk op de [EXECUTE]-toets (UITVOEREN).
De procesregeling met hoge dichtheid wordt uitgevoerd en de kopieerkleurpatchafbeelding (aanpassingspatroon) wordt afgedrukt. (A4/11" x 8,5" of A3/11" x 17" papier wordt automatisch geselecteerd.) - Plaats het kleurpatchafbeelding (aanpassingspatroon) papier dat is afgedrukt in procedure 2) op de documenttafel.
Plaats de kleurpatchafbeelding (aanpassingspatroon) die is afgedrukt in procedure 2) op de documenttafel. Plaats de kleurpatchafbeelding zo dat de fijne lijnen zich aan de linkerkant bevinden. Plaats op dat moment 5 vellen wit papier op de afgedrukte kleurpatchafbeelding (aanpassingspatroon).
- Selecteer [FACTORY] (FABRIEKSINSTELLINGEN) en druk op de [EXECUTE]-toets (UITVOEREN).
Wanneer de kleurbalans is aangepast door de handmatige aanpassing van de kleurbalans (SIM46-21) volgens het verzoek van de gebruiker, en de kleurbalans is geregistreerd met SIM63-7 als het servicedoel, als de kleurbalans moet worden aangepast, selecteert u het [SER- VICE]-doel.
De aanpassing van de kopieerkleurbalans wordt automatisch uitgevoerd en drukt de controlepatchafbeelding van de kleurbalans af.
Als er strepen of onduidelijke afdrukken op het afgedrukte controlepatroon zijn, controleer dan de printengine op eventuele problemen.
- Druk op de [EXECUTE]-toets (UITVOEREN).
De printerkleurpatchafbeelding (aanpassingspatroon) wordt afgedrukt. (A4/11" x 8,5" of A3/11" x 17" papier wordt automatisch geselecteerd.) - Plaats het kleurpatchafbeelding (aanpassingspatroon) papier dat is afgedrukt in procedure 5) op de documenttafel.
Plaats de kleurpatchafbeelding (aanpassingspatroon) die is afgedrukt in procedure 2) op de documenttafel. Plaats de kleurpatchafbeelding zo dat de fijne lijnen zich aan de linkerkant bevinden. Plaats op dat moment 5 vellen wit papier op de afgedrukte kleurpatchafbeelding (aanpassingspatroon).
- Selecteer [FACTORY] (FABRIEKSINSTELLINGEN) en druk op de [EXECUTE]-toets (UITVOEREN).
Wanneer de kleurbalans is aangepast met de handmatige aanpassing van de kleurbalans (SIM67-25) volgens het verzoek van de gebruiker en de kleurbalans is geregistreerd als het servicedoel met SIM67- 27, als de kleurbalans op die kleurbalans wordt aangepast, selecteert u het [SERVICE]-doel.
De aanpassing van de printerkleurbalans (stap 1) wordt automatisch uitgevoerd en de controlepatchafbeelding van de kleurbalans wordt afgedrukt.
Als er strepen of onduidelijke afdrukken op het afgedrukte controlepatroon zijn, controleer dan de printengine op eventuele problemen.
- Het initiële instellingenmenu van de halftoonbeeldcorrectie wordt weergegeven. Druk op de [OK]-toets (OK).
De initiële instelling van de halftoonbeeldcorrectie wordt uitgevoerd. - Wacht tot de [EXECUTE]-toets (UITVOEREN) wordt weergegeven. Wanneer deze wordt weergegeven, drukt u erop.
De halftoonbeeldcorrectie wordt uitgevoerd. - Wanneer "COMPLETED THIS PROCEDURE" (DEZE PROCEDURE VOLTOOID) wordt weergegeven, is de aanpassingsbewerking voltooid.
Annuleer SIM46-74.
Het aanpassingsresultaat wordt pas geldig wanneer beide aanpassingen in de kopieermodus en in de printermodus zijn voltooid.
Als bijvoorbeeld de aanpassing van de kopieerkleurbalans (automatische aanpassing) wordt uitgevoerd en de simulatie wordt geannuleerd, is het aanpassingsresultaat ongeldig.
- Controleer de kopieerkleurbalans en -dichtheid. (Raadpleeg het item van de controle van de kopieerkleurbalans en -dichtheid.)
- Controleer de printerkleurbalans en -dichtheid. (Raadpleeg het item van de controle van de printerkleurbalans en -dichtheid.)
Als de kleurbalans of -dichtheid niet op het bevredigende niveau is, zelfs na de uitvoering van de automatische en handmatige aanpassingen, kan er een andere oorzaak zijn.
Los de oorzaak op, repareer of voer de nodige werkzaamheden uit en herhaal de aanpassing vanaf het begin.
Als de kleurbalans of -dichtheid niet is voldaan, past u de kopieer- en printerkleurbalans aan met SIM46-74.
- Aanpassing print-/scanbeeld buiten het midden, positie voorrand.
Voordat u deze aanpassing uitvoert, moet u de volgende items controleren.
* Er moet een lade met A4-papier (LT) zijn.- Ga naar de SIM50-10-modus.
- Selecteer een papiereninvoerlade 1.
- Plaats A4-papier (11 X 8,5) in de papiereninvoerlade 1.
- Controleer of de binnenmaat van het afgedrukte halftoonpatroon 240 1,2 mm is.
- Meet de grootte van het lege gebied van het aanpassingspatroon in de richting van het voor-/achterframe (hoeveelheid leeg gebied aan de F-kant) en die in de transportrichting (hoeveelheid leeg gebied aan de voorrand).
Controleer of aan alle volgende voorwaarden is voldaan.
Berekenings- en invoerprocedures van aanpassingswaarden
(Voorbeeld) Hoeveelheid leeg gebied aan de voorrand
- Meting door visuele inspectie.
→ Meetresultaat: 4,5 mm - Bereken de verschuivingshoeveelheid.
De doelwaarde is de specificatiewaarde (middenwaarde) van 3 mm.
* Voor de hoeveelheid leeg gebied aan de F-kant is het doel 2 mm.
→ [4 – 4,5 = -0,5 (mm)] - Bereken de aanpassingswaarde. Trek 5 af van de verschuivingshoeveelheid van -0,5 mm.
* Voor de verschuivingshoeveelheid van 0,1 mm wordt de aanpassingswaarde met 1 gevarieerd.
Wanneer de huidige waarde 50 is:
→ [50 – 5 = 45] - Voer de aanpassingswaarde voor SUB-CS1 in.
→ Voer de [45] in.
- Voer MAIN-CS1 (leeg gebied aan de F-kant) en SUB-CS1 (leeg gebied aan de voorrand) in en druk op de OK-knop.
Voer de berekende aanpassingswaarden in voor de verschuivingshoeveelheid naar MAIN-CS1/SUB-CS1 en druk op de OK-knop. (De cursor kan in plaats van de knop worden gebruikt.) - Nadat u de aanpassingswaarden hebt ingevoerd, drukt u opnieuw af en controleert u of de te vermijden hoeveelheden zijn aangepast aan het doelbereik.
BP-DE12/DE13/DE14 PAPIERLADE
(STAND/550/2x550/3x550 PAPIERLADE)
Uitpakken
Zorg ervoor dat u vóór de installatie zowel de bedienings- als de hoofdstroomschakelaar uitschakelt en de stekker uit het stopcontact haalt. Zorg er dubbel voor dat het gegevenslampje op het bedieningspaneel niet oplicht of knippert wanneer u de installatie uitvoert.

Controle van verpakte items
| Nr. | Naam | Aantal |
| 1 | Bureaueenheid | 1 |
| 2 | Bevestigingsschroeven (M4 x 8) | 4 |
| 3 | Rechterafsteller | 1 |
Installatie
Afstelling van de afstelpositie
- Bevestig de rechterafsteller (Verpakt item nr. 3)
![Sharp - BP-50C26 - BP-DE12/DE13/DE14 Afstelling van de afstelpositie BP-DE12/DE13/DE14 Afstelling van de afstelpositie]()
Opmerking
Als de volgende optie niet tegelijkertijd is geïnstalleerd, moet de afsteller worden geïnstalleerd.
- LADE MET GROTE CAPACITEIT
- FINISHER (1k)
- ZADELSTEEKFINISHER (1K)
- FINISHER (3K)
- ZADELSTEEKFINISHER (3K)
Om de veiligheid te waarborgen, steekt u de rechterafsteller in totdat deze is vergrendeld.
- Draai aan elke afsteller om de bureaueenheid vast te zetten.
Aansluiting hoofdeenheid en bureaueenheid
- Plaats de hoofdeenheid op de bureaueenheid.
Gebruik de mankracht van vier of meer personen om de hoofdeenheid op te tillen.

Plaats de hoofdeenheid langzaam op de bureaueenheid door de buitenlijnen passend te maken. Controleer of de positioneringspen aan de bovenkant van de bureaueenheid goed in de positioneringsgroef van de hoofdeenheid zit.
- Verwijder de lade 1 en de lade 2.
- Til de verbindingsplaten aan de rechter- en linkerzijde van de voorzijde van de bureaueenheid op en bevestig ze met de bevestigingsschroeven (Verpakt item nr. 2).
- Bevestig de lade 1 en de lade 2.
- Verwijder de afdekking van de achterkant van de hoofdeenheid. En bevestig ze met de bevestigingsschroeven (Verpakt item nr. 2). Plaats kleine afdekkingen terug.
Ontgrendel de vergrendeling
- Trek elke lade eruit. Draai en verwijder het bevestigingsmateriaal en verwijder het waarschuwingsblad.
Bevestig het verwijderde bevestigingsmateriaal op de positie die in de afbeelding wordt weergegeven voor opslag.
Sluit de cassette die is uitgetrokken.
![Sharp - BP-50C26 - De vergrendeling op BP-DE12/DE13/DE14 losmaken De vergrendeling op BP-DE12/DE13/DE14 losmaken]()
Controleer voordat u de stroom inschakelt of het bevestigingsmateriaal van de lade is losgekoppeld. Als de stroom wordt ingeschakeld zonder het bevestigingsmateriaal los te koppelen, kan dit een storing veroorzaken.
Aansluiting van de connector
- Verwijder de afdekking van de achterkant van de machine.
- Sluit de connector aan.
- Scheid de basis van de afdekking in een kniptang.
- Bevestig de afdekking.
Afstelling
Zorg ervoor dat u vóór de installatie zowel de bedienings- als de hoofdstroomschakelaar uitschakelt en de stekker uit het stopcontact haalt. Zorg er dubbel voor dat het gegevenslampje op het bedieningspaneel niet oplicht of knippert wanneer u de installatie uitvoert.
Schakel de stroom van de hoofdeenheid in
- Sluit de stekker van de machine aan op het stopcontact en zet de hoofdstroomschakelaar en de aan/uit-schakelaar van het bedieningspaneel AAN.
Opmerking
Raadpleeg "Ladeformaat instellen" voor het instellen van het ladeformaat.
Afstelling beeld uit het midden
Opmerking
De positie van de voorrand van het beeld en de waarde voor de afstelling uit het midden van de bureaueenheid zijn ingesteld op de gemiddelde waarde bij verzending vanuit de fabriek.
Daarom moet deze afstelling alleen worden uitgevoerd wanneer de beslissing wordt genomen om deze uit te voeren door het afgedrukte beeld te controleren.
* Er moet een lade met A4-papier (LT) in zitten.
- Ga naar de SIM50-10-modus.
- Selecteer een papiertoevoerbron "3" (CS2).
- Plaats A4-papier (11 x 8,5) in de CS2-papiertoevoerlade.
- Controleer of de binnenafmeting van het afgedrukte halftoonpatroon 240 1,2 mm is.
Als niet aan de bovenstaande voorwaarde is voldaan, volg en herhaal dan de procedures van ADJ4A (Servicemanual) totdat een bevredigend resultaat is verkregen. - Meet de afmeting van het lege gebied van het afstelpatroon in de richting van het voor-/achterframe (hoeveelheid lege ruimte aan de F-zijde) en die in de transportrichting (hoeveelheid lege ruimte aan de voorrand).
Controleer of aan alle volgende voorwaarden is voldaan.
![Sharp - BP-50C26 - BP-DE12/DE13/DE14 Afstelling beeld uit het midden BP-DE12/DE13/DE14 Afstelling beeld uit het midden]()
Berekenings- en invoerprocedures van afstelwaarden
(Voorbeeld) Hoeveelheid lege ruimte aan de voorrand
- Meet door visuele inspectie. Meetresultaat: 4,5 mm
- Bereken de verschuivingshoeveelheid.
De doelwaarde is de specificatiewaarde (middenwaarde) van 3 mm.
* Voor de hoeveelheid lege ruimte aan de F-zijde is het doel 2 mm.
→ [4 – 4,5 = -0,5 (mm)] - Bereken de afstelwaarde. Trek 5 af van de verschuivingshoeveelheid van -0,5 mm.
* Voor de verschuivingshoeveelheid van 0,1 mm wordt de afstelwaarde met 1 gevarieerd.
→ Wanneer de huidige waarde 50 is: [50 – 5 = 45] - Voer de afstelwaarde in voor SUB-CS2/CS3/CS4. Voer de [45] in.
- Voer MAIN-CS2 (lege ruimte aan de F-zijde) en SUB-CS2 (lege ruimte aan de voorrand) in en druk op de knop OK. Voer de berekende afstelwaarden in voor de verschuivingshoeveelheid naar MAIN-CS2/SUB-CS2 en druk op de knop OK. (De cursor kan in plaats van de knop worden gebruikt.)
- Nadat u de afstelwaarden hebt ingevoerd, drukt u opnieuw af en controleert u of de hoeveelheden vermijding zijn aangepast aan het doelbereik.
Voer de procedures 4) tot 7) uit voor elke papiertoevoerlade.
BP-DE15 PAPIERLADE
(STANDAARD/550&2100 PAPIERLADE)
Uitpakken
Als de connector eerst wordt verwijderd, kan deze beschadigd raken tijdens de installatieprocedures. Houd deze daarom ingepakt tijdens het uitpakken. En pak het pas uit wanneer u de connector op de machine aansluit.

Controle van verpakte artikelen
| Nr. | Naam | Hoeveelheid |
| 1 | Bureau-unit | 1 |
| 2 | Bevestigingsschroeven (M4 x 8) | 4 |
| 3 | Rechterstelvoet | 1 |
Installatie
Zorg ervoor dat u vóór de installatie zowel de bedienings- als de hoofdstroomschakelaar uitschakelt en de stekker uit het stopcontact haalt. Zorg er dubbel voor dat het gegevenslampje op het bedieningspaneel niet oplicht of knippert tijdens de installatie.
Aanpassing van de stelvoetpositie
- Bevestig de rechterstelvoet (verpakt artikel nr. 3)
![Sharp - BP-50C26 - BP-DE15 Aanpassing van de stelvoetpositie BP-DE15 Aanpassing van de stelvoetpositie]()
Opmerking
Als de volgende optie niet tegelijkertijd is geïnstalleerd, moet de stelvoet worden geïnstalleerd.
- LADE MET GROTE CAPACITEIT
- AFWERKEENHEID (1k)
- ZADELSTEKENAFWERKEENHEID (1K)
- AFWERKEENHEID (3K)
- ZADELSTEKENAFWERKEENHEID (3K)
Plaats de rechterstelvoet tot hij vastklikt om de veiligheid te garanderen.
- Draai aan elke stelvoet om de bureau-unit vast te zetten.
Aansluiting van de hoofdeenheid en de bureau-unit
- Plaats de hoofdeenheid op de bureau-unit.
Gebruik de mankracht van vier personen of meer om de hoofdeenheid op te tillen.

Plaats de hoofdeenheid langzaam op de bureau-unit door de buitenlijnen aan te passen. Controleer of de positioneringspen aan de bovenkant van de bureau-unit stevig is aangebracht in de positioneringsgroef van de hoofdeenheid.

- Verwijder lade 1 en lade 2.
- Til de koppelplaten aan de rechter- en linkerzijde van de voorkant van de bureau-unit op en bevestig ze met de bevestigingsschroeven (verpakt artikel nr. 2).
- Bevestig lade 1 en lade 2.
- Verwijder de kleine afdekking aan de rechter- en linkerzijde van de achterkant van de hoofdeenheid. En bevestig ze met de bevestigingsschroeven (verpakt artikel nr. 2). Plaats de kleine afdekkingen terug.
De vergrendeling ontgrendelen
- Trek de lade eruit. Draai en verwijder het bevestigingsmateriaal en verwijder het waarschuwingsblad.
Bevestig het verwijderde bevestigingsmateriaal ter opslag op de positie die in de afbeelding wordt weergegeven.
- Trek elke tandemlade eruit. Draai en verwijder het bevestigingsmateriaal en verwijder het waarschuwingsblad.
Bevestig het verwijderde bevestigingsmateriaal ter opslag op de positie die in de afbeelding wordt weergegeven.
Sluit de lade die was uitgetrokken.
Controleer voordat u de stroom inschakelt of het bevestigingsmateriaal van de lade is losgekoppeld. Als de stroom wordt ingeschakeld zonder het bevestigingsmateriaal los te koppelen, kan dit tot problemen leiden.
Aansluiting van de connector
- Verwijder de afdekking van de achterkant van de machine.
- Sluit de connector aan.
- Scheid de basis van de afdekking in een kniptang.
- Bevestig de afdekking.
Schakel de stroom van de hoofdeenheid in
- Sluit de stekker van de machine aan op het stopcontact en schakel de hoofdstroomschakelaar en de stroomschakelaar van het bedieningspaneel in.
Lade-instelling
- Systeeminstellingen
- Tik op de toets [Initial Installation Settings] (Eerste installatie-instellingen) op het aanraakscherm.
- Tik op [Tray Settings] (Lade-instellingen) voor de respectieve instellingen. Stel het papiertype, het papierformaat en Feeding Approved Job in voor elke lade. Raak de toets [Tray Settings] (Lade-instellingen) aan om de lijst met lades en de huidige instellingen weer te geven.
- Tik op de respectieve ladetoets om het instellingenscherm weer te geven. De instellingselementen worden hieronder weergegeven:
| Instellingselementen | Beschrijving |
| Type | Selecteer het te gebruiken papiertype. Het type selecteerbaar papiertype varieert afhankelijk van de lade. |
| Formaat | Selecteer het te gebruiken papierformaat. Het selecteerbare formaat varieert afhankelijk van de lade. Het selecteerbare formaat kan beperkt zijn, afhankelijk van de lade die hierboven is geselecteerd in het Type. Als de juiste lade niet wordt vermeld, selecteert u [Size Input] (Formaat invoeren) en geeft u het formaat direct op. (Dit is alleen toegestaan voor de bypasslade.) |
| Feeding Approved Job | Selecteer de goedgekeurde taakmodus. Schakel de functie uit die u niet wilt uitvoeren met behulp van de geselecteerde lade. [Fax] en [Internet Fax] kunnen niet worden geselecteerd als [Type] (Type) is ingesteld op iets anders dan Normaal papier, Gerecycled papier, Kleurenpapier of Gebruikerstype. |
- Lade-formaat instellen
- Lade 2
- Trek de papierlade eruit.
Trek de lade voorzichtig uit totdat deze stopt.
Verwijder het papier dat in de lade is geladen. - Pas de geleideplaten A en B aan door hun vergrendelingshendels in te knijpen en ze te verschuiven zodat ze overeenkomen met de lengte- en dwarsafmetingen van het te laden papier.
De geleideplaten A en B zijn verschuifbaar. Schuif elke geleideplaat terwijl u de vergrendelingshendel ervan indrukt om aan te passen aan het papierformaat.
- Trek de papierlade eruit.
- Lade 3 (A4/LT)
- Trek de tandem-papierinvoerlade eruit.
- Verwijder de tandem-ladereguleringsplaat terwijl u op een haak drukt.
![Sharp - BP-50C26 - Lade 3-formaat instellen - Stap 1 Lade 3-formaat instellen - Stap 1]()
- Plaats de stelplaathoes op de gaten op de tandem-ladereguleringsplaat voor het juiste formaat.
![Sharp - BP-50C26 - Lade 3-formaat instellen - Stap 2 Lade 3-formaat instellen - Stap 2]()
- Duw de tandem-papierinvoerlade erin.
- Lade 4 (A4/LT/B5)
- Trek de tandem-papierinvoerlade eruit.
- Verwijder de tandem-ladereguleringsplaat terwijl u op een haak drukt.
- Plaats de stelplaathoes op de gaten op de tandem-ladereguleringsplaat voor het juiste formaat.
![Sharp - BP-50C26 - Lade 4-formaat instellen - Stap 2 Lade 4-formaat instellen - Stap 2]()
- Leg de B5-reguleringsplaat van de achterrand om in te stellen voor het A4/LT-formaat. Zet de reguleringsplaat rechtop om in te stellen voor het B5-formaat.
![Sharp - BP-50C26 - Lade 4-formaat instellen - Stap 3 Lade 4-formaat instellen - Stap 3]()
- Duw de tandem-papierinvoerlade erin.
- Lade 2
- Formaat instellen
Voer SIM26-2 "Size setting" (Formaat instellen) uit met de toetsbedieningen van de hoofdeenheid.- Het formaatselectiemenu van het bureau met grote capaciteit wordt weergegeven op het bedieningsberichtenscherm.
- Selecteer een formaatknop die moet worden ingesteld op het berichtenscherm.
Afwijkende beeldaanpassing
Opmerking
De positie van de voorlooprand van het beeld en de afwijkende aanpassingswaarde van de bureau-unit zijn ingesteld op de gemiddelde waarde bij verzending vanuit de fabriek.
Daarom moet deze aanpassing alleen worden uitgevoerd wanneer de beslissing wordt genomen om deze uit te voeren door het afgedrukte beeld te controleren.
* Er moet een lade met A4-papier (LT) in zitten.
- Voer SIM50-10 uit.
- Selecteer een papierinvoerbron "3" (CS2).
- Plaats A4-papier (11 X 8,5) op de CS2-papierinvoerlade.
- Controleer of de binnenafmeting van het afgedrukte halftoonpatroon 240 1,2 mm is.
Als niet aan de bovenstaande voorwaarde is voldaan, volgt u de procedures van ADJ4A (Servicehandleiding) en herhaalt u deze totdat een bevredigend resultaat is verkregen. - Meet de afmeting van het lege gebied van het aanpassingspatroon in de richting van het voorste/achterste frame (hoeveelheid loze ruimte aan de F-zijde) en in de transportrichting (hoeveelheid loze ruimte aan de voorlooprand).
Controleer of aan alle volgende voorwaarden is voldaan.
![Sharp - BP-50C26 - BP-DE15 Afwijkende beeldaanpassing BP-DE15 Afwijkende beeldaanpassing]()
Berekening en invoerprocedures van aanpassingswaarden
(Voorbeeld) Hoeveelheid loze ruimte aan de voorlooprand
- Meten door visuele inspectie. Meetresultaat: 4,5 mm
- Bereken de verschuivingshoeveelheid.
De doelwaarde is de specificatiewaarde (middenwaarde) van 3 mm.
* Voor de hoeveelheid loze ruimte aan de F-zijde is het doel 2 mm.
→ [4 – 4,5 = -0,5 (mm)] - Bereken de aanpassingswaarde. Trek 5 af van de verschuivingshoeveelheid van -0,5 mm.
* Voor de verschuivingshoeveelheid van 0,1 mm wordt de aanpassingswaarde met 1 gevarieerd.
→ Wanneer de huidige waarde 50 is:
[50 – 5 = 45] - Voer de aanpassingswaarde voor SUB-CS2 in.
→ Voer de [45] in.
- Voer MAIN-CS2 (loze ruimte aan de F-zijde) en SUB-CS2 (loze ruimte aan de voorlooprand) in en tik op de knop OK.
Voer de berekende aanpassingswaarden voor de verschuivingshoeveelheid in MAIN-CS2/SUB-CS2 in en tik op de knop OK. (De cursor kan in plaats van de knop worden gebruikt.) - Na het invoeren van de aanpassingswaarden print u opnieuw en controleert u of de vermijdingshoeveelheden zijn aangepast aan het doelbereik.
Voer procedures 4) tot en met 7) uit voor elke papierinvoerlade.
BP-LC10 GROTE CAPACITEITS LADE
Uitpakken
Als de connector eerst wordt verwijderd, kan deze beschadigd raken tijdens de installatieprocedure. Houd deze daarom ingepakt tijdens het uitpakken en pak deze pas uit wanneer u de connector op de machine aansluit.

Controle van de ingepakte items
| Nr. | Naam | Hoeveelheid |
| 1 | Grote capaciteitslade | 1 |
| 2 | Bovenste montageplaat | 2 |
| 3 | Verbindingseenheid | 1 |
| 4 | Bevestigingsschroef A (Hex-ring S-tight M4x18) | 4 |
| 5 | Bevestigingsschroef B (Hex-ring S-tight M4x12) | 2 |
| 6 | Bevestigingsschroef C (M4x8 cup) | 1 |
| 7 | LCC-geleidingsvel | 1 |
Installatie
Zorg er vóór de installatie voor dat zowel de bedienings- als de hoofdschakelaar zijn uitgeschakeld en dat de stekker uit het stopcontact is gehaald. Zorg er dubbel voor dat het gegevenslampje op het bedieningspaneel niet oplicht of knippert tijdens de installatie.
Ontgrendel de vergrendeling
- Verwijder de bevestigingsschroef van het papierinvoermeubel.
![Sharp - BP-50C26 - BP-LC10 GROTE CAPACITEITS LADE - De vergrendeling losmaken BP-LC10 GROTE CAPACITEITS LADE - De vergrendeling losmaken]()
OPMERKING: Controleer voordat u de stroom inschakelt of de bevestigingsschroef van de lade is verwijderd. Als de stroom wordt ingeschakeld zonder de bevestigingsschroef te verwijderen, kan dit tot problemen leiden.
Aansluiting van de hoofdeenheid en de grote capaciteitslade
- Bevestig de bovenste montageplaat (verpakte item nr. 2) aan de rechterkant van de hoofdeenheid met de bevestigingsschroef A (verpakte item nr. 4). Plaats bij de installatie het rubberen gedeelte (
) van de bovenste montageplaat aan de onderkant.
Opmerking
Verwijder de rechterafsteller als deze is geïnstalleerd.
- Verwijder de rechterdeurafdekking van de machine.
- Bevestig het LCC-geleidingsvel (verpakte item nr. 7) op de papierinvoergids.
Maak het oppervlak van het LCC-geleidingsvel schoon met alcohol.
![Sharp - BP-50C26 - Hoofdeenheid grote ladeaansluiting - Stap 1 Hoofdeenheid grote ladeaansluiting - Stap 1]()
- Verwijder de bevestigingsschroeven (1 st.) van de machine en verwijder de schroefdop. En verwijder de rechter onderafdekking.
![Sharp - BP-50C26 - Hoofdeenheid grote ladeaansluiting - Stap 3 Hoofdeenheid grote ladeaansluiting - Stap 3]()
- Zet de bevestigingsschroef B (verpakte item nr. 5) tijdelijk halverwege vast.
- Steek de tijdelijk bevestigde schroef B in het sleutelgat in de verbindingseenheid en zet de verbindingseenheid tijdelijk vast.
- Bevestig de andere bevestigingsschroef B en draai de tijdelijk bevestigde schroef B stevig vast.
- Bevestig de rechter onderafdekking terug aan de hoofdeenheid.
- Bevestig de bevestigingsschroef en bevestig de schroefdop terug aan de hoofdeenheid.
- Til het gedeelte gemarkeerd met
op, steek de verbindingseenheid in de grote capaciteitslade en bevestig de bevestigingsschroef C (verpakte item nr. 6) bij de markering A op de verbindingseenheid.
![Sharp - BP-50C26 - Hoofdeenheid grote ladeaansluiting - Stap 9 Hoofdeenheid grote ladeaansluiting - Stap 9]()
Hoogteaanpassing
- Plaats de grote capaciteitslade dichter bij de hoofdeenheid.
![]()
- Controleer of de hoogteaanpassingsrib van de grote capaciteitslade en de aslijn van de bovenste montageplaat die op de hoofdeenheid is gemonteerd zich in dezelfde lijn bevinden.
- Als de hoogte niet hoeft te worden aangepast, steekt u de grote capaciteitslade verder in.
Als de hoogte wel moet worden aangepast, voert u de aanpassingsprocedure uit vanaf 4).
- Draai de stelschroef aan de F-zijde los.
OPMERKING: Gebruik de stelschroef aan de voorkant voor de aanpassing. Raak de schroef aan de achterkant niet aan.
OPMERKING: Als de schroef wordt losgedraaid of verwijderd tijdens onderhoud, moet u na voltooiing van het onderhoud een C-hoogteaanpassing uitvoeren.
![]()
- In het geval van een verschuiving naar rechts, drukt u op het bovenste gedeelte aan de voorkant en past u de hoogteaanpassingsrib zo aan dat deze zich in dezelfde lijn bevindt als de aslijn van de bovenste montageplaat. Steek de grote capaciteitslade in de hoofdeenheid.
- In het geval van een verschuiving naar links, tilt u het raster op zodat de hoogteaanpassingsrib zich in dezelfde lijn bevindt als de aslijn van de bovenste montageplaat en steekt u de grote capaciteitslade in.
- Draai de losgemaakte schroef vast.
Aansluiting van de connector
- Verwijder de connectordeksel.
Gebruik de verwijderde connectordeksel niet.
![]()
- Sluit de connector aan.
Als de verwarmingsset niet is geïnstalleerd, hoeft u de verwarmingsconnector niet op de connector aan te sluiten.
Papierformaatschakelaar
- Verwijder de achterklep.
- Verwijder de bevestigingsschroef (4 stuks blauwe schroef) aan de boven- en onderkant van zijplaat F en zijplaat R.
- Steek de onderkant in volgens de gegraveerde markering aan de onderkant van zijplaat F en zijplaat R. Draai de boven- en onderkant vast met behulp van de verwijderde bevestigingsschroeven.
![Sharp - BP-50C26 - Papierformaat omschakelen - Stap 1 Papierformaat omschakelen - Stap 1]()
- Achterrandplaat omschakelen
Verwijder de blauwe schroeven waarmee respectievelijk de bovenste en onderste achterrandplaat zijn bevestigd.
![Sharp - BP-50C26 - Papierformaat omschakelen - Stap 2 Papierformaat omschakelen - Stap 2]()
- Steek de formaatgeleider in volgens de gegraveerde markering. Draai de boven- en onderkant vast met behulp van de verwijderde bevestigingsschroeven (A4).
- Bevestig de achterklep.
![]()
Schakel de stroom van de hoofdeenheid in
- Sluit de stekker van de machine aan op het stopcontact en schakel de hoofdschakelaar en de aan/uit-schakelaar van het bedieningspaneel in.
Formaatinstelling
Voer SIM26-2 "Formaatinstelling" uit met de toetsbedieningen van de hoofdeenheid.
- Het formaatselectiemenu van de grote capaciteitslade wordt weergegeven op de bedieningsberichtendisplay.
- Selecteer een formaatknop die moet worden ingesteld op het berichtenscherm.
Aanpassing van het uit het midden staande beeld
- Aanpassing met de simulatie
Opmerking
De beeldvoorrandpositie en de aanpassingswaarde van het uit het midden staande beeld van de grote capaciteitslade zijn ingesteld op de gemiddelde waarde bij verzending vanuit de fabriek.
Daarom moet deze aanpassing alleen worden uitgevoerd wanneer het oordeel wordt gegeven om deze uit te voeren door het afgedrukte beeld te controleren.
* Er moet een lade met A4-papier (LT) in zitten.- Voer SIM50-10 uit.
- Selecteer een papierinvoerbron "6" (LCC).
- Plaats A4-papier (11 x 8,5) op de LCC-papierinvoerlade.
- Controleer of de binnenafmeting van het afgedrukte halftoonpatroon 240 1,2 mm is.
Als aan de bovenstaande voorwaarde niet wordt voldaan, volg dan de procedures van ADJ4A (Servicehandleiding) en herhaal deze totdat een bevredigend resultaat is verkregen. - Meet de lege ruimte van het aanpassingspatroon in de richting van het voorste/achterste frame (F-zijde lege hoeveelheid) en die in de transportrichting (voorrand lege hoeveelheid).
Controleer of aan alle volgende voorwaarden is voldaan.
Berekenings- en invoerprocedures van aanpassingswaarden
(Voorbeeld) Voorrand lege hoeveelheid
- Meten door visuele inspectie.
→ Meetresultaat: 4,5 mm - Bereken de verschuivingshoeveelheid. De doelwaarde is de specificatiewaarde (middenwaarde) van 3 mm.
* Voor de F-zijde lege hoeveelheid is het doel 2 mm.
→ [4 – 4,5 = -0,5 (mm)] - Bereken de aanpassingswaarde. Trek 5 af van de verschuivingshoeveelheid van -0,5 mm.
* Voor de verschuivingshoeveelheid van 0,1 mm wordt de aanpassingswaarde met 1 gevarieerd.
→ Wanneer de huidige waarde 50 is:
[50 – 5 = 45] - Voer de aanpassingswaarde in voor SUB-LC.
→ Voer de [45] in.
- Voer MAIN-LC (F-zijde leeg) en SUB-LC (voorrand leeg) in en tik op de OK (OK)-knop.
Voer de berekende aanpassingswaarden in voor de verschuivingshoeveelheid naar MAIN-LC/SUB-LC en tik op de OK (OK)-knop. (De cursor kan in plaats van de knop worden gebruikt.) - Na het invoeren van de aanpassingswaarden, drukt u opnieuw af en controleert u of de vermijdingshoeveelheden zijn aangepast aan het doelbereik.
Voer de procedures 4) tot en met 7) uit voor elke papierinvoerlade.
- Mechanische aanpassing
Aangezien de aanpassing van het uit het midden staande beeld wordt uitgevoerd bij verzending, is het in principe niet nodig om deze aanpassing uit te voeren. Als het midden echter is verschoven, wordt de simulatie normaal gesproken gebruikt. Als de verschuiving niet wordt verwijderd, voert u de volgende aanpassingsprocedures uit.- Wanneer de verschuiving zich aan de voorkant bevindt
Om de afdruklijn in de richting A vanaf het papiercentrum aan te passen, zoals weergegeven in de afbeelding:- Draai twee bevestigingsschroeven (rode schroeven) van de aanpassingsplaat van de formaatgeleider aan de voor- en achterkant los en verplaats de aanpassingsplaat van de formaatgeleider in de richting A (R-zijde) met de verschuivingshoeveelheid en draai de rode bevestigingsschroeven vast (2 voor elk).
Maak vervolgens een kopie om te controleren of er geen verschuiving meer is. Herhaal de procedures totdat er geen verschuiving meer is.
- Draai twee bevestigingsschroeven (rode schroeven) van de aanpassingsplaat van de formaatgeleider aan de voor- en achterkant los en verplaats de aanpassingsplaat van de formaatgeleider in de richting A (R-zijde) met de verschuivingshoeveelheid en draai de rode bevestigingsschroeven vast (2 voor elk).
- Wanneer de verschuiving zich aan de achterkant bevindt
Om de afdruklijn in de richting B vanaf het papiercentrum aan te passen, zoals weergegeven in de afbeelding:- Draai twee bevestigingsschroeven (rode schroeven) van de aanpassingsplaat van de formaatgeleider aan de voor- en achterkant los en verplaats de aanpassingsplaat van de formaatgeleider in de richting B (F-zijde) met de verschuivingshoeveelheid en draai de rode bevestigingsschroeven vast (2 voor elk).
Maak vervolgens een kopie om te controleren of er geen verschuiving meer is. Herhaal de procedures totdat er geen verschuiving meer is.
![Sharp - BP-50C26 - BP-LC10 Aanpassing van het uit het midden staande beeld - Achterwaartse verschuiving BP-LC10 Aanpassing van het uit het midden staande beeld - Achterwaartse verschuiving]()
- Draai twee bevestigingsschroeven (rode schroeven) van de aanpassingsplaat van de formaatgeleider aan de voor- en achterkant los en verplaats de aanpassingsplaat van de formaatgeleider in de richting B (F-zijde) met de verschuivingshoeveelheid en draai de rode bevestigingsschroeven vast (2 voor elk).
- Wanneer de verschuiving zich aan de voorkant bevindt
MX-LT10 LANGE PAPIERINVOERTRAY
Uitpakken

Verpakte items controleren
| Nr. | Naam | Hoeveelheid |
| 1 | Lange papierinvoertray | 1 |
Installatie
Steek uw vinger niet in het haakgedeelte van de tray.
Bevestiging van de lange papierinvoertray
- Open de geleider van de lange papierinvoertray en haak deze vast aan het slot van de lange papierinvoertray.
- Trek de geleider van de machine uit.
- Haak de lange papierinvoertray aan de geleider van de machine.
- Plaats de geleider van de machine.
Deze tray kan alleen worden gebruikt voor het invoeren van lang papier.
Laat lang papier niet langere tijd liggen.
U kunt lang papier met deze tray gebruiken.
Schakel de stroom van de hoofdeenheid in
- Sluit de stekker van de machine aan op het stopcontact en schakel de hoofdstroomschakelaar en de stroomschakelaar van het bedieningspaneel in.
Tray-instelling
Gebruik SIM26-50 om "Banner size print" in te stellen op 1.
Download handleiding
Hier kunt u de volledige pdf-versie van de handleiding downloaden. Deze kan aanvullende veiligheidsinstructies, garantie-informatie, FCC-regels, enz. bevatten.
Download Sharp BP-50C26, BP-50C31, BP-50C36, BP-50C45 Handleiding





















) van de bovenste montageplaat aan de onderkant.


op, steek de verbindingseenheid in de grote capaciteitslade en bevestig de bevestigingsschroef C (verpakte item nr. 6) bij de markering A op de verbindingseenheid.






