Download Inhoudsopgave Inhoud Print deze pagina

Montage; Plaatsing; Nivellering - Aeg Rts8142Xaw Gebruiksaanwijzing

Verberg thumbnails Zie ook voor RTS8142XAW:
Inhoudsopgave
Beschikbare talen

Beschikbare talen

14
www.aeg.com

8. MONTAGE

WAARSCHUWING!
Raadpleeg de hoofdstukken
Veiligheid.

8.1 Plaatsing

Installeer het apparaat op een droge,
goed geventileerde plaats binnen waar
de omgevingstemperatuur overeenkomt
met de klimaatklasse die vermeld is op
het typeplaatje van het apparaat.
Klimaat-
klasse
SN
N
ST
T
Bij bepaalde modeltypes
kunnen er functionele
problemen ontstaan als deze
temperaturen niet worden
gerespecteerd. De juiste
werking van het apparaat
kan enkel gegarandeerd
worden als het opgegeven
temperatuurbereik wordt
gerespecteerd. Als u twijfels
hebt over waar het apparaat
te installeren, raadpleeg dan
de verkoper, de
klantenservice of de
dichstsbijzijnde erkende
servicedienst.

8.2 Nivellering

Zorg ervoor dat het apparaat waterpas
staat wanneer u het plaatst. Deze stand
kan bereikt worden met de twee
afstelbare voetjes die aan de voorkant en
onderkant van het apparaat bevestigd
zijn.
Omgevingstemperatuur
+10°C tot + 32°C
+16°C tot + 32°C
+16°C tot + 38°C
+16°C tot + 43°C
8.3 Locatie
De stroomtoevoer aan het
apparaat moet verbroken
kunnen worden; de stekker
moet daarom na de
installatie gemakkelijk
toegankelijk zijn.
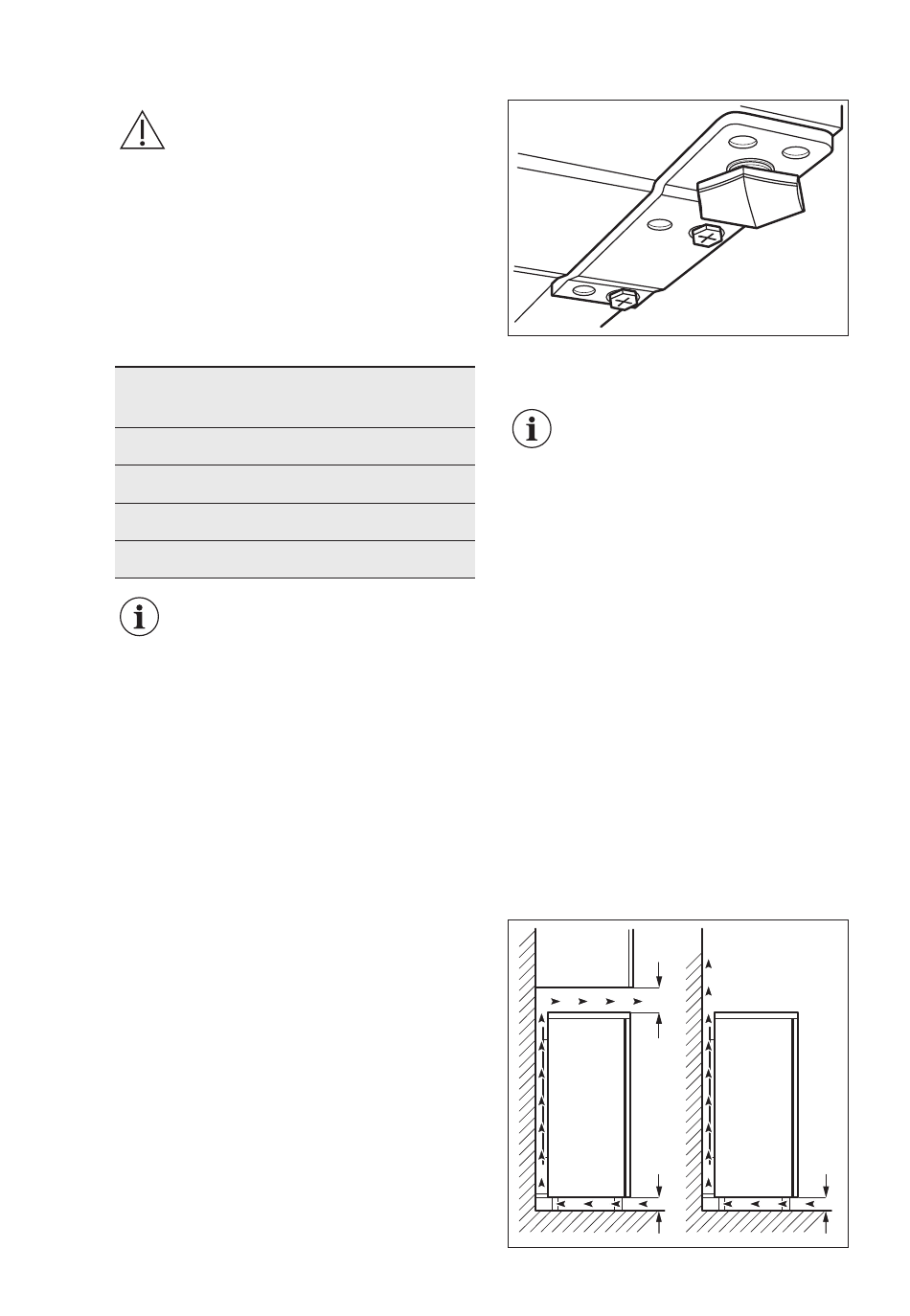
Het apparaat moet ver van hittebronnen,
zoals radiatoren, boilers, direct zonlicht
enz., vandaan worden geïnstalleerd. Zorg
er voor dat lucht vrij kan circuleren aan
de achterkant van het keukenkastje. Als
het apparaat onder een wandkast wordt
geplaatst, moet de minimale afstand
tussen de bovenkant van de kast en de
wandkast ten minste 100 mm bedragen
om optimale prestaties te garanderen.
Voor de beste prestatie kunt u het
apparaat echter beter niet onder een
wandkast zetten. De afstelbare voetjes
aan de onderkant van het apparaat
garanderen een nauwkeurig horizontale
uitlijning.
100 mm
15 mm
15 mm

Hoofdstukken

Inhoudsopgave
loading

Inhoudsopgave