Download Inhoudsopgave Inhoud Print deze pagina

Kaukosäätimen Lähetin Ohjaustoiminnot Paristojen Asentaminen (Paristoja Ei Ole Mukana) - Denver Mrd-165 Gebruikershandleiding

Verberg thumbnails Zie ook voor MRD-165:
Inhoudsopgave
Beschikbare talen
  • NL

Beschikbare talen

  • DUTCH, pagina 23
Huomautus
Jos musiikkilähdettä ei tunnisteta (kuten USB/CD), kun esiasetettu herätysaika saavutetaan, järjestelmä siirtyy
automaattisesti FM-tilaan.
FM- tai DAB-radioherätyksessä järjestelmä palaa viimeksi ennen poiskytkemistä kuunneltuun radiotaajuuteen.
Kytke järjestelmä manuaalisesti pois päältä herätystilassa, koska järjestelmä ei kytkeydy automaattisesti pois herätyksen
jälkeen.
 Aktivoi/deaktivoi ajastintoiminto
1.
Voit aktivoida ajastimen painamalla kerran "Ajastin"-painiketta kaukosäätimestä, jolloin ajastimen ilmaisin "
LCD-näytössä (2).
2.
Voit peruuttaa ajastintoiminnon painamalla uudelleen "Ajastin"-painiketta, jolloin ajastimen ilmaisin "
C. Esiasetettu EQ-toiminto
Laitteessa on 4 erilaista äänitilaa, joilla voi parantaa kuuntelukokemusta. Voit valita halutun efektin painamalla "preset
EQ"-painiketta (22) toistuvasti seuraavissa jaksoissa:
NORMAALI
KLASSINEN
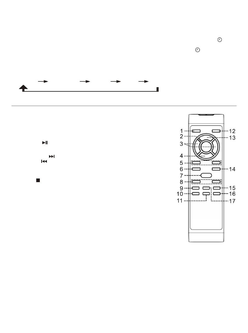
Kaukosäätimen lähetin
Ohjaustoiminnot
Paristojen asentaminen (paristoja ei ole mukana)
Infrapunalähetin tarvitsee 2 kpl "AAA" -kokoisia paristoja toimiakseen
Painikkeiden kuvaus
1) Päälle/valmiustila
2) Toisto/tauko
/taajuus
3) Ohita eteenpäin
/taaksepäin
/Viritä +/-
4) Pysäytys-
/Enter-painike
5) Kansio/Esiasetettu
eteenpäin-taaksepäin
6) Toisto-tila
7) Avaa/sulje
8) Äänenvoimakkuus -/+
9) Lepo/ajastin
10) Del/info
11) Tallennus
12) Toiminto
ROCK
Paina kääntääksesi järjestelmän päälle/valmiustilaan
CD-/USB-tilassa: painamalla aloitat toiston/siirryt
taukotilaan
DAB-tilassa, painamalla t valitset DAB/FM
Painamalla valitset edellisiä/seuraavia kappaleita
CD-/USB-tilassa
Painamalla siirryt radiotaajuudessa
eteenpäin/taaksepäin viritystilassa
CD-/USB-tilassa: painamalla pysäytät toiston
Viritintilassa: valitset stereo-/monotilan
Viritin-tilassa: painamalla valitset esiasetetun
muistipaikan eteenpäin-taaksepäin
USB-tilassa: painamalla valitset kansion
eteenpäin/taaksepäin
CD-tilassa: painamalla aktivoit satunnaisen
toiminnon/toistotoiminnon
Paina avataksesi/sulkeaksesi CD-luukun
Paina säätääksesi äänenvoimakkuuden tasoa ylös/alas
Virta päällä: painamalla aktivoit lepotoiminnon
Valmiustilassa: painamalla ja pitämällä pääset ajastimen
asetustilaan ja painamalla kerran aktivoit/deaktivoit
ajastintoiminnon
USB-tilassa: painamalla poista tiedoston
USB-/SD-muistista
MP3-toistotilassa: painamalla aktivoit ID3-toiminnon
DAB-/FM-tilassa: painamalla näet lähetystiedot
Painamalla aktivoit koodauksen/MP3-tiedoston
kopiointitoiminnon
Painamalla valitset toiminnon
Finnish - 9
POP
JAZZ
" näkyy
" häviää.
Inhoudsopgave
loading

Inhoudsopgave