Download Inhoudsopgave Inhoud Print deze pagina

Symbolen Op Het Scherm - Beko B3Wt5841Ws Gebruikershandleiding

Inhoudsopgave

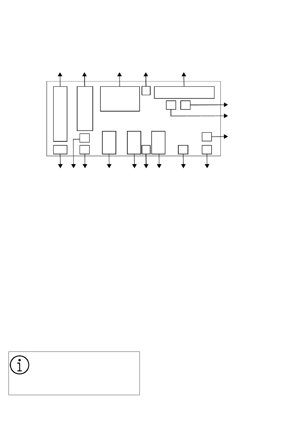
6.2 Symbolen op het scherm

1
17
1 Temperatuurindicator
3 Tijdsduur informatie
5 Indicator programmaverloop
7 Kleding toevoegen indicator
9 Afstandsbediening indicator
11 Hulpfunctieknop indicatoren 3
13 Hulpfunctieknop indicatoren 2
15 Indicator voor niet centrifugeren
17 Indicator voor koud water
De afbeeldingen die gebruikt worden
voor de omschrijving van de machi-
ne in dit gedeelte zijn schematisch
en komen mogelijk niet overeen met
de kenmerken van uw machine.
2
3
16
15
14
4
5
13
12
11
10
2 Centrifugeersnelheid indicator
4 Symbool 'deurvergrendeling ingescha-
keld'
6 Indicator geen water
8 Bluetooth-verbinding indicator
10 Indicator 'uitgestelde start ingescha-
keld'
12 Symbool 'kinderslot ingeschakeld'
14 Hulpfunctieknop indicatoren 1
16 Spoelstop indicator
NL / 22
6
7
8
9
Inhoudsopgave
loading

Inhoudsopgave