Download Inhoudsopgave Inhoud Print deze pagina

Atag KU8574K2C Gebruiksaanwijzing pagina 29

Wijnklimaatkast
Verberg thumbnails Zie ook voor KU8574K2C:
Inhoudsopgave
Temperatuurinstelling
De standaard fabrieksinstelling voor elk van de twee zones is 12°C. Deze temperatuur kan direct
worden gewijzigd.
De temperatuur van elke zone kan worden ingesteld tussen: 5°C en 20°C.
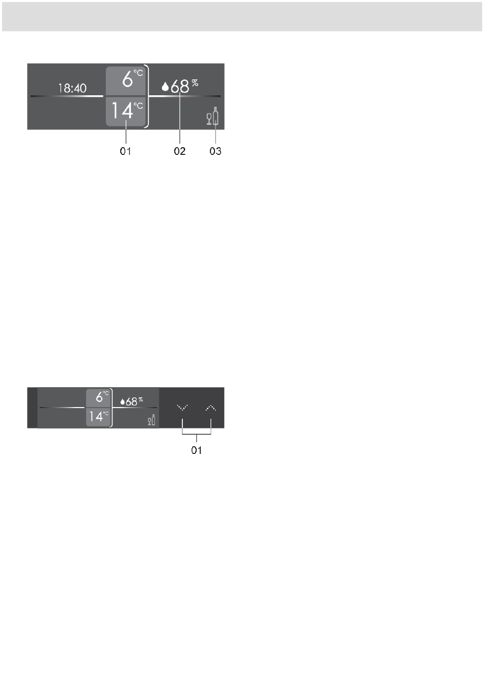
Scherm temperatuurgids
De wijnklimaatkast biedt een temperatuurgids voor het serveren en conserveren van wijnen. Bij elk
scherm hoort een beetje informatie.
Afhankelijk van de selectie worden
verschillende delen van het scherm in
themakleuren gemarkeerd.
01
Temperatuurwaarde van elke zone:
De bovenste waarde is voor zone A,
de onderste waarde voor zone B.
02
Huidige gemiddelde luchtvochtigheid:
Druk op de bevestigingstoets om het
luchtvochtigheidspercentage in elke
zone weer te geven.
03
Temperatuurgids:
Druk op de bevestigingstoets om het
scherm van de temperatuurgids te
openen.
Na het selecteren van zone A of zone B, kunt
u de referentietemperatuur wijzigen door op
de 'Omhoog/Omlaag'-toets (01) te drukken.
Met elke druk op de knop verandert de
referentietemperatuur met 1°C omhoog of
omlaag.
Zodra de hoogste referentietemperatuur is
bereikt, is de pijltoets omhoog inactief en wordt
de volgende druk op de toets genegeerd.
De omgekeerde reactie treedt op wanneer de
laagste referentietemperatuur wordt bereikt.
Bediening
29
Inhoudsopgave
loading

Inhoudsopgave