Download Inhoudsopgave Inhoud Print deze pagina

Flexibele Inductiekookzone; Flexibridge-Functie; Flexibridge Standaardmodus - Aeg Ike95474Fb Gebruiksaanwijzing

Inhoudsopgave
14
www.aeg.com

5. FLEXIBELE INDUCTIEKOOKZONE

WAARSCHUWING!
Raadpleeg de hoofdstukken
Veiligheid.

5.1 FlexiBridge-functie

De flexibele inductiekookzone bestaat
uit vier gedeelten. De gedeelten kunnen
worden gecombineerd in twee
kookzones met verschillende maten, of in
één grote kookzone. U kies de
combinatie van de zones door de modus
te kiezen die van toepassing is op het
formaat van het kookgerei dat u wilt
gebruiken. Er bestaan drie modi:
Standaard (automatisch geactiveerd als u
de kookplaat aanzet), Big Bridge (grote
overbrugging) en Max Bridge (maximale
overbrugging).
Gebruik de twee
bedieningsbalken aan de
linkerkant om de kookstand
in te stellen.
Schakelen tussen de modi
Gebruik de tiptoets om tussen de modi
te schakelen:
Als u tussen de modi
schakelt dan wordt de
warmte-instelling teruggezet
op0.
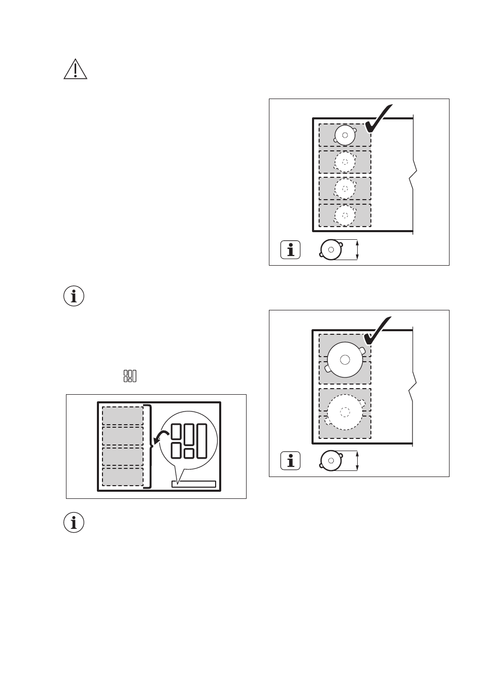
Diameter en positie van het kookgerei
Kies de modus die aansluit op de
afmeting en de vorm van het kookgerei.
Het kookgerei moet de geselecteerde
zone zoveel mogelijk bedekken. Plaats
het kookgerei in het midden van de
geselecteerde zone!
.
Plaats kookgerei met een
bodemdiameter die kleiner is dan 160
mm op het midden van een enkel
gedeelte.
Plaats het kookgerei met een
bodemdiameter die groter is dan 160
mm in het midden van twee gedeelten.
5.2 FlexiBridge
Standaardmodus
Deze modus wordt geactiveerd als u de
kookplaat aanzet. Het brengt de
gedeelten samen in twee afzonderlijke
kookzones. U kunt de warmte-instelling
voor iedere zone apart instellen. Gebruik
de twee bedieningsbalken aan de
100-160mm
> 160 mm
Inhoudsopgave
loading

Inhoudsopgave