Download Inhoudsopgave Inhoud Print deze pagina

Deel/Spoor Indicators Tijdens De Weergave Standbyfunctie; Deel/Spoor Indicators Tijdens De Opname Standbyfunctie; Opnemen Van Uw Toetsenbordspel - Casio Ctk-810 Gebruiksaanwijzing

Inhoudsopgave
Opname en weergave
Deel/spoor indicators tijdens de
weergave standbyfunctie
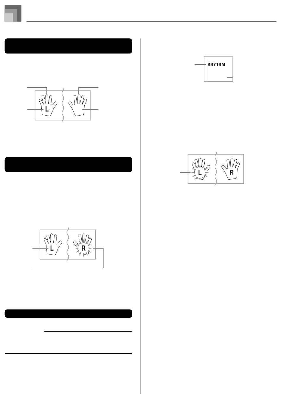
Telkens bij indrukken van een deel/spoor toets wordt de
weergave van dat spoor in- (deel/spoor indicator
aangegeven) en uitgeschakeld (deel/spoor indicator niet
aangegeven).
Spoor 1
Weergave
(aangegeven)
Voorbeeld: Het bovenstaande geeft aan dat Spoor 1 wordt
weergegeven terwijl Spoor 2 niet wordt
weergegeven.
Deel/spoor indicators tijdens de
opname standbyfunctie
Mocht een spoor reeds data bevatten dan zal de bijbehorende
deel/spoor indicator aangegeven worden.
Druk op de deel/spoor toets van het spoor waarnaar u op
wilt nemen (opnamespoor). Hierdoor gaat de deel/spoor
indicator knipperen. De deel/spoor indicator van het andere
spoor wordt gewoon aangegeven (zonder te knipperen) om
aan te geven dat dit gedeelte weergegeven wordt tijdens het
opnemen (weergavespoor).
Weergavespoor
(aangegeven)
Voorbeeld: Het bovenstaande geeft aan dat Spoor 1 het
weergavespoor is en dat Spoor 2 het opnamespoor
is.

Opnemen van uw toetsenbordspel

BELANGRIJK!
• Opnemen naar een spoor dat reeds data bevat leidt er
toe dat de bestaande data vervangen wordt door uw
nieuwe spel.
D-42
Spoor 2
Geen weergave
(niet
aangegeven)
Opnamespoor
(knipperend)
1
Druk op de RHYTHM toets om de ritmefunctie in
te schakelen.
Indicator
verschijnt
2
Selecteer de opname standbyfunctie m.b.v. de
RECORDER toets.
• Hierdoor gaat de RECORDER indicator in het display
knipperen.
3
Druk op de LEFT/TRACK 1 toets om Spoor 1 te
selecteren.
• Hierdoor gaat de L indicator knipperen om aan te
geven dat Spoor 1 het opnamespoor is.
Knippert
4
Configuur de volgende instellingen zoals nodig is.
• Toon (pagina D-20)
• Ritme (pagina D-30)
• Instelling van de MODE schakelaar (pagina D-31)
• Gebruik een langzamer tempo als u denkt dat u
moeite zult hebben om goed te spelen bij een hoger
tempo (pagina D-23).
5
Druk op de START/STOP toets van het controleblok.
• Hierdoor wordt de opname gestart.
6
Speel de gewenste noten op het toetsenbord.
• Naast de noten wordt de begeleiding die u op het
toetsenbord speelt ook opgenomen samen met de
automatische begeleidingspatronen. Melodienoten
worden ook opgenomen.
• Pedaalbediening die u uitvoert tijdens het spelen
wordt ook opgenomen.
7
Druk nogmaals op de START/STOP toets van het
controleblok om de opname te stoppen.
• Maakt u een fout dan dient u terug te gaan en opnieuw
op te nemen vanaf stap 2.
• Druk nu nogmaals op de START/STOP toets van het
controleblok om onmiddellijk te luisteren naar wat u
zojuist opgenomen had.
Inhoudsopgave
loading

Deze handleiding is ook geschikt voor:

Wk-110

Inhoudsopgave