Alecto WS5400 - Handleiding Weerstation
- 1 PRODUCTOVERZICHT
-
2
INSTALLATIE VAN DE WS5400
- 2.1 VOORAFGAANDE CONTROLE
- 2.2 LOCATIEKEUZE
- 2.3 BATTERIJ INSTALLATIE BUITENUNIT
- 2.4 DE MONTAGEPAAL INSTALLEREN
- 2.5 BATTERIJ INSTALLATIE BINNENUNIT
- 2.6 SCHAKEL HET DISPLAY IN
- 2.7 HANDMATIGE SYNCHRONISATIE VAN BINNEN- EN BUITENUNIT
- 2.8 SENSORVERBINDING VERWIJDEREN
- 2.9 SIGNAALSTERKTE DRAADLOZE SENSOR
- 2.10 HARDWARE FABRIEKSRESET
- 3 WERKEN MET DE SMARTLIFE APP
- 4 DE WS5400 (FIRMWARE) UPDATEN
-
5
INSTELLINGEN & FUNCTIES VAN DE CONSOLE
- 5.1 ALARMTIJD INSTELLEN
- 5.2 DE ALARMFUNCTIE ACTIVEREN
- 5.3 TEMPERATUUR & LUCHTVOCHTIGHEID
- 5.4 GEVOELSTEMPERATUUR, HITTE-INDEX, WINDCHILL & DAUWPUNT
- 5.5 GEVOELSTEMPERATUUR
- 5.6 DAUWPUNT
- 5.7 HITTE-INDEX
- 5.8 WINDCHILL
- 5.9 WIND
- 5.10 DE WINDWEERGAVEMODUS SELECTEREN
- 5.11 WEERSVERWACHTING
- 5.12 BAROMETRISCHE DRUK
- 5.13 REGEN
- 5.14 LICHTINTENSITEIT & UV-INDEX
- 5.15 KALIBRATIE
- 5.16 ACHTERGRONDVERLICHTING
- 5.17 LCD-DISPLAYCONTRAST INSTELLEN
- 6 ONDERHOUD
- 7 PROBLEEMOPLOSSING
- 8 SPECIFICATIES
- 9 Referenties
- 10 Download handleiding
- 11 In andere talen

PRODUCTOVERZICHT
DISPLAY

- SNOOZE/CONTRAST-toets
- LCD-scherm
- MEM-toets
- RAIN-toets
- BARO-toets
- Gat voor wandmontage
- WIND / +-toets
- NDX / --toets
- Tafelstandaard
- Stroomaansluiting
- ON / AUTO schuifschakelaar
- CH / SET-toets
- ALARM-toets
- CAL-toets
- SENSOR / Wi-Fi-toets
- RESET-toets
- Batterijklep

- Tijd & Datum
- Binnen / temperatuur & vochtigheid
- Buiten temperatuur & vochtigheid
- WIND, BARO, REGEN, UV en Lichtintensiteit
DRAADLOZE 7-IN-1 SENSOR ARRAY

- Antenne
- Regenopvangbak
- UVI / lichtsensor
- Bevestigingspaal
- Bevestigingsvoet
- Balansindicator
- Windbeker
- Stralingsschild
- Windvaan
- Rode LED-indicator
- RESET-toets
- Batterijklep
- Montageklem
- Regensensor
- Kipemmer
- Afvoergaten
INSTALLATIE VAN DE WS5400
VOORAFGAANDE CONTROLE
Voordat u uw weerstation permanent installeert, raden we de gebruiker aan om het weerstation te bedienen op een locatie die gemakkelijk toegankelijk is. Dit stelt u in staat om vertrouwd te raken met de functies van het weerstation en de kalibratieprocedures, om een correcte werking te garanderen voordat u het permanent installeert.
LOCATIEKEUZE
Houd rekening met het volgende voordat u de sensor array installeert:
- De regenmeter moet elke 3 maanden worden schoongemaakt.
- Batterijen moeten ongeveer elk jaar worden vervangen. We raden aan om lithiumbatterijen te gebruiken voor de beste prestaties.
- Vermijd stralingswarmte die wordt gereflecteerd door aangrenzende gebouwen en structuren. Idealiter moet de sensor array worden geïnstalleerd op 1,5 m (5') van elk gebouw, structuur, grond of dak.
- Kies een open ruimte in direct zonlicht zonder enige belemmering van regen, wind en zonlicht.
- Het transmissiebereik tussen de sensor array en de displayconsole kan een afstand van 100 meter in het zicht bereiken, op voorwaarde dat er geen storende obstakels tussen of in de buurt zijn. Controleer de kwaliteit van het ontvangstsignaal om een goede ontvangst te garanderen.
BATTERIJ INSTALLATIE BUITENUNIT
Schroef de batterijklep aan de onderkant van het apparaat los en plaats de batterijen volgens de aangegeven +/- polariteit. Schroef het batterijvak stevig vast nadat u de batterijen hebt geplaatst.

Opmerking:
De rode LED (10) begint elke 12 seconden te knipperen. Wanneer u de batterijen van de draadloze sensor hebt vervangen, moet de resynchronisatie handmatig worden uitgevoerd.
DE MONTAGEPAAL INSTALLEREN
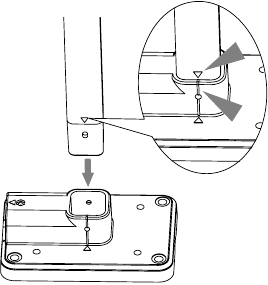
- Steek de bovenkant van de paal in het vierkante gat van de weersensor.
![Alecto - WS5400 - DE MONTAGEPAAL INSTALLEREN - Stap 1 DE MONTAGEPAAL INSTALLEREN - Stap 1]()
Zorg ervoor dat de indicator van de paal en de sensor overeenkomen. - Plaats de moer in het zeshoekige gat op de sensor, steek vervolgens de schroef aan de andere kant erin en draai deze vast met de schroevendraaier.
![Alecto - WS5400 - DE MONTAGEPAAL INSTALLEREN - Stap 2 DE MONTAGEPAAL INSTALLEREN - Stap 2]()
- Steek de andere kant van de paal in het vierkante gat van de plastic standaard.
![]()
Lijn de markering van de paal en de standaard uit. - Plaats de moer in het zeshoekige gat op de sensor, steek vervolgens de schroef aan de andere kant erin en draai deze vast met de schroevendraaier.
![Alecto - WS5400 - DE MONTAGEPAAL INSTALLEREN - Stap 3 DE MONTAGEPAAL INSTALLEREN - Stap 3]()
- Monteer de draadloze buitenunit met het windmeteruiteinde naar het noorden gericht om de richting van de windvaan correct te oriënteren.
![Alecto - WS5400 - DE MONTAGEPAAL INSTALLEREN - Stap 4 DE MONTAGEPAAL INSTALLEREN - Stap 4]()
- Bij montage op een paal. Bevestig de verticaal geïnstalleerde montagestandaard en de meegeleverde klem aan de paal met behulp van de meegeleverde schroeven.
![]()
Installeer de draadloze WS5400 buitensensor op minimaal 1,5 meter boven de grond voor betere en nauwkeurigere windmetingen.
Installeer de draadloze WS5400 buitensensor zo waterpas mogelijk om nauwkeurige regen- en windmetingen te verkrijgen.
Installeer de draadloze WS5400 buitensensor met de windsensoren naar het noorden gericht. Zie punt 5 van het installeren van de montagepaal. Kies een open ruimte binnen het bereik van het display
BATTERIJ INSTALLATIE BINNENUNIT
De back-upbatterij levert stroom aan de console om de kloktijd en -datum, max./min.-records en kalibratiewaarde te behouden.

De back-upbatterij kan een back-up maken van: Tijd & Datum, Max/Min-records en kalibratiewaarde.
Het ingebouwde geheugen kan een back-up maken van: verbindingsinstellingen.
Verwijder altijd de back-upbatterij als het apparaat een tijdje niet wordt gebruikt. Houd er rekening mee dat, zelfs wanneer het apparaat niet in gebruik is, bepaalde instellingen, zoals de klok, kalibratie en records in het geheugen, de back-upbatterij nog steeds leegtrekken.
SCHAKEL HET DISPLAY IN
- Steek de voedingsadapter in het stopcontact om de console in te schakelen.
- Zodra de console is ingeschakeld, worden alle segmenten van het LCD-scherm weergegeven.
- De console gaat automatisch naar de AP-modus en de sensor synchronisatiemodus.
HANDMATIGE SYNCHRONISATIE VAN BINNEN- EN BUITENUNIT
Druk eenmaal op de [ Sensor / Wi-Fi ]-toets om de console in de sensor synchronisatiemodus te zetten (kanaalnummer knippert), en de console zal alle sensoren die al eerder aan de console waren gekoppeld opnieuw registreren.
Wanneer u de batterijen van de draadloze sensor hebt vervangen, moet de resynchronisatie handmatig worden uitgevoerd.
- Vervang alle batterijen door nieuwe batterijen in de sensor.
- Druk op de [ Sensor / Wi-Fi ]-toets op de console om de sensor synchronisatiemodus te openen.
- De console registreert de sensor opnieuw nadat de batterijen zijn vervangen (ongeveer 1 minuut).
SENSORVERBINDING VERWIJDEREN
De gebruiker kan handmatig een sensor van de console verwijderen.
- Druk op de [ CH / SET ]-toets totdat de console het display van de geselecteerde sensor weergeeft.
- Houd de [ REFRESH ]-toets 10 seconden ingedrukt, totdat de metingen zijn gereset en " --, -°C -- % " wordt weergegeven.
SIGNAALSTERKTE DRAADLOZE SENSOR
- Het console display toont de signaalsterkte van de draadloze sensor(en), zoals in de onderstaande tabel:
Signaalsterkte van buitensensor 7-in-1
Signaalsterkte van buitensensor 7-in-1
Geen signaal Zwak signaal Goed signaal - Als het signaal is onderbroken en niet binnen 15 minuten is hersteld, verdwijnt het signaalpictogram. De temperatuur en vochtigheid geven "Er" weer voor het bijbehorende kanaal.
- Als het signaal niet binnen 48 uur is hersteld, wordt de "Er"-weergave permanent. U moet de batterijen vervangen en vervolgens op de [ Sensor / Wi-Fi]-toets drukken om de sensor opnieuw te koppelen.
HARDWARE FABRIEKSRESET
Binnendisplay-unit
Om de console te resetten en opnieuw te beginnen, drukt u eenmaal op de [ RESET ]-toets of verwijdert u de back-upbatterij en trekt u vervolgens de stekker van de adapter uit het stopcontact. Om de fabrieksinstellingen te herstellen en alle gegevens te verwijderen, houdt u de [ RESET ]-toets 6 seconden ingedrukt.
Buitendisplay-unit
Om de buitenunit te resetten, drukt u eenmaal op de [ RESET ]-toets of verwijdert u de back-upbatterij. Om de fabrieksinstellingen te herstellen en alle gegevens te verwijderen, houdt u de [ RESET ]-toets 6 seconden ingedrukt.
WERKEN MET DE SMARTLIFE APP
De console werkt met de Smart Life APP voor Android en iOS smartphones.
- Scan de QR-code om naar de Smart Life downloadpagina te gaan
![]()
Smart Life voor Android / iPhone - Download Smart Life uit de Google Play Store of Apple APP store.
- Installeer de Smart Life APP.
- Volg de instructies om uw eigen account aan te maken met behulp van een telefoonnummer of e-mailadres.
- Zodra de accountregistratie is voltooid, wordt het startscherm weergegeven.
Er is geen registratiecode nodig als de e-mailmethode wordt gekozen.
De APP kan zonder voorafgaande kennisgeving worden gewijzigd.
U wordt mogelijk gevraagd om de APP toegang te geven tot uw locatie. Hierdoor kan de APP u algemene weersinformatie in uw omgeving geven. De APP blijft werken als u geen toegang tot die locatie toestaat.
WEERSTATION VERBINDEN MET WI-FI NETWERK
- Houd de [ SENSOR / Wi-Fi ]-toets 6 seconden ingedrukt om handmatig de AP-modus te activeren, aangegeven door een knipperende AP en
. Wanneer de console voor de eerste keer wordt ingeschakeld, gaat de console automatisch naar de AP-modus en blijft daar. - Open de Smart Life APP en volg de instructies in de APP om het weerstation met uw Wi-Fi-netwerk te verbinden.
- De console verlaat automatisch de AP-modus en keert terug naar de normale werking zodra deze is verbonden met de Wi-Fi-router.

SMARTLIFE WS5400 SCHERMOVERZICHT
Het startscherm van het apparaat kan de IN-, UIT- en (CH) Kanaalmetingen weergeven, en u kunt op het bovenste en onderste pictogram tikken om toegang te krijgen tot andere functies.

- Terug-pictogram om terug te keren naar de startpagina van de APP
- Apparaatbeheer-pictogram voor geavanceerde functies en firmware-update
- OUTDOOR (BUITEN) meetwaarden sectie
- INDOOR (BINNEN) meetwaarden sectie
- CH1 ~ CH3 meetwaarden sectie (Wanneer meerdere sensoren zijn geïnstalleerd)
- MAX / MIN-pictogram, tik om de MAX / MIN-pagina weer te geven
- Geschiedenisgrafiek-pictogram
- Instellingen-pictogram
Tik op het MAX / MIN-pictogram om naar de pagina met max / min-records te gaan.

Tik op het geschiedenisgrafiek-pictogram om naar de pagina met de geschiedenisgrafiek te gaan.

Tik op het pictogram Instellingen en tik vervolgens op de eenheidrij om de weergave-eenheid in te stellen op deze apparaatpagina's van de APP.

AUTOMATISERING MET ANDERE APPARATEN (IOT) MET BEHULP VAN SMART LIFE
Via de Smart Life APP kunt u de WS5400-gegevens, zoals temperatuur en vochtigheid, gebruiken als voorwaarden om andere Smart Life-compatibele apparaten automatisch te bedienen.

Dit kan worden ingesteld door slimme scenario's te maken in de Smart Life-app. Wanneer aan een bepaalde voorwaarde is voldaan, activeert dit acties in andere slimme producten die met Smart Life werken.

Alle taken die worden vereist of uitgevoerd door apparaten van derden zijn naar keuze en risico van de gebruiker.
DE WS5400 (FIRMWARE) UPDATEN
De console kan worden bijgewerkt via uw Wi-Fi-netwerk. Als er nieuwe firmware beschikbaar is, wordt er een melding of pop-upbericht weergegeven op uw mobiel wanneer u de APP opent. Volg de instructies in de APP om de update uit te voeren.

- Tijdens het updateproces toont de console het voortgangspercentage in het midden van het scherm. Zodra de update is voltooid, wordt het consolescherm opnieuw ingesteld en keert het terug naar de normale modus.
- Zorg ervoor dat de stroom is aangesloten tijdens het firmware-updateproces.
- Zorg ervoor dat uw console Wi-Fi-verbinding stabiel is.
- Wanneer het updateproces start, bedien de console niet totdat de update is voltooid.
- Instellingen en gegevens kunnen verloren gaan tijdens de update.
- Tijdens de firmware-update stopt de console met het uploaden van gegevens naar de cloudserver. Het maakt opnieuw verbinding met uw Wi-Fi-router en uploadt de gegevens opnieuw zodra de firmware-update is geslaagd. Als de console geen verbinding kan maken met uw router, ga dan naar de SETUP-pagina om deze opnieuw in te stellen.
- Als de firmware-update mislukt, houd dan de [ ALARM ] en [ CAL ]-toets tegelijkertijd 10 seconden ingedrukt om terug te gaan naar de originele versie en herhaal de updateprocedure opnieuw.
INSTELLINGEN & FUNCTIES VAN DE CONSOLE
In de instellingsmodus kunnen de tijd, datum, meeteenheid en andere functies worden ingesteld.
Gebruik de onderstaande toetsen om door het instellingenmenu te bladeren, waarden te wijzigen en wijzigingen te bevestigen.
Houd de toets [ CH / SET ] 2 seconden ingedrukt om de instellingsmodus te openen.
Druk kort op de toets [ CH / SET ] om naar de volgende instellingsstap te gaan.
Druk op de toets [ WIND / + ] of [ NDX / - ] om de waarde te wijzigen. Houd de toets ingedrukt voor snel aanpassen.
Houd de toets [ CH / SET ] 2 seconden ingedrukt om de SET-modus op elk moment te verlaten.
Deze console is ontworpen om automatisch de lokale tijd te verkrijgen door te synchroniseren met uw lokale tijd. Als u hem offline wilt gebruiken, kunt u de tijd en datum handmatig instellen.
Tabel met instellingsitems
| Stap | Modus | Instelprocedure | |||
| 1 | 12/24-uurs formaat | Druk op de toets [ WIND / + ] of [ NDX / - ] om een 12- of 24-uurs formaat te selecteren | |||
| 2 | Uur | Druk op de toets [ WIND / + ] of [ NDX / - ] om het uur aan te passen | |||
| 3 | Minuut | Druk op de toets [ WIND / + ] of [ NDX / - ] om de minuut aan te passen | |||
| 4 | Jaar | Druk op de toets [ WIND / + ] of [ NDX / - ] om het jaar aan te passen | |||
| 5 | M-D/D-M formaat | Druk op de toets [ WIND / + ] of [ NDX / - ] om de weergave-indeling "Maand / Dag" of "Dag / Maand" te selecteren | |||
| 6 | Maand | Druk op de toets [ WIND / + ] of [ NDX / - ] om de maand aan te passen | |||
| 7 | Dag | Druk op de toets [ WIND / + ] of [ NDX / - ] om de dag aan te passen | |||
| 8 | Tijdsynchronisatie AAN/UIT | Druk op de toets [ WIND / + ] of [ NDX / - ] om de tijdsynchronisatiefunctie in of uit te schakelen Als u de tijd handmatig wilt instellen, moet u de tijdsynchronisatie uitschakelen (OFF) | |||
| 9 | Taal van de weekdag | Druk op de toets [ WIND / + ] of [ NDX / - ] om de weergavetaal van de weekdag te selecteren | |||
| 10 | Temperatuureenheid | Druk op de toets [ WIND / + ] of [ NDX / - ] om de regenweergave-eenheid te wijzigen tussen ˚C of ˚F | |||
| 11 | Windsnelheidseenheid | Druk op de toets [ WIND / + ] of [ NDX / - ] om de eenheid in de volgende volgorde te wijzigen: m/s km/h knopen mph | |||
| 12 | Baro-eenheid | Druk op de toets [ WIND / + ] of [ NDX / - ] om de eenheid in de volgende volgorde te wijzigen: hPa inHg mmHg | |||
| 13 | Regeneenheid | Druk op de toets [ WIND / + ] of [ NDX / - ] om de regenweergave-eenheid te wijzigen tussen mm of inch | |||
| 14 | Lichtintensiteitseenheid | Druk op de toets [ WIND / + ] of [ NDX / - ] om de lichtintensiteitseenheid in de volgende volgorde te wijzigen: Klux Kfc W/m². | |||
| 15 | Automatische kanaalloop | Druk op de toets [ WIND / + ] of [ NDX / - ] om de automatische kanaalloopfunctie in of uit te schakelen | |||
| 16 | 7-in-1 sensor wijst naar | Druk op de toets [ WIND / + ] of [ NDX / - ] om het halfrond te selecteren waar de sensor zich bevindt (bijv. de VS en EU-landen zijn ook "N", Australië is "S") |
De console verlaat de instellingsmodus automatisch als er na 60 seconden geen handeling wordt uitgevoerd.
ALARMTIJD INSTELLEN
- Houd in de normale tijdmodus de toets [ ALARM ] 2 seconden ingedrukt totdat het alarmuurcijfer knippert om de alarmtijdinstellingsmodus te openen.
- Druk op de toets [ WIND / + ] of [ NDX / - ] om de waarde te wijzigen. Houd de toets ingedrukt voor snel aanpassen.
- Druk nogmaals op de toets [ ALARM ] om de instellingswaarde naar Minuut te verplaatsen, waarbij het minuutcijfer knippert.
- Druk op de toets [ WIND / + ] of [ NDX / - ] om de waarde van het knipperende cijfer aan te passen.
- Druk op de toets [ ALARM ] om de instelling op te slaan en af te sluiten.
- Indien ingeschakeld, is het
pictogram zichtbaar op het LCD-scherm.
DE ALARMFUNCTIE ACTIVEREN
|
Alarm uit |
Alarm aan |
- Druk in de normale modus op de toets [ ALARM ] om de alarmtijd 5 seconden weer te geven.
- Wanneer de alarmtijd wordt weergegeven, drukt u nogmaals op de toets [ ALARM ] om de alarmfunctie te activeren.
Wanneer de klok de alarmtijd bereikt, wordt de alarmfunctie geactiveerd.
Het alarm kan worden gestopt door een van de volgende 4 handelingen
- Na 2 minuten alarm stopt het alarm automatisch en blijft het geactiveerd voor de volgende dag.
- Door op de toets [SNOOZE / CONTRAST] te drukken om de sluimerstand (snooze) te activeren, wordt het alarm 5 minuten uitgesteld.
- Door de toets [SNOOZE / CONTRAST] 2 seconden ingedrukt te houden om het alarm te stoppen en de volgende dag weer te activeren.
- Door op de toets [ ALARM ] te drukken om het alarm te stoppen en het alarm de volgende dag weer te activeren.
TEMPERATUUR & LUCHTVOCHTIGHEID
De temperatuur- en vochtigheidsmetingen worden weergegeven in het gedeelte Buiten en Binnen / CH.
Als de meting onder het meetbereik ligt, wordt "LO" weergegeven. Als de meting boven het meetbereik ligt, wordt "HI" weergegeven.
GEVOELSTEMPERATUUR, HITTE-INDEX, WINDCHILL & DAUWPUNT
Gevoelstemperatuur, Hitte-index, Windchill & Dauwpunt kunnen worden bekeken in het OUT-temperatuurgedeelte. Druk tijdens normale werking op de toets [ NDX / - ] om de OUT-temperatuur te schakelen in de onderstaande volgorde:
OUT-temperatuur
Gevoelstemperatuur
Hitte-index
Windchill
Dauwpunt
GEVOELSTEMPERATUUR
De gevoelstemperatuur laat zien hoe de buitentemperatuur aanvoelt. Het is een collectieve mix van de windchillfactor en de hitte-index. Voor temperaturen in het gebied tussen 18,1°C en 25,9°C, waar zowel wind als luchtvochtigheid minder significant zijn voor het beïnvloeden van de temperatuur, zal het apparaat de werkelijke gemeten buitentemperatuur weergeven als gevoelstemperatuur.

DAUWPUNT
Het dauwpunt is de temperatuur waaronder de waterdamp in lucht bij constante barometrische druk condenseert tot vloeibaar water in hetzelfde tempo als waarin het verdampt. Het gecondenseerde water wordt dauw genoemd wanneer het zich vormt op een vast oppervlak. De dauwpuntstemperatuur wordt bepaald door de temperatuur- en vochtigheidsgegevens van de draadloze 7-IN-1 sensor.
HITTE-INDEX
De hitte-index wordt bepaald door de temperatuur- en vochtigheidsgegevens van de draadloze 7-IN-1 sensor wanneer de temperatuur tussen 26°C (79°F) en 50°C (120°F) ligt.
| HITTE-INDEXBEREIK | WAARSCHUWING | UITLEG |
| 27°C tot 32°C (80°F tot 90°F) | Voorzichtig | Mogelijkheid van hitte-uitputting |
| 33°C tot 40°C (91°F tot 105°F) | Uiterste voorzichtigheid | Mogelijkheid van uitdroging door hitte |
| 41°C tot 54°C (106°F tot 129°F) | Gevaar | Hitte-uitputting waarschijnlijk |
| ≥55°C (≥130°F) | Uiterst gevaar | Sterk risico op uitdroging / zonnesteek |
WINDCHILL
Een combinatie van de temperatuur- en windsnelheidsgegevens van de draadloze 7-IN-1 sensor bepaalt de huidige windchillfactor.
WIND

DE WINDWEERGAVEMODUS SELECTEREN
In de normale modus drukt u op de toets [WIND / +] om te schakelen tussen GEMIDDELDE windsnelheid, WINDSTOOT, windrichting en de schaal van BEAUFORT (BFT).
De schaal van Beaufort is een internationale schaal van windsnelheden variërend van 0 (kalm) tot 12 (orkaan).
| Schaal van Beaufort | Omschrijving | Windsnelheid | Toestand van het land |
| 0 | Kalm | < 1 km/u | Kalm. Rook stijgt verticaal op. |
| < 1 mph | |||
| < 1 knopen | |||
| < 0.3 m/s | |||
| 1 | Lichte lucht | 1.1 ~ 5km/u | Rookpluim geeft windrichting aan. Bladeren en windvanen staan stil. |
| 1 ~ 3 mph | |||
| 1 ~ 3 knopen | |||
| 0.3 ~ 1.5 m/s | |||
| 2 | Lichte bries | 6 ~ 11 km/u | Wind voelbaar op de onbedekte huid. Bladeren ritselen. Windvanen beginnen te bewegen. |
| 4 ~ 7 mph | |||
| 4 ~ 6 knopen | |||
| 1.6 ~ 3.3 m/s | |||
| 3 | Zachte bries | 12 ~ 19 km/u | Bladeren en kleine takjes voortdurend in beweging, lichte vlaggen gestrekt. |
| 8 ~ 12 mph | |||
| 7 ~ 10 knopen | |||
| 3.4 ~ 5.4 m/s | |||
| 4 | Matige bries | 20 ~ 28 km/u | Stof en los papier worden opgetild. Kleine takken beginnen te bewegen. |
| 13 ~ 17 mph | |||
| 11 ~ 16 knopen | |||
| 5.5 ~ 7.9 m/s | |||
| 5 | Frisse bries | 29 ~ 38 km/u | Takken van een matig formaat bewegen. Kleine bomen met bladeren beginnen te zwaaien. |
| 18 ~ 24 mph | |||
| 17 ~ 21 knopen | |||
| 8.0 ~ 10.7 m/s | |||
| 6 | Krachtige bries | 39 ~ 49 km/u | Grote takken in beweging. Gefluit te horen in bovengrondse leidingen. Gebruik van paraplu's wordt moeilijk. Lege plastic bakken vallen om. |
| 25 ~ 30 mph | |||
| 22 ~ 27 knopen | |||
| 10.8 ~ 13.8 m/s | |||
| 7 | Harde wind | 50 ~ 61 km/u | Hele bomen in beweging. Inspanning nodig om tegen de wind in te lopen. |
| 31 ~ 38 mph | |||
| 28 ~ 33 knopen | |||
| 13.9 ~ 17.1 m/s | |||
| 8 | Storm | 62 ~ 74 km/u | Sommige takken breken van bomen. Auto's wijken uit op de weg. Voortgang te voet wordt ernstig belemmerd |
| 39 ~ 46 mph | |||
| 34 ~ 40 knopen | |||
| 17.2 ~ 20.7 m/s | |||
| 9 | Zware storm | 75 ~ 88 km/u | Sommige takken breken af van bomen, en sommige kleine bomen waaien om. Bouw- / tijdelijke borden en barricades waaien om. |
| 47 ~ 54 mph | |||
| 41 ~ 47 knopen | |||
| 20.8 ~ 24.4 m/s | |||
| 10 | Harde storm | 89 ~ 102 km/u | Bomen breken af of worden ontworteld, structurele schade waarschijnlijk. |
| 55 ~ 63 mph | |||
| 48 ~ 55 knopen | |||
| 24.5 ~ 28.4 m/s | |||
| 11 | Zeer zware storm | 103 ~ 117 km/u | Wijdverspreide vegetatie en structurele schade waarschijnlijk. |
| 64 ~ 73 mph | |||
| 56 ~ 63 knopen | |||
| 28.5 ~ 32.6 m/s | |||
| 12 | Orkaankracht | ≥ 118 km/u | Ernstige wijdverspreide schade aan vegetatie en structuren. Puin en onbeveiligde objecten worden rondgeslingerd. |
| ≥ 74 mph | |||
| ≥ 64 knopen | |||
| ≥ 32.7m/s |
WEERSVERWACHTING
De ingebouwde barometer bewaakt continu de atmosferische druk. Op basis van de verzamelde gegevens kan het de weersomstandigheden in de komende 12 ~ 24 uur voorspellen binnen een straal van 30 ~ 50 km (19 ~ 31 mijl).
| | | | | |
| ZONNIG | GEDEELTELIJK BEWOLKT | BEWOLKT | REGENACHTIG | REGENACHTIG / STORMACHTIG | SNEEUWACHTIG |
De nauwkeurigheid van een algemene op druk gebaseerde weersvoorspelling is ongeveer 70% tot 75%.
De weersvoorspelling geeft de weersituatie voor de komende 12 ~ 24 uur weer, deze weerspiegelt niet noodzakelijkerwijs de huidige situatie.
De SNEEUWACHTIGE weersvoorspelling is niet gebaseerd op de atmosferische druk, maar op de temperatuur buiten. Wanneer de temperatuur lager is dan -3 ° C (26 ° F), wordt het SNEEUWACHTIGE weerpictogram op het LCD-scherm weergegeven.
BAROMETRISCHE DRUK

De atmosferische druk is de druk op elke locatie van de aarde die wordt veroorzaakt door het gewicht van de luchtkolom erboven. Eén atmosferische druk verwijst naar de gemiddelde druk en neemt geleidelijk af naarmate de hoogte toeneemt. Meteorologen gebruiken barometers om de atmosferische druk te meten. Omdat de variatie in atmosferische druk sterk wordt beïnvloed door het weer, is het mogelijk om het weer te voorspellen door de veranderingen in druk te meten.
In de normale modus drukt u op de toets [BARO] om te schakelen tussen ABSOLUTE / RELATIEVE barometrische druk.
Om de relatieve druk in te stellen:
- Houd de toets [BARO] 2 seconden ingedrukt om de instelmodus voor de relatieve druk te openen.
- Druk op de toets [WIND / +] of [NDX / -] om de waarde in te stellen
- Druk op de toets [BARO] om de instelling te verlaten.
REGEN

Om de weergavemodus voor regenval te selecteren
Druk op de toets [RAIN] om te schakelen tussen:
- DAGELIJKS - de totale regenval vanaf middernacht (standaard)
- WEKELIJKS - de totale regenval van de huidige week
- MAANDELIJKS - de totale regenval van de huidige kalendermaand
- TOTAAL - de totale regenval sinds de laatste reset
- SNELHEID - Huidige regenvalsnelheid (gebaseerd op 10 min regengegevens)
In de normale modus houdt u de toets [Rain] 6 seconden ingedrukt om alle regenvalrecords te resetten.
Om ervoor te zorgen dat u correcte gegevens hebt, dient u alle regenvalrecords te resetten wanneer u uw draadloze 7-IN-1-sensor opnieuw op een andere locatie installeert.
LICHTINTENSITEIT & UV-INDEX
De UV-index en de lichtintensiteitsmeting worden rechtsonder op het display weergegeven.

De console kan de dagelijkse MAX / MIN-records van de verschillende metingen in de geheugenmodus weergeven.
Om MAX / MIN-records te bekijken
Druk in de normale modus op de [MEM]-toets (GEHEUGEN) aan de voorkant om de records in de onderstaande volgorde te controleren:
MAX-temperatuur binnen of van het huidige kanaal
MIN-temperatuur binnen of van het huidige kanaal
MAX-vochtigheid binnen of van het huidige kanaal
MIN-vochtigheid binnen of van het huidige kanaal
MAX-temperatuur buiten
MIN-temperatuur buiten
MAX-vochtigheid buiten
MIN-vochtigheid buiten
MAX Gevoelstemperatuur
MIN Gevoelstemperatuur
MAX hitte-index temperatuur
MIN gevoelstemperatuur bij wind
MAX dauwpuntstemperatuur
MIN dauwpuntstemperatuur
MAX gemiddelde windsnelheid
MAX windstoot
MAX Beaufort
MAX relatieve barometrische druk
MIN relatieve barometrische druk
MAX absolute barometrische druk
MIN absolute barometrische druk
MAX neerslagsnelheid
MAX UV-index
MAX lichtintensiteit. Druk vervolgens op de [MEM]-toets (GEHEUGEN) om terug te keren naar de normale modus.
U kunt ook op een andere toets drukken om de geheugenmodus te verlaten.
Houd de [MEM]-toets (GEHEUGEN) 2 seconden ingedrukt om de huidige weergegeven record te resetten.
KALIBRATIE
De console kan de weermetingen kalibreren:
- Houd in de normale modus de [CAL]-toets (KALIBREREN) 2 seconden ingedrukt om de kalibratiemodus te openen, zoals hieronder weergegeven.
![]()
- Druk op de [CH / SET]-toets (KANAAL / INSTELLEN) om verschillende parameters te selecteren in de volgende volgorde: Binnentemperatuur
Luchtvochtigheid binnen
CH-temperatuur
CH-vochtigheid
Buitentemperatuur
Luchtvochtigheid buiten
Windsnelheid
Windrichting
Absolute barometrische druk
Regenval versterking
UV versterking
Lichtintensiteit versterking. - Terwijl de meting knippert, drukt u op de [WIND / +]-toets (WIND / +) of de [-]-toets om de offsetwaarde aan te passen.
- Als u klaar bent, drukt u op [CH / SET] (KANAAL / INSTELLEN) om door te gaan met de volgende kalibratie door het bovenstaande proces 2 - 3 te herhalen.
- Om terug te keren naar de normale modus, drukt u eenmaal op de [CAL]-toets (KALIBREREN).
ACHTERGRONDVERLICHTING
De achtergrondverlichting van de hoofdunit kan worden aangepast met behulp van de schuifschakelaar [ON / AUTO] (AAN / AUTO) om de juiste helderheid te selecteren:
Schuif naar de [ON]-positie (AAN) om de achtergrondverlichting op de normale helderheid in te stellen.
Schuif naar de [AUTO]-positie (AUTO) om de helderheid van de achtergrondverlichting in te stellen op basis van het omgevingslichtniveau.
LCD-DISPLAYCONTRAST INSTELLEN
Druk in de normale modus op de [SNOOZE / CONTRAST]-toets (SNOOZE / CONTRAST) om het LCD-contrast aan te passen voor de beste weergave op de tafelstandaard of aan de muur.
ONDERHOUD
BATTERIJ VERVANGEN
Wanneer de indicator voor een bijna lege batterij "
" wordt weergegeven in het Out- of CH-gedeelte van het LCD-scherm, geeft dit aan dat de batterij van de draadloze 7-in-1-sensor of de huidige kanaalsensor respectievelijk bijna leeg is. Vervang deze door nieuwe batterijen.
ONDERHOUD DRAADLOZE 7-IN-1-SENSOR

WINDKAP VERVANGEN
- Verwijder de rubberen dop en schroef los
- Verwijder de windkap om deze te vervangen
DE UV-SENSOR REINIGEN EN KALIBREREN
- Voor een nauwkeurige UV-meting reinigt u de lenskap van de UV-sensor voorzichtig met een vochtige microvezeldoek.
- Na verloop van tijd zal de UV-sensor van nature degraderen. De UV-sensor kan worden gekalibreerd met een UV-meter van utiliteitskwaliteit. Raadpleeg het kalibratiegedeelte op de vorige pagina voor meer informatie over de kalibratie van de UV-sensor.
DE WINDVAAN VERVANGEN
Schroef de windvaan los en verwijder deze om hem te vervangen
DE REGENCOLLECTOR REINIGEN
- Draai de regencollector door deze 30° tegen de klok in te draaien.
- Verwijder de regencollector voorzichtig.
- Reinig en verwijder eventueel vuil of insecten.
- Installeer de collector wanneer deze schoon en volledig droog is.
HYGRO-THERMO SENSOR REINIGEN
- Verwijder de 2 schroeven aan de onderkant van de stralingsbescherming.
- Trek voorzichtig de onderste 4 schermen eruit.
- Verwijder voorzichtig vuil of insecten op de sensor en ventilatieventilator (laat de sensoren binnenin niet nat worden).
- Reinig het scherm met water om vuil of insecten te verwijderen.
- Installeer alle onderdelen terug wanneer ze schoon en volledig droog zijn.
PROBLEEMOPLOSSING
| Problemen | Oplossing |
| Vreemde of geen meting van de regensensor |
|
| Vreemde of geen meting van de thermo-/hygrosensor |
|
| Vreemde of geen meting van de windsnelheid en -richting |
|
|
|
|
| De buitentemperatuur is overdag te hoog | Zorg ervoor dat de sensorarray niet te dicht bij warmte genererende bronnen of structuren staat, zoals gebouwen, bestrating, muren of airconditioningunits. |
| Er kan 's nachts wat condensatie onder de UV-sensor optreden | Dit verdwijnt wanneer de temperatuur onder de zon stijgt en heeft geen invloed op de prestaties van het apparaat. |
| Geen Wi-Fi verbinding |
|
| Temperatuur of vochtigheid niet nauwkeurig |
|
SPECIFICATIES
Indoor console-eenheid
| Algemene specificatie | |
| Afmetingen (B x H x D) | 130 x 112 x 27.5mm (5.1 x 4.4 x 1.1 in) |
| Gewicht | 220g (met batterijen) |
| Hoofdvoeding | DC 5V, 1A adapter |
| Backup batterij | CR2032 (niet inbegrepen) |
| Bedrijfstemperatuurbereik | -5˚C ~ 50˚C |
| Bedrijfsvochtigheidsbereik | 10~90% RH |
| Ondersteuningssensoren | 1 Draadloze 7-in-1 sensor (inbegrepen) |
| RF-frequentie (Afhankelijk van de landversie) | 868Mhz (EU- of Britse versie) |
| Tijdsgerelateerde functiespecificatie | |
| Tijdsweergave | UU: MM |
| Uur formaat | 12 uur AM / PM of 24 uur |
| Datumweergave | DD / MM of MM / DD |
| Tijd synchroniseren methode | Via de server om de lokale tijd van de consolelocatie te krijgen |
| Weekdagtalen | EN / DE / FR / ES / IT / NL / RU |
| BAROMETER | |
| Barometer eenheid | hPa, inHg en mmHg |
| Nauwkeurigheid | (700 ~ 1100hPa ± 5hPa) / (540 ~ 696hPa ± 8hPa) (20.67 ~ 32.48inHg ± 0.15inHg) / (15.95 ~ 20.55inHg ± 0.24inHg) (525 ~ 825mmHg ± 3.8mmHg) / (405 ~ 522mmHg ± 6mmHg) Typisch bij 25°C (77°F) |
| Resolutie | 1 hPa / inHg is 2 decimalen / mmHg is 1 decimaal |
| In temperatuur | |
| Temperatuureenheid | °C en °F |
| Nauwkeurigheid | <0°C of >40°C ± 2°C (<32°F of >104°F ± 3.6°F) 0~40°C ±1°C (32~104°F ± 1.8°F) |
| Resolutie | °C / °F (1 decimaal) |
| In luchtvochtigheid | |
| Vochtigheidseenheid | % |
| Nauwkeurigheid | 1 ~ 20% RH ± 6.5% RH @ 25°C (77°F) 21 ~ 80% RH ± 3.5% RH @ 25°C (77°F) 81 ~ 99% RH ± 6.5% RH @ 25°C (77°F) |
| Resolutie | 1% |
| Buitentemperatuur | |
| Temperatuureenheid | °C en °F |
| Nauwkeurigheid | 5.1 ~ 60°C ± 0.4°C (41.2 ~ 140°F ± 0.7°F) -19.9 ~ 5°C ± 1°C (-3.8 ~ 41°F ± 1.8°F) -40 ~ -20°C ± 1.5°C (-40 ~ -4°F ± 2.7°F) |
| Resolutie | °C / °F (1 decimaal) |
| Buitenluchtvochtigheid | |
| Vochtigheidseenheid | % |
| Nauwkeurigheid | 1 ~ 20% RH ± 6.5% RH @ 25°C (77°F) 21 ~ 80% RH ± 3.5% RH @ 25°C (77°F) 81 ~ 99% RH ± 6.5% RH @ 25°C (77°F) |
| Resolutie | 1% |
| Regen | |
| Regenval eenheid | mm en in |
| Regenval snelheid eenheid | mm/u en in/u |
| Nauwkeurigheid | Groter dan +/- 7% of 1 tip |
| Resolutie | 0.4 mm (0.0157 in) |
| Wind | |
| Windsnelheid eenheid | mph, m/s, km/u, knopen |
| Bereik | 0~112mph, 50m/s, 180km/u, 97knopen |
| Nauwkeurigheid (windsnelheid) | < 5m/s: +/- 0.5m/s; > 5m/s: +/- 6% |
| Resolutie (windsnelheid) | 0.1mph of 0.1knoop of 0.1m/s |
| Resolutie (windrichting) | 16 of 360 graden |
| UV Index | |
| Bereik | 0~16 |
| Resolutie | 1 decimaal |
| Lichtintensiteit | |
| Lichtintensiteit eenheid | Klux, Kfc en W/m² |
| Bereik | 0~200Klux |
| Resolutie | 2 decimalen |
| Wi-Fi Communicatie Specificatie | |
| Standaard | 802.11 b/g/n |
| Werkfrequentie: | 2.4GHz |
| APP Specificatie | |
| Ondersteuning APP |
|
| Ondersteund platform van APP | Android smart phone iPhone |
Draadloos 7-in-1 buitenstation
| Afmetingen (B x H x D) | 343.5 x 393.5 x 136mm (13.5 x 15.5 x 5.35in) geïnstalleerde montage |
| Gewicht | 757g (met batterijen) |
| Hoofdvoeding | 3 x AA-formaat 1.5V batterijen (niet inbegrepen) (Lithiumbatterijen aanbevolen) |
| Weer data | Temperatuur, vochtigheid, windsnelheid, windrichting, regenval, UV en lichtintensiteit |
| RF-zendbereik | 150m |
| RF-frequentie (afhankelijk van de landversie) | 868Mhz (EU, VK) |
| Transmissie interval | 60 seconden voor temperatuur en vochtigheid 12 seconden voor wind, regen, UV en lichtintensiteit |
| Werkbereik | -40 ~ 60°C (-40 ~ 140°F) Lithiumbatterijen vereist |
| Luchtvochtigheidsbereik tijdens bedrijf | 1 ~ 99% RH |

Referenties
Download handleiding
Hier kunt u de volledige pdf-versie van de handleiding downloaden. Deze kan aanvullende veiligheidsinstructies, garantie-informatie, FCC-regels, enz. bevatten.
Download Alecto WS5400 - Handleiding Weerstation

Zorg ervoor dat de indicator van de paal en de sensor overeenkomen.





km/h 



