Download Inhoudsopgave Inhoud Print deze pagina

Periodieke Reiniging; De Vriezer Ontdooien; Periode Dat Het Apparaat Niet Gebruikt Wordt - Aeg Ats49E1Aw Gebruiksaanwijzing

Inhoudsopgave
Beschikbare talen

Beschikbare talen

LET OP!
De toebehoren en
onderdelen van het
apparaat zijn niet geschikt
om in een afwasmachine
gewassen te worden.

7.2 Periodieke reiniging

Het apparaat moet regelmatig worden
schoongemaakt:
1. Maak de binnenkant en de
accessoires schoon met lauw water
en wat neutrale zeep.
2. Controleer de afdichtingen
regelmatig en wrijf ze schoon om u
ervan te verzekeren dat ze schoon en
vrij van resten zijn.
3. Afspoelen en goed afdrogen.

7.3 De vriezer ontdooien

LET OP!
Gebruik nooit scherpe
metalen hulpmiddelen om
de rijp van de verdamper te
krabben, deze zou
beschadigd kunnen raken.
Gebruik geen mechanische
of andere middelen om het
ontdooiproces te versnellen,
behalve die middelen die
door de fabrikant zijn
aanbevolen.
Stel ongeveer 12 uur voordat
u gaat ontdooien een lagere
temperatuur in om
voldoende koudereserve op
te bouwen in geval van
onderbrekingen tijdens de
werking.
Een zekere hoeveelheid rijp zal zich altijd
vormen op de schappen van de vriezer
en rond het bovenste vak.
Ontdooi de vriezer wanneer de rijplaag
een dikte van ongeveer 3-5 mm bereikt
heeft.
1. Trek de stekker uit het stopcontact of
schakel het apparaat uit.
2. Verwijder al het ingevroren voedsel
en leg het op een koele plaats.
LET OP!
Een temperatuurstijging
tijdens het ontdooien
van de ingevroren
levensmiddelen, kan de
veilige bewaartijd
verkorten.
Raak ingevroren voedsel
niet met natte handen
aan. Uw handen kunnen
hieraan vastvriezen.
3. Laat de deur open staan. Bescherm
de vloer tegen het ontdooiwater met
bijv. een doek of een platte
opvangbak.
4. Om het ontdooiproces te versnellen
kunt u een bak warm water in het
vriesvak zetten. Verwijder bovendien
stukken ijs die afbreken voordat het
ontdooien voltooid is.
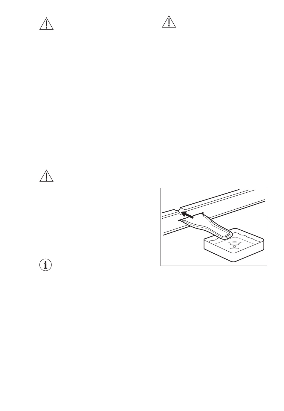
5. Steek de kunststof schraper in de
daarvoor bedoelde opening in het
midden van de bodem, plaats er een
opvangbak onder om het dooiwater
op te vangen.
6. Na afloop van het ontdooien, de
binnenkant grondig droog maken.
7. Zet het apparaat aan en doe de deur
dicht.
8. Zet de thermostaatknop op de
maximale koude en laat het apparaat
minstens drie uur in deze instelling
werken.
Pas na deze tijd plaatst u het eten terug
in het vriesvak.
7.4 Periode dat het apparaat
niet gebruikt wordt
Neem de volgende
voorzorgsmaatregelen als het apparaat
NEDERLANDS
49

Hoofdstukken

Inhoudsopgave
loading

Inhoudsopgave