Download Inhoudsopgave Inhoud Print deze pagina

Delarnas Plats Och Funktioner - Sony Bc-U2A Gebruiksaanwijzing

Inhoudsopgave
Beschikbare talen
  • NL

Beschikbare talen

  • DUTCH, pagina 17
Korea
http://bp.sony.co.kr
Kina
http://pro.sony.com.cn
Indien
http://pro.sony.co.in

Delarnas plats och funktioner

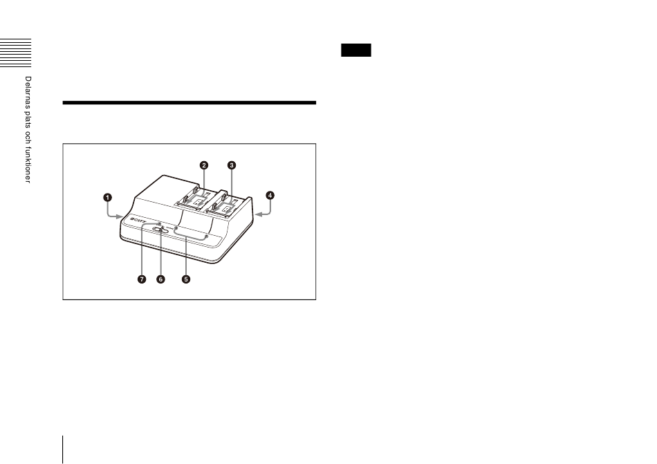
a DC OUT-kontakt
Levererar likström till en ansluten enhet via den medföljande
likströmskabeln när lägesväljaren är inställd på DC OUT.
Likströmskabeln har en kontakt med svart isolering och en kontakt
med gul isolering. Anslut kontakten med svart isolering till denna
apparat och kontakten med gul isolering till den anslutna enheten.
36
Delarnas plats och funktioner
Obs!
• Anslut inte en apparat med högre energikrav än de angivna
värdena.
• Beroende på vilken ström som förbrukas av den anslutna enheten
kan apparaten bli varm. Detta är inte ett fel. Undvik långvarig
kontakt med apparaten om den skulle bli varm.
b Kanal 1 laddkontakter
Levererar ström när lägesväljaren är inställd på CHARGE.
c Kanal 2 laddkontakter
Levererar ström oavsett lägesväljarens inställning.
d AC-ingång
Ansluts till en växelströmkälla via växelströmssladden.
e CHARGE-indikatorer
Visar laddningsstatus för fästa batteripaketet under laddning av
batteripaketet.
För information, se "Ladda batteripaketet" på sidan 37.
f Lägesväljare
CHARGE: Leverera ström till litiumjon-batteripaketet som är
anslutet till kanal 1.
DC OUT: Levererar likström från DC OUT-kontakten och levererar
samtidigt ström till ett litiumjon-batteripaket anslutet till kanal
2. (Ett batteripaket anslutet till kanal 1 laddas inte.)
g DC OUT-indikator
Lyser grönt när lägesväljaren är inställd på DC OUT och likström
levereras.
Om några problem upptäcks släcks indikatorn.

Hoofdstukken

Inhoudsopgave
loading

Inhoudsopgave