Download Inhoudsopgave Inhoud Print deze pagina

Delenes Plassering Og Funksjon - Sony Bc-U2A Gebruiksaanwijzing

Inhoudsopgave
Beschikbare talen
  • NL

Beschikbare talen

  • DUTCH, pagina 17
Kina
http://pro.sony.com.cn
India
http://pro.sony.co.in
Delenes plassering og
funksjon
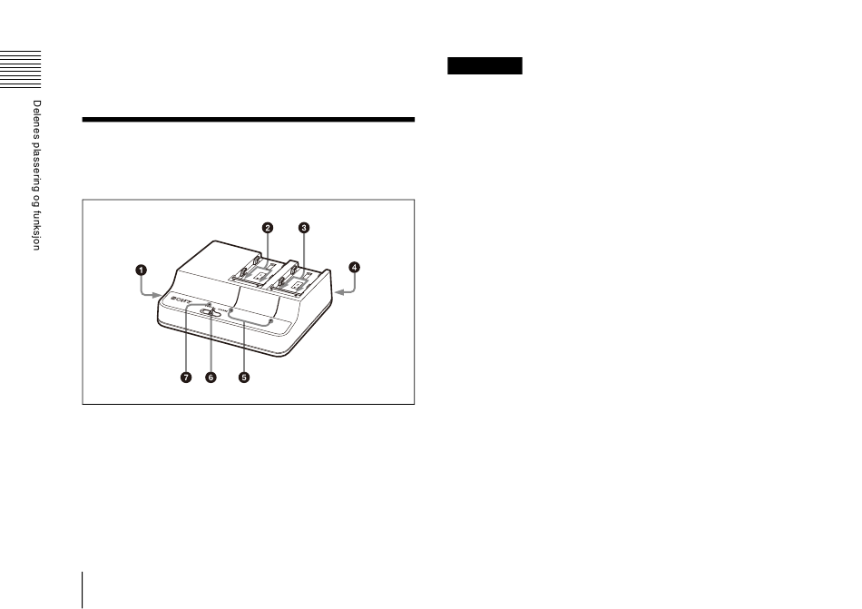
a DC OUT-kontakt (strømutgang)
Leverer DC-strøm til en tilkoblet enhet via den medfølgende DC-
utgangskabelen når modusvelgerbryteren er satt til DC OUT.
DC-utgangskabelen har én plugg med svart isolasjon og én plugg
med gul isolasjon. Koble pluggen med svart isolasjon til apparatet,
og pluggen med gul isolasjon til den tilkoblede enheten.
50

Delenes plassering og funksjon

Merknader
• Du må ikke koble til en enhet med høyere strømbehov enn de
angitte verdiene.
• Avhengig av strømforbruket i den tilkoblede enheten, kan
apparatet bli varmt. Dette er ikke en feil. Unngå langvarig kontakt
med apparatet hvis det blir varmt.
b Kanal 1-ladekontakter
Leverer strøm nå modusvelgerbryteren er satt til CHARGE.
c Kanal 2-ladekontakter
Leverer strøm uansett innstilling av modusvelgerbryteren.
d Inngangskontakt for nettstrøm
Kobles til en nettstrømkilde via nettstrømledningen.
e CHARGE-indikatorer
Viser ladestatusen for de tilkoblede batteripakkene under lading av
batteripakkene.
Du finner mer informasjon på "Lading av batteripakker" på side 51.
f Modusvelgerbryter
CHARGE: Leverer strøm til litium-ion-batteripakke som er koblet
til kanal 1.
DC OUT: Leverer DC-strøm fra DC OUT-kontakten, og leverer
samtidig strøm til en litium-ion-batteripakke koblet til kanal 2.
(En batteripakke som er koblet til kanal 1 lades ikke.)
g DC OUT-indikator
Lyser grønt når modusvelgerbryteren er satt til DC OUT og DC-
strøm leveres.
Hvis et problem oppdages, slukke indikatorlyset.

Hoofdstukken

Inhoudsopgave
loading

Inhoudsopgave