Download Inhoudsopgave Inhoud Print deze pagina

Verkoop Tegen Contante Betaling Of Cheque Zonder Invoeren Van Ontvangen Bedrag; Verkoop Op Krediet - Sharp Xe-A301 Gebruiksaanwijzing

Verberg thumbnails Zie ook voor XE-A301:
Inhoudsopgave
A301_2(N)
03.4.24 8:10 PM
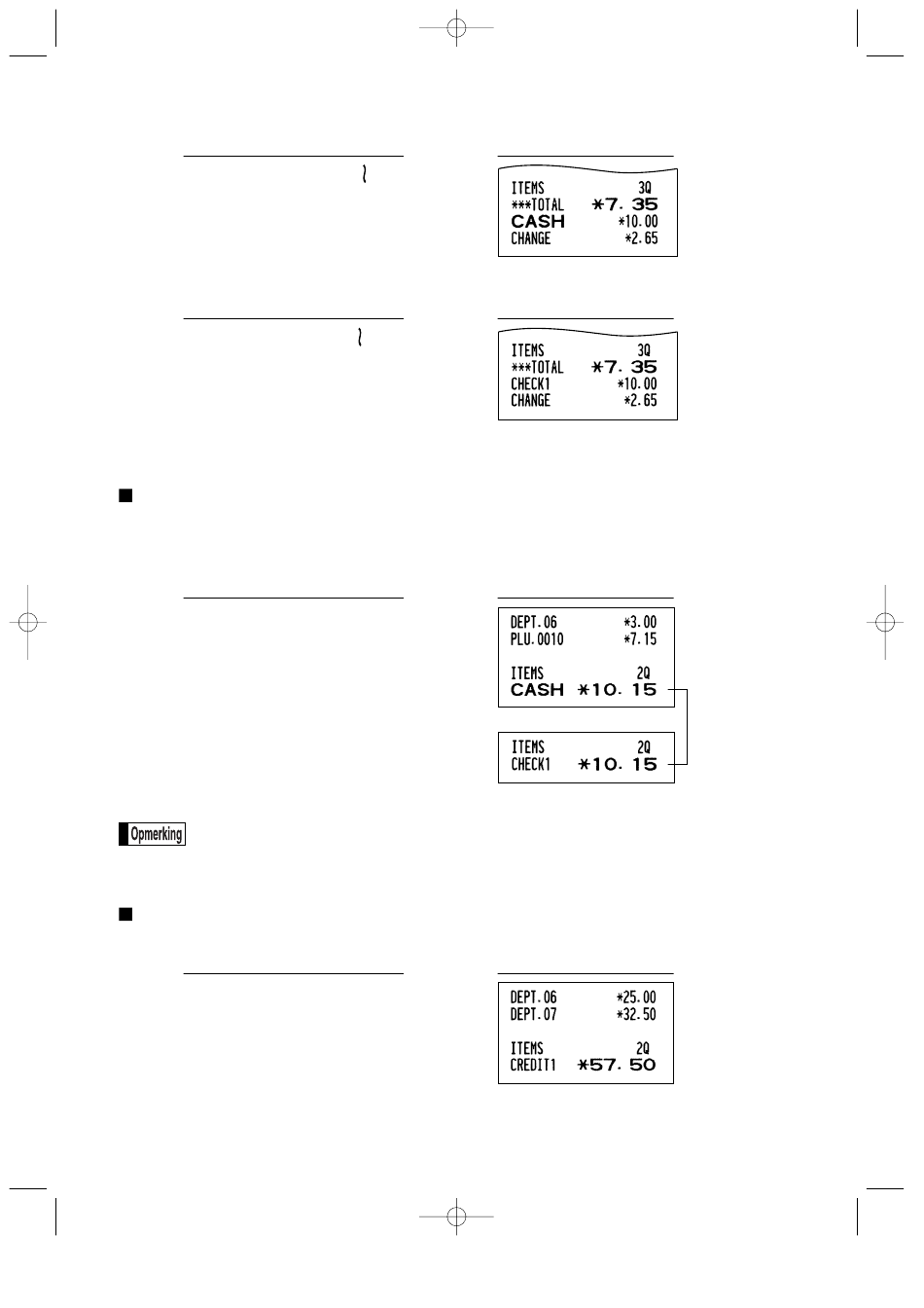
Contante betaling
Betaling met cheque
Verkoop tegen contante betaling of cheque zonder invoeren van ontvangen
bedrag
Voer de onderdelen in en druk op de
geval van een cheque. De kassa toont het totale verkoopbedrag.

Verkoop op krediet

Voer de onderdelen in en druk op een krediettoets (
Downloaded from:
http://www.usersmanualguide.com/
Page 17
Toetsbediening voorbeeld
s
A
1000
Toetsbediening voorbeeld
s
X
1000
A
Toetsbediening voorbeeld
§
300
p
10
A
Indien u u heeft geprogrammeerd dat "direct na ontvangst geen-ontvangst invoer" (Taak-code 63,
zie bladzijde 46) niet is toegestaan, moet u altijd een ontvangen bedrag invoeren.
Toetsbediening voorbeeld
§
2500
3250
c
toets in geval van een contante betaling of op een cheque-toets in
In geval van een cheque 1 verkoop
c
b
of
).
Bon
Bon
Bon
Bon
17
Inhoudsopgave
loading

Inhoudsopgave