Download Inhoudsopgave Inhoud Print deze pagina
Inhoudsopgave
72
www.aeg.com

21. SNELSTARTGIDS

21.1 Dagelijks gebruik
• Steek de stekker in het stopcontact.
• Open de waterkraan.
• Druk op de Aan/Uit -toets om het
apparaat aan te zetten (1).
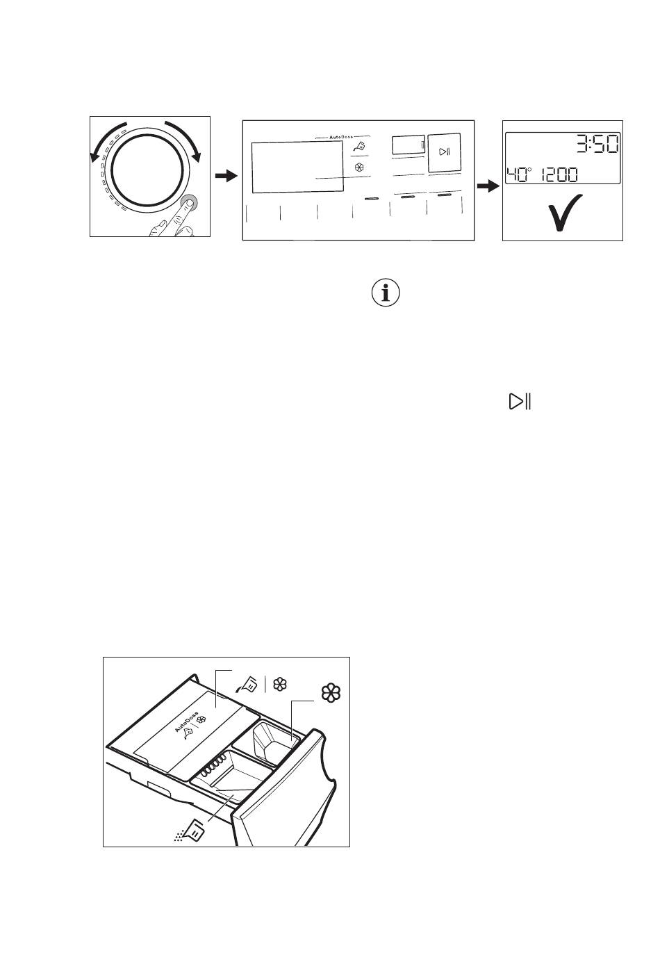
• Draai de programmaknop om het
gewenste wasprogramma in te stellen
(2).
• Stel de gewenste opties in met de
overeenkomstige tiptoetsen (3).
• Plaats het wasgoed in de trommel,
één item tegelijk zonder
overschrijding van de maximale
voorgestelde lading. Sluit de deur en
zorg ervoor dat er geen wasgoed
tussen de deur blijft klemmen.
• Bij gebruik van AutoDose-tanks
worden het wasmiddel en de
wasverzachter automatisch geüpload.
Zorg ervoor dat de tanks niet leeg
zijn.
Bij gebruik van handmatige
compartimenten giet u het
wasmiddel en andere behandelingen
in het juiste compartiment.
(Manual)
2
1
3
3
AutoDose
Manual
4
3
3
3
3
3
3
3
3
3
Bij gebruik van een
vloeibaar wasmiddel in
het handmatige
compartiment, plaats je
de container voor
vloeibaar wasmiddel.
• Om het programma te starten, druk
op de Start/Pauze
• Het apparaat start.
• Neem aan het einde van het
programma het wasgoed er uit.
• Druk op deAan/Uit -toets om het
apparaat uit te zetten.
-toets (4).
Inhoudsopgave
loading

Inhoudsopgave