TFA 35.1089.IT - Handleiding Weerstation
- 1 INLEIDING
- 2 ONDERDELEN
- 3 HOE DE BATTERIJEN TE PLAATSEN EN TE VERVANGEN IN DE TEMPERATUURZENDER
- 4 HOE DE BATTERIJEN TE PLAATSEN EN TE VERVANGEN IN HET WEERSTATION
- 5 INSTALLATIE
- 6 DCF RADIO GESTUURDE TIJD
- 7 FUNCTIETOETSEN
- 8 WEERSVOORSPELLING EN TENDENS
- 9 DE WEERSTRENDINDICATOR
- 10 BINNENTEMPERATUUR EN MIN/MAX RECORDS
- 11 BUITENTEMPERATUUR EN MIN/MAX RECORDS
- 12 HET RESETTEN VAN DE BINNEN- EN BUITEN MIN/MAX RECORDS
- 13 868 MHz ONTVANGST CONTROLE
- 14 ONDERHOUD
- 15 STORING
- 16 AFVALVERWIJDERING
- 17 SPECIFICATIES
- 18 Referenties
- 19 Download handleiding
- 20 In andere talen

INLEIDING
Hartelijk dank voor het kiezen van dit draadloze weerstation van TFA.
VOORDAT U HET GEBRUIKT
Zorg ervoor dat u de handleiding zorgvuldig leest.
Deze informatie helpt u vertrouwd te raken met uw nieuwe apparaat, al zijn functies en onderdelen te leren kennen, belangrijke details te ontdekken over het eerste gebruik en de bediening ervan, en advies te krijgen in geval van storingen.
Het opvolgen van de handleiding voorkomt schade aan het apparaat en verlies van uw wettelijke rechten als gevolg van defecten door onjuist gebruik.
Wij zijn niet aansprakelijk voor schade die ontstaat als gevolg van het niet opvolgen van deze instructies.
Let in het bijzonder op de veiligheidsadviezen!
Bewaar deze handleiding voor toekomstig gebruik.
LEVERINGSOMVANG
- Weerstation (basiseenheid)
- Buitenzender
- Handleiding
TOEPASSINGSGEBIED EN ALLE VOORDELEN VAN UW NIEUWE WEERSTATION IN ÉÉN OOGOPSLAG
- DCF-77 radiogestuurde tijdfunctie met handmatige tijdinstellingsopties
- DCF-tijdontvangst AAN/UIT
- 24-uursweergave
- Alarmfunctie met snooze
- Tijdzone +/- 12 uur
- Temperatuurweergave in graden Celsius (°C)
- Binnen- en buitentemperatuur met MIN/MAX-records
- Handmatige reset van MIN/MAX-records
- 3 weersvoorspellingen met weertendensindicator
- Draadloze transmissie op 868 MHz
- Signaalontvangstintervallen van 4 seconden
- Indicator batterij bijna leeg
- Wandmontage of tafelstandaard (uitklapbare standaard)
VOOR UW VEILIGHEID
- Het product is uitsluitend bedoeld voor het hierboven beschreven toepassingsgebied. Het product mag alleen worden gebruikt zoals beschreven in deze instructies.
- Ongeautoriseerde reparaties, aanpassingen of wijzigingen aan het product zijn verboden.
Risico op letsel:
- Houd dit instrument en de batterijen buiten bereik van kinderen.
- Batterijen mogen niet in het vuur worden gegooid, worden kortgesloten, uit elkaar worden gehaald of worden opgeladen. Explosiegevaar!
- Batterijen bevatten schadelijke zuren. Lege batterijen moeten zo snel mogelijk worden vervangen om schade door lekkage te voorkomen.
- Gebruik nooit een combinatie van oude en nieuwe batterijen samen, noch batterijen van verschillende typen. Draag chemicaliënbestendige beschermende handschoenen en een veiligheidsbril bij het hanteren van lekkende batterijen.
over productveiligheid!
- Stel het instrument niet bloot aan extreme temperaturen, trillingen of schokken.
- De buitenzender is beschermd tegen spatwater, maar is niet waterdicht. Kies een schaduwrijke en droge plaats voor de zender.
ONDERDELEN
Het Weerstation

De Buitentemperatuurzender

- Remote transmissie van buitentemperatuur naar weerstation door middel van 868 MHz signalen
- Spatwaterdichte behuizing
- Wandmontage en tafelstandaard
HOE DE BATTERIJEN TE PLAATSEN EN TE VERVANGEN IN DE TEMPERATUURZENDER

De temperatuurzender gebruikt 2 x AA, IEC LR6, 1.5V batterijen. Om de batterijen te plaatsen en te vervangen, volg de onderstaande stappen:
- Verwijder het batterijvakdeksel aan de achterkant van de zender.
- Plaats de batterijen, let op de juiste polariteit (zie markering).
- Plaats het batterijvakdeksel terug op het apparaat.
HOE DE BATTERIJEN TE PLAATSEN EN TE VERVANGEN IN HET WEERSTATION

Het weerstation gebruikt 3 x AA, IEC LR6, 1.5V batterijen. Wanneer de batterijen moeten worden vervangen, verschijnt het pictogram voor een bijna lege batterij op het LCD-scherm. Om de batterijen te plaatsen en te vervangen, volg de onderstaande stappen:
- Til het batterijvakdeksel op.
- Plaats de batterijen, let op de juiste polariteit (zie markering).
- Plaats het vakdeksel terug.
Batterij vervanging
- Vervang de batterijen wanneer het batterijsymbool van het weerstation boven de binnentemperatuur verschijnt.
- Wanneer de batterijen van de zender leeg zijn, verschijnt het pictogram voor een bijna lege batterij boven de buitentemperatuurweergave.
Opmerking:
In het geval van het vervangen van batterijen in een van de eenheden, moeten alle eenheden opnieuw worden ingesteld door de installatieprocedures te volgen. Dit komt omdat een beveiligingscode wordt toegewezen door de zender bij het opstarten en deze code moet worden ontvangen en opgeslagen door het Weerstation in de eerste 3 minuten nadat het van stroom is voorzien.
INSTALLATIE
Let op: Dit weerstation ontvangt slechts één buitenzender.
- Plaats eerst de batterijen in de Temperatuurzender. (zie "Batterijen plaatsen en vervangen in de temperatuurzender").
- Direct daarna en binnen 30 seconden, plaats de batterijen in het Weerstation (zie "Batterijen plaatsen en vervangen in het weerstation"). Zodra de batterijen zijn geplaatst, lichten alle segmenten van het LCD-scherm kort op. Vervolgens wordt de tijd als 0:00 en het weerpictogram weergegeven. Als dit na 60 seconden niet wordt weergegeven, verwijder dan de batterijen en wacht minstens 30 seconden voordat u ze opnieuw plaatst.
- Na het plaatsen van de batterijen begint het Weerstation met het ontvangen van gegevens van de zender. De buitentemperatuur en het signaalontvangstpictogram moeten dan op het Weerstation worden weergegeven. Als dit na 3 minuten niet gebeurt, moeten de batterijen uit beide eenheden worden verwijderd en opnieuw worden ingesteld vanaf stap 1.
- Om voldoende 868 MHz-transmissie te garanderen, mag er onder goede omstandigheden echter niet meer dan 100 meter afstand zijn tussen de uiteindelijke positie van het weerstation en de zender (zie opmerkingen over "Montage" en "868 MHz Ontvangst").
- Zodra de externe temperatuur is ontvangen en weergegeven op het weerstation, wordt de DCF-tijd (radiogestuurde tijd) code-ontvangst automatisch gestart. Dit duurt doorgaans tussen de 3-5 minuten onder goede omstandigheden.
DCF RADIO GESTUURDE TIJD
De tijdbasis voor de radiogestuurde tijd is een Cesium Atomic Clock die wordt beheerd door de Physikalisch Technische Bundesanstalt Braunschweig met een tijdafwijking van minder dan één seconde in een miljoen jaar. De tijd is gecodeerd en wordt verzonden vanuit Mainflingen bij Frankfurt via frequentiesignaal DCF-77 (77,5 kHz) en heeft een zendbereik van ongeveer 1.500 km. Uw radiogestuurde weerstation ontvangt dit signaal en converteert het om de exacte tijd in zomer- of wintertijd weer te geven.
De kwaliteit van de ontvangst is sterk afhankelijk van de geografische locatie. In normale gevallen mogen er geen ontvangstproblemen zijn binnen een straal van 1.500 km van Frankfurt.
DCF-ontvangst gebeurt twee keer per dag om 02:00 en 03:00 uur. Als de ontvangst om 03:00 uur niet succesvol is, vindt de volgende ontvangst het volgende uur plaats, enzovoort tot 06:00 uur, of totdat de ontvangst succesvol is. Als de ontvangst om 06:00 uur niet succesvol is, vindt de volgende poging de volgende dag om 02:00 uur plaats.
Als het torenpictogram knippert, maar de tijd niet instelt of de DCF-toren helemaal niet verschijnt, let dan op het volgende:
- Aanbevolen afstand tot storende bronnen zoals computermonitoren of tv-toestellen is minimaal 1,5 - 2 meter.
- In ruimtes van gewapend beton (kelders, opbouwen) wordt het ontvangen signaal van nature verzwakt. Plaats in extreme gevallen het apparaat dicht bij een raam en/of richt de voor- of achterkant ervan naar de Frankfurt-zender.
- Tijdens de nacht zijn de atmosferische storingen meestal minder ernstig en is ontvangst in de meeste gevallen mogelijk. Een enkele dagelijkse ontvangst is voldoende om de nauwkeurigheidsafwijking onder de 1 seconde te houden.
FUNCTIETOETSEN
Weerstation
Het weerstation heeft vier eenvoudig te gebruiken functietoetsen.

SET key (SET-toets)
- Druk op de toets om de handmatige instelmodi te openen: Tijdzone, Tijdsontvangst AAN/UIT en Handmatige tijd
- Stop het alarm
+ key (+-toets)
- Om aanpassingen te maken voor verschillende instellingen
- Stop het alarm
ALARM key (ALARM-toets)
- Open de alarm instelmodus
- Schakel het alarm AAN/UIT
- Stop het alarm
MIN/MAX RESET key (MIN/MAX RESET-toets)
- Houd ingedrukt om de MIN/MAX temperatuurrecords te resetten
- Activeer de snooze (sluimerstand)
- Verlaat de handmatige instelmodi
LCD-SCHERM EN INSTELLINGEN

* Wanneer het buitensignaal succesvol is ontvangen door het weerstation, wordt dit icoon ingeschakeld. (Indien niet succesvol, wordt het icoon niet weergegeven in LCD) Zo kan de gebruiker gemakkelijk zien of de laatste ontvangst succesvol was (icoon aan) of niet (icoon uit).
HANDMATIGE INSTELLINGEN
De volgende handmatige instellingen kunnen worden gedaan in de instelmodus:
- Tijdzone
- Tijdsontvangst DCF AAN/UIT
- Handmatige tijd
Houd de SET (SET-toets) toets ongeveer 3 seconden ingedrukt om naar de instelmodus te gaan:
TIJDZONE INSTELLING

De standaard tijdzone is "0" uur. Om een andere tijdzone in te stellen:
- De huidige tijdzone waarde begint te knipperen.
- Gebruik de + (+-toets) toets om de tijdzone in te stellen. Het bereik loopt van 0, -1, -2... -12, 12, 11, 10... 2, 1, 0, in opeenvolgende intervallen van 1 uur.
- Bevestig met de SET (SET-toets) toets en ga naar de Tijdsontvangst Aan/Uit instelling.
TIJDSONTVANGST AAN/UIT INSTELLING
In gebieden waar ontvangst van de radiogestuurde tijd (DCF-tijd) niet mogelijk is, kan de tijdsontvangstfunctie worden uitgeschakeld (OFF). De klok zal dan werken als een normale Quartz-klok. (Standaard instelling is AAN).
- Het cijfer "ON" (AAN) begint te knipperen op het LCD.
- Gebruik de + (+-toets) toets om de tijdsontvangstfunctie indien nodig uit te schakelen (OFF).
- Bevestig met de SET (SET-toets) toets en ga naar de Handmatige tijd instelling.
Let op:
Als de tijdsontvangstfunctie handmatig is uitgeschakeld (OFF), zal de klok geen poging doen om de radiogestuurde tijd (DCF-tijd) te ontvangen zolang de tijdsontvangst OFF-functie is geactiveerd. Het tijdsontvangsticoon en het DCF-icoon worden niet weergegeven op het LCD.
HANDMATIGE TIJD INSTELLING
In het geval dat het weerstation niet in staat is om het radiogestuurde tijd (DCF-tijd) signaal te detecteren (storingen, zendafstand, enz.), kan de tijd handmatig worden ingesteld. De klok zal dan werken als een normale Quartz-klok.

Om de klok in te stellen:
- De uurcijfers beginnen te knipperen in het tijdweergavegedeelte.
- Gebruik de + (+-toets) toets om de uren aan te passen en druk vervolgens op de SET (SET-toets) toets om naar de minuutinstelling te gaan.
- De minuut zal knipperen. Druk op de + (+-toets) toets om de minuten in te stellen.
- Bevestig met de SET (SET-toets) toets en verlaat de instelmodus.
Let op:
Het apparaat zal nog steeds proberen het signaal te ontvangen ondanks een handmatige instelling. Wanneer het signaal wordt ontvangen, wordt de handmatig ingestelde tijd automatisch vervangen door de ontvangen tijd. Tijdens ontvangst pogingen knippert het DCF-toren icoon. Als de ontvangst niet succesvol is geweest, verschijnt het DCF-toren icoon niet, maar er wordt nog steeds een poging tot ontvangst gedaan.
ALARM INSTELLING
Om het alarm in te stellen:
- Houd ALARM (ALARM-toets) ongeveer 3 seconden ingedrukt totdat de alarmtijdweergave knippert.
- Het uurcijfer en het alarm icoon zullen knipperen. Druk op de + (+-toets) toets om het uur aan te passen.
- Druk eenmaal op de ALARM (ALARM-toets) knop en het minuutcijfer zal knipperen. De gebruiker moet vervolgens op de + (+-toets) knop drukken om de minuut in te stellen.
- Druk eenmaal op de ALARM (ALARM-toets) knop om de instelling te bevestigen.
- Om de alarmfunctie te activeren/deactiveren, drukt u eenmaal op de ALARM (ALARM-toets) knop. De weergave van het alarm icoon geeft aan dat het alarm "ON" (AAN) is.
Let op: De duur van het alarmgeluid is 85 seconden
OM DE SNOOZE (SLUIMERSTAND) FUNCTIE TE ACTIVEREN EN HET ALARM TE STOPPEN:
- Wanneer het alarm afgaat, drukt u op de MIN/MAX RESET (MIN/MAX RESET-toets) toets om de snooze (sluimerstand) functie te activeren. Het alarm stopt en wordt na het snooze (sluimerstand) interval van 10 minuten opnieuw geactiveerd.
- Om het alarm volledig te stoppen, drukt u op een andere toets dan de MIN/MAX RESET (MIN/MAX RESET-toets) toets.
WEERSVOORSPELLING EN TENDENS
DE WEERSVOORSPELLING ICONEN:
Er zijn 3 weericonen in het tweede gedeelte van het LCD die in een van de volgende combinaties kunnen worden weergegeven:

Sunny (Zonnig)
Cloudy with sunny intervals (Bewolkt met zonnige perioden)

Rainy (Regenachtig)
Voor elke plotselinge of significante verandering in de luchtdruk, worden de weericonen bijgewerkt om de verandering in het weer weer te geven. Als de iconen niet veranderen, betekent dit dat de luchtdruk niet is veranderd of dat de verandering te langzaam is geweest voor het weerstation om te registreren. Als het weergegeven icoon echter een zon of een regenwolk is, zal er geen verandering van icoon zijn als het weer beter (met zonnig icoon) of slechter (met regenachtig icoon) wordt, omdat de iconen al op hun uiterste staan.
De iconen geven weersvoorspellingen weer in termen van beter of slechter worden, en niet noodzakelijkerwijs zonnig of regenachtig zoals elk icoon aangeeft. Als het huidige weer bijvoorbeeld bewolkt is en het regenachtige icoon wordt weergegeven, betekent dit niet dat het product defect is omdat het niet regent. Het betekent eenvoudigweg dat de luchtdruk is gedaald en dat het weer naar verwachting slechter zal worden, maar niet noodzakelijkerwijs regenachtig.
Let op:
Na het instellen moeten de metingen voor weersvoorspellingen gedurende de komende 12-24 uur worden genegeerd. Dit geeft het weerstation voldoende tijd om luchtdrukgegevens te verzamelen op een constante hoogte en resulteert daarom in een nauwkeurigere voorspelling.
Zoals gebruikelijk bij weersvoorspellingen, kan absolute nauwkeurigheid niet worden gegarandeerd. De weersvoorspellingsfunctie heeft naar schatting een nauwkeurigheid van ongeveer 75% vanwege de verschillende gebieden waarvoor het weerstation is ontworpen. In gebieden waar plotselinge veranderingen in het weer optreden (bijvoorbeeld van zonnig naar regen), zal het weerstation nauwkeuriger zijn in vergelijking met gebruik in gebieden waar het weer het grootste deel van de tijd stagneert (bijvoorbeeld meestal zonnig).
Als het weerstation wordt verplaatst naar een andere locatie die aanzienlijk hoger of lager is dan het oorspronkelijke standpunt (bijvoorbeeld van de begane grond naar de bovenste verdiepingen van een huis), verwijder dan de batterijen en plaats ze na ongeveer 30 seconden opnieuw. Door dit te doen, zal het weerstation de nieuwe locatie niet verwarren met een mogelijke verandering in de luchtdruk, terwijl dit in werkelijkheid te wijten is aan de lichte verandering van hoogte. Negeer opnieuw de weersvoorspellingen voor de komende 12 tot 24 uur, omdat dit tijd geeft voor een constante hoogte.
DE WEERSTRENDINDICATOR
De weerstrendindicatoren (aan de linker- en rechterkant van de weericonen) werken samen met de weericonen. Wanneer de indicator naar boven wijst, betekent dit dat de luchtdruk toeneemt en het weer naar verwachting zal verbeteren, maar wanneer de indicator naar beneden wijst, daalt de luchtdruk en wordt verwacht dat het weer slechter wordt.
Rekening houdend hiermee, zult u zien hoe het weer is veranderd en hoe het naar verwachting zal veranderen. Als de indicator bijvoorbeeld naar beneden wijst samen met bewolkte en zonne-iconen, dan was de laatste merkbare verandering in het weer toen het zonnig was (alleen zonne-icoon). Daarom zal de volgende verandering in het weer de wolk met regeniconen zijn, aangezien de indicator naar beneden wijst.
Let op:
Zodra de weerstrendindicator een verandering in de luchtdruk heeft geregistreerd, blijft deze permanent gevisualiseerd op het LCD.
BINNENTEMPERATUUR EN MIN/MAX RECORDS
De binnentemperatuur en de MIN/MAX records van de binnentemperatuur worden weergegeven in het laatste gedeelte van het LCD.

Let op: De MIN/MAX binnentemperatuurbereik is -9ºC tot + 38ºC met een resolutie van 1°C.
BUITENTEMPERATUUR EN MIN/MAX RECORDS
De buitentemperatuur en de MIN/MAX records van de buitentemperatuur worden weergegeven in het laatste gedeelte van het LCD.
Let op: De MIN/MAX buitentemperatuur resolutie is bereik -40ºC tot + 60ºC met een resolutie van 1°C.
HET RESETTEN VAN DE BINNEN- EN BUITEN MIN/MAX RECORDS
Let op: Alle MIN/MAX records worden tegelijkertijd gereset.
- In de normale weergavemodus, houdt u de MIN/MAX RESET (MIN/MAX RESET-toets) toets 3 seconden ingedrukt. Dit reset de binnen- en buiten MIN/MAX temperaturen.
868 MHz ONTVANGST CONTROLE
Het weerstation moet de temperatuurgegevens binnen 3 minuten na de installatie ontvangen. Als de temperatuurgegevens niet 3 minuten na de installatie worden ontvangen (niet continu succesvol, het buitendisplay toont "- - -" ), controleer dan de volgende punten:
- De afstand van het weerstation of de zender moet minstens 1,5 tot 2 meter verwijderd zijn van storende bronnen zoals computermonitoren of tv-toestellen.
- Vermijd het plaatsen van het weerstation op of in de onmiddellijke nabijheid van metalen raamkozijnen.
- Het gebruik van andere elektrische producten zoals hoofdtelefoons of luidsprekers die op dezelfde signaalfrequentie (868MHz) werken, kan een correcte signaaloverdracht en -ontvangst verhinderen.
- Buren die elektrische apparaten gebruiken die op de 868MHz signaalfrequentie werken, kunnen ook storing veroorzaken.
Let op:
Wanneer het 868MHz-signaal correct wordt ontvangen, open dan niet opnieuw de batterijklep van de zender of het weerstation, omdat de batterijen uit de contacten kunnen springen en een valse reset kunnen veroorzaken. Mocht dit per ongeluk gebeuren, reset dan alle units (zie hierboven onder "Setting up" (Instellen)), anders kunnen er transmissieproblemen optreden.
Het zendbereik is ongeveer 100 m van de zender naar het weerstation (in de open ruimte). Dit is echter afhankelijk van de omgeving en de storingsniveaus. Als er geen ontvangst mogelijk is ondanks het in acht nemen van deze factoren, moeten alle systeemunits worden gereset (zie "Setting up" (Instellen)).
HET WEERSTATION POSITIONEREN:
Het weerstation kan eenvoudig aan de muur worden gehangen of vrijstaand worden geplaatst.
Kies een beschutte plaats. Vermijd directe regen en zonlicht.
Controleer voor de wandmontage of de buitentemperatuurwaarden kunnen worden ontvangen vanaf de gewenste locaties.
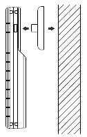
Wandmontage

- Bevestig een schroef (niet meegeleverd) in de gewenste muur en laat de kop ongeveer 5 mm uitsteken.
- Verwijder de standaard van het weerstation door deze van de basis weg te trekken en hang het station aan de schroef. Zorg ervoor dat het op zijn plaats klikt voordat u het loslaat.
Vrijstaand

Met de uitklapbare standaard kan het weerstation op elk vlak oppervlak worden geplaatst.
DE TEMPERATUURZENDER POSITIONEREN:

De zender wordt geleverd met een houder die met de twee meegeleverde schroeven aan een muur kan worden bevestigd. De zender kan ook op een vlakke ondergrond worden geplaatst door de standaard aan de onderkant van de zender te bevestigen.
Voor wandmontage:

- Bevestig de beugel aan een gewenste muur met behulp van de schroeven en plastic pluggen.
- Klik de externe temperatuursensor op de beugel.
Let op:
Plaats alle units op de gewenste locaties voordat u de wandbasis van de zender definitief bevestigt om te controleren of de buitentemperatuur kan worden ontvangen. Als het signaal niet wordt ontvangen, verplaatst u de zenders of verplaatst u ze iets, omdat dit de signaalontvangst kan helpen.
ONDERHOUD
- Reinig het instrument en de zender met een zachte, vochtige doek. Gebruik geen oplosmiddelen of schuurmiddelen. Bescherm tegen vocht.
- Verwijder de batterijen als u het product gedurende langere tijd niet gebruikt.
STORING
| Problemen | Probleemoplossing |
| Geen indicatie op het weerstation |
|
| Geen zenderontvangst Display "---" |
|
| Geen DCF-ontvangst |
|
| Incorrecte weergave |
|
AFVALVERWIJDERING
Dit product is vervaardigd met behulp van hoogwaardige materialen en componenten die kunnen worden gerecycled en hergebruikt.

Gooi lege batterijen en oplaadbare batterijen nooit bij het huisvuil.
Als consument bent u wettelijk verplicht om ze naar uw winkel of naar geschikte inzamelpunten te brengen in overeenstemming met de nationale of lokale voorschriften om het milieu te beschermen. De symbolen voor de zware metalen die ze bevatten zijn: Cd=cadmium, Hg=kwik, Pb=lood

Dit instrument is gelabeld in overeenstemming met de EU-richtlijn afgedankte elektrische en elektronische apparatuur (AEEA). Gooi dit product niet weg met ander huishoudelijk afval. De gebruiker is verplicht om apparaten aan het einde van hun levensduur naar een aangewezen inzamelpunt te brengen voor de verwijdering van elektrische en elektronische apparatuur, om een milieuvriendelijke verwijdering te garanderen.
SPECIFICATIES
Aanbevolen bedrijfstemperatuurbereik : 0ºC tot 50ºC
Temperatuurmeetbereik:
Binnen: -9,9ºC tot +37,8ºC met 0,1ºC resolutie ("OF.L" wordt weergegeven indien buiten dit bereik)
Buiten: -39,9ºC tot +59,9ºC met 0,1ºC resolutie ("OF.L" wordt weergegeven indien buiten dit bereik)
Controle-interval binnentemperatuur: elke 16 seconden
Ontvangst van buitengegevens: elke 4 seconden
Transmissiefrequentie: 868 Mhz
Maximaal radiofrequentievermogen: <25mW
Stroomverbruik:
Weerstation: 3 x AA, IEC, LR6, 1,5V
Temperatuurzender: 2 x AA, IEC, LR6, 1,5V
Levensduur batterij (alkalinebatterijen aanbevolen): ca. 24 maanden
Afmetingen (L x B x H):
Weerstation: 118,4 x 28 x 137,4mm
Temperatuurzender: 38,2 x 21,2 x 128,3 mm
Geen enkel deel van deze handleiding mag worden gereproduceerd zonder schriftelijke toestemming van TFA Dostmann. De technische gegevens zijn correct op het moment van drukken en kunnen zonder voorafgaande kennisgeving worden gewijzigd.
De meest recente technische gegevens en informatie over uw product zijn te vinden door uw productnummer in te voeren op onze homepage.
EU-conformiteitsverklaring
Hierbij verklaart TFA Dostmann dat het type radioapparatuur 35.1089 in overeenstemming is met Richtlijn 2014/53/EU.
De volledige tekst van de EU-conformiteitsverklaring is beschikbaar op het volgende internetadres: www.tfa-dostmann.de E-Mail: info@tfa-dostmann.de
TFA Dostmann GmbH & Co. KG, Zum Ottersberg 12, D-97877 Wertheim,
Duitsland

Referenties
Download handleiding
Hier kunt u de volledige pdf-versie van de handleiding downloaden. Deze kan aanvullende veiligheidsinstructies, garantie-informatie, FCC-regels, enz. bevatten.
Download TFA 35.1089.IT - Handleiding Weerstation