Download Inhoudsopgave Inhoud Print deze pagina

Menu-Item P; Menu-Item S: Gast; Menu-Item T: Gas - Bora Classic 2.0 Bedieningshandleiding

Verberg thumbnails Zie ook voor Classic 2.0:
Inhoudsopgave
6.3.1
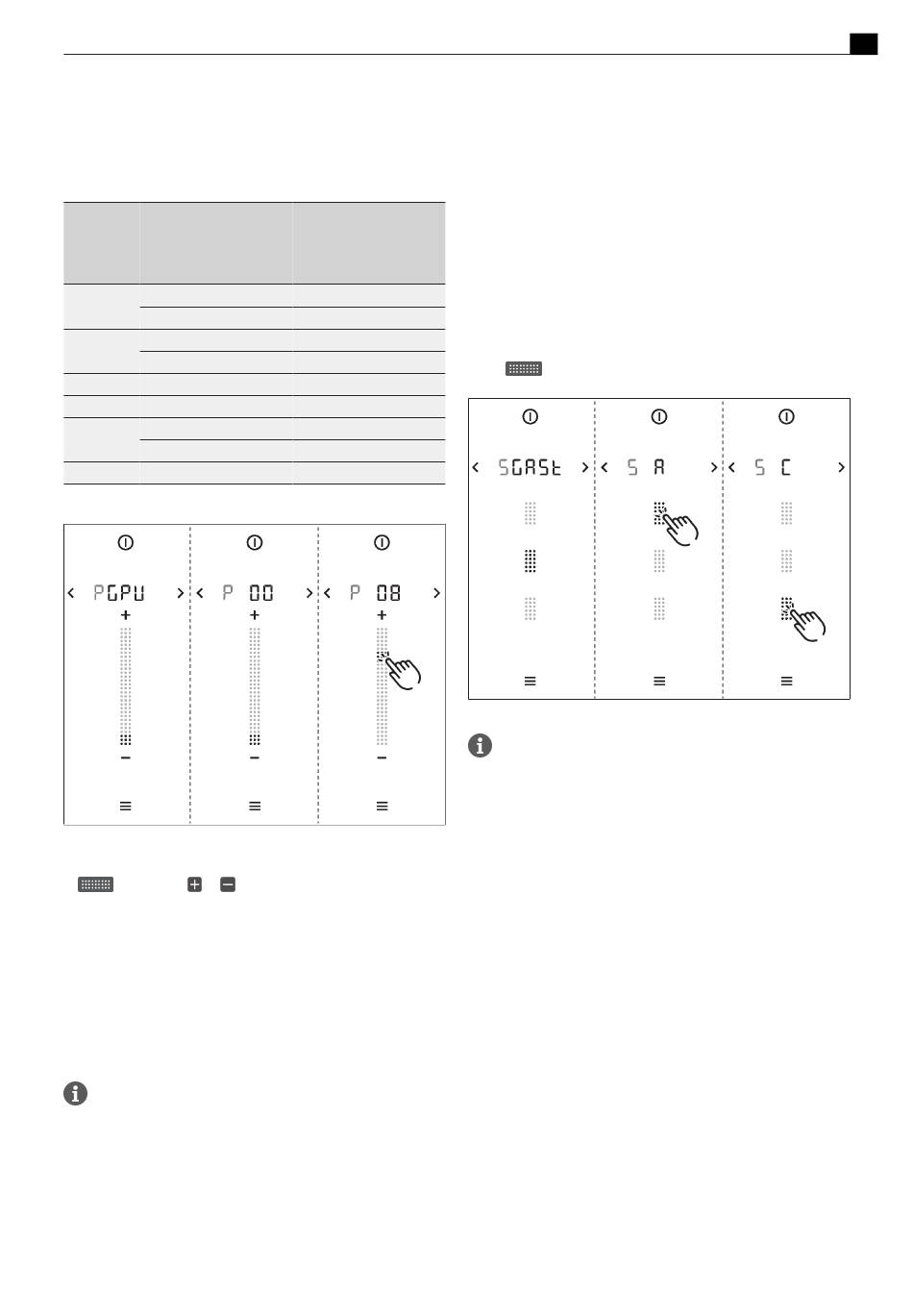
Menu-item P: PGU
Onder menu-item P (GPU) wordt het minimale vermogen per brander
en gassoort/-druk geregeld.
Instelling
Soort gas
Gasdruk
(mbar)
0
G20
20
G25
20
4
G30
29
G30/31
37
5
G30/31
50
10
G20
13
11
G25
25
G25,3
25
12
G20
25
Type gas en gasdruk instellen
Tab. 6.1
Afb. 6.5
Display menu-item P: GPU
u
Kies de juiste instelling. (Raak de overeenkomstige sliderzone aan
of stel in via
of
6.3.2

Menu-item S: GASt

Hier kunt u de merklijnen voor de gasbranders kiezen. De
karakteristieken regelen de laagste vermogenswaarden van de
gasbranders. De karakteristieken worden gebruikt om de laagste
vermogensniveaus aan te passen. Afhankelijk van de inbouwsituatie
en invloed van de kookveldafzuiging kan, indien nodig, de
karakteristiek worden aangepast:
Bij vloeibaar gas (G30/31) mogen alleen de merklijnen B en C
worden gebruikt.
Karakteristiek A:
A is de fijnste gradatie van vermogenswaarden, die alleen onder
ideale omstandigheden en enkel bij aardgas (G20, G25, G25.3) kan
worden ingesteld. Ideaal gezien is dat als:
T
er geen kookveldafzuiging wordt gebruikt;
T
bij gebruik van de kookveldafzuiging met luchtafvoer, het kookveld
voldoende geventileerd wordt;
bora.com
Ø SR-
Ø R-
brander/
brander /
normale
sterke
brander
brander
104
125
110
131
69
85
69
85
62
78
115
149
104
131
104
11
100
119
)
T
bij gebruik van de kookveldafzuiging met recirculatie, het kookveld
over een voldoende grote terugstroomopening beschikt en de
kookveldafzuiging geen negatieve invloed uitoefent op de gasvlam.
Karakteristiek B:
B is de fabrieksinstelling. Deze omvat een uitgebalanceerde gradatie
van de afzonderlijke vermogensniveaus.
Karakteristiek C:
C verhoogt de laagste vermogensniveaus en mag alleen worden
gebruikt als de kookveldafzuiging een negatieve invloed heeft.
Merklijn selecteren
Selecteer de juiste merklijn (raak de overeenkomstige sliderzone
u
aan
).
Afb. 6.6
Display menu-item S: GASt
Dooft de gasvlam, dan bewegen de vlammen aanzienlijk en/
of is het vlambeeld niet correct (bijv. roetvorming,
vlamterugslag enz.), dan moet de merklijn worden verhoogd
en moet desgewenst ook worden gezorgd voor meer ventilatie
bij gebruik met luchtafvoer of een grotere
terugstroomopening bij gebruik met recirculatie.
6.3.3

Menu-item T: GAS

De menuoptie biedt een resetfunctie. Deze resetfunctie kan worden
gebruikt in geval van storingen of fouten en bij een eerste
ingebruikname, wanneer het gaskookveld geen reactie vertoont (geen
ontsteking). De ingestelde waarden voor het type gas, de gasdruk en
de karakteristiek blijven ongewijzigd en veranderen niet bij een reset.
u
Reset indien nodig.
Uitgebreid menu
NL
41
Inhoudsopgave
loading

Inhoudsopgave