Download Inhoudsopgave Inhoud Print deze pagina

Beschrijving Van Het Bedieningspaneel (C) - Delonghi Pinguino Pacel92Hp Bedieningshandleiding

Inhoudsopgave
in
in het kozijn van een
de
venster
ruit
Monteer de flens voor wandbevestiging (B1) in het gat.
Monteer de luchtafvoerslang (B2) in de flens voor wandbe-
vestiging (B1) (Afb. 9)
Wanneer de slang (B2) niet is aangesloten, kan de opening
worden afgesloten met de dop van de flens (B1).
Let op: Aangezien de installatie speciaal gereedschap vereist,
raden wij aan om het apparaat te laten installeren door gespe-
cialiseerd personeel.
Tijdens de installatie van de airconditioner moet er een
deur van de ruimte geopend blijven op een kier van 1 cm
om een correcte ventilatie en druk in de ruimte te garande-
ren.
De luchtslang moet zo kort mogelijk zijn en geen bochten
hebben om belemmeringen te voorkomen.
in de muur: aange-
raden wordt
om het gedeelte van
de muur te isoleren
met geschikt isola-
tiemateriaal.
BEDIENING DOOR MIDDEL VAN HET BEDIE-
NINGSPANEEL
C12
C16
C8
C10
C13
C15
C3
C2

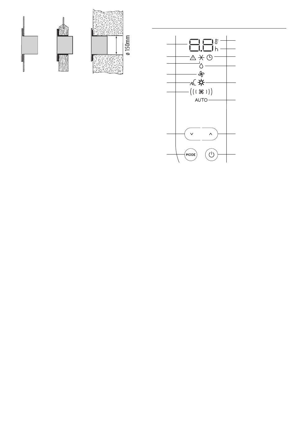
BESCHRIJVING VAN HET BEDIENINGSPANEEL (C)

C1 Toets ON/STAND-BY (on/off)
C2 Keuzetoets MODUS (airconditioning, ontvochtiging, venti-
lator, verwarming)
C3 Toets verlagen
C4 Toets verhogen
C5 Indicator temperatuur
C6 Indicator timer
C7 Symbool timer
C8 Symbool airconditioning
C9 Symbool ontvochtiging
C10 Symbool ventilator
C11 Symbool verwarming (alleen in sommige modellen)
C12 Ingestelde temperatuurwaarden, geprogrammeerde tijd
aan/uit
C13 Symbool SILENT (geluidsniveau)
C14 Indicator Auto
C15 Indicatoren luchtstroom
C16 Symbool Alarm
36
C5
C6
C7
C9
C11
C14
C4
C1
Inhoudsopgave
loading

Inhoudsopgave