Download Inhoudsopgave Inhoud Print deze pagina

Brandstofleidingkoppelstuk; Brandstofmeter; Brandstoftankdop; Ontluchtingsschroef - Yamaha F9.9F Gebruikershandleiding

Verberg thumbnails Zie ook voor F9.9F:
Inhoudsopgave
3

1. Ontluchtingsschroef

2. Brandstofmeter

3. Brandstofleiding koppelstuk
4. Brandstoftankkap
DMU25830

Brandstofleidingkoppelstuk

Dat koppelstuk wordt gebruik om de brand-
stofleiding te verbinden.
DMU25841
Brandstofmeter
Deze meter is gesitueerd op de tankdop of op
de basis van het brandstofleidingkoppelstuk.
Deze geeft de resterende hoeveelheid brand-
stof in de tank bij benadering aan.
DMU25850

Brandstoftankdop

Die dop sluit de brandstoftank af. Als hij ver-
wijderd is, kan de tank worden gevuld met
brandstof. Om de dop te verwijderen moet hij
tegen de wijzers van de klok in worden ge-
draaid.
DMU25860
Ontluchtingsschroef
Die schroef bevindt zich op de brandstof-
tankdop. Om ze los te draaien moet ze tegen
de wijzers van de klok in worden gedraaid.
DMU26180

Afstandsbediening

De afstandsbedieningshendel bedient zowel
de schakelhendel als de gashendel. De elek-
trische schakelaars zijn op het afstandsbedie-
ningskastje gemonteerd.
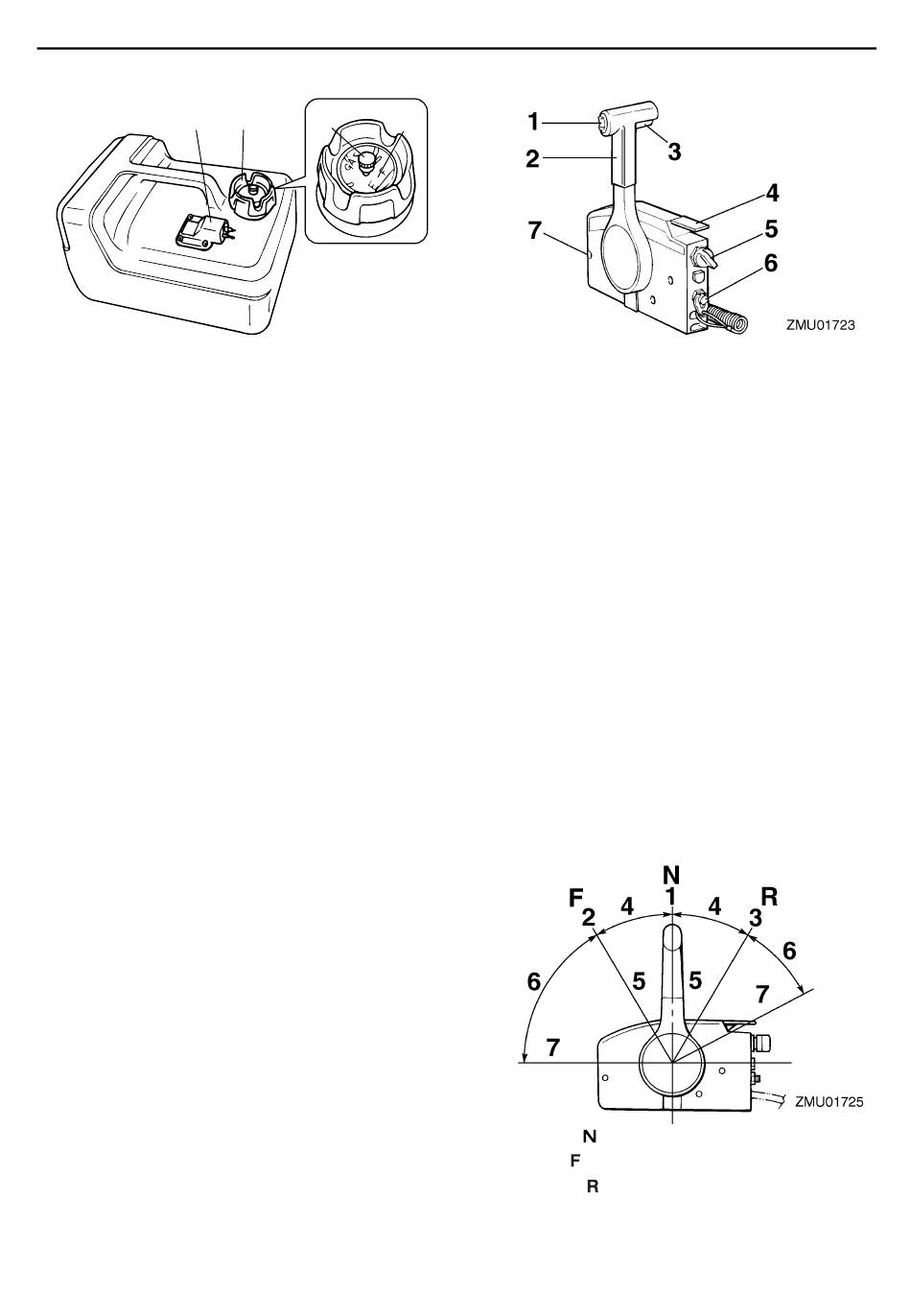
4
1
2
ZMU01992
Basiscomponenten
1. Kantelbekrachtigingsschakelaar

2. Afstandsbedieningshendel

3. Neutraalvergrendelingstrekker
4. Neutraal-gashendel
5. Hoofdschakelaar / chokeschakelaar
6. Motoruitschakelaar
7. Gashendelfrictieafstelling
DMU26190
Afstandsbedieningshendel
Door de hendel naar voor te duwen vanuit de
neutrale stand wordt de vooruitversnelling in-
geschakeld. Door de hendel naar achter te
trekken vanuit de neutrale stand wordt de
achteruitversnelling ingeschakeld. De motor
blijft in vrijloop staan tot de hendel ongeveer
35° wordt verplaatst; (er is een palletje te voe-
len). Door de hendel verder te duwen wordt
de gasklep geopend en de motor begint te ac-
celereren.
1. Neutraal " "
2. Vooruit " "
3. Achteruit " "
4. Schakelen
16
Inhoudsopgave
loading

Deze handleiding is ook geschikt voor:

Ft9.9g

Inhoudsopgave