Predator 8750 Watt, 57480 - Inverter Generator Handleiding

Veiligheid
Bewaar deze handleiding. Bewaar deze handleiding voor de veiligheidswaarschuwingen en voorzorgsmaatregelen, montage, bediening, inspectie, onderhoud en reinigingsprocedures. Noteer het serienummer van het product achter in de handleiding bij het montageschema (of de maand en het jaar van aankoop als het product geen nummer heeft). Bewaar deze handleiding en het aankoopbewijs op een veilige en droge plaats voor toekomstig gebruik.
Het gebruik van een generator binnenshuis KAN U BINNEN ENKELE MINUTEN DODEN.
Generatoruitlaat bevat koolmonoxide. Dit is een vergif dat u niet kunt zien of ruiken.

Gebruik NOOIT in een huis of garage, ZELFS NIET als deuren en ramen openstaan.

Gebruik alleen BUITEN en ver van ramen, deuren en ventilatieopeningen.
Lees dit materiaal voordat u dit product gebruikt. Het niet doen kan leiden tot ernstig letsel. BEWAAR DEZE HANDLEIDING.
Controleer bij het uitpakken of het product intact en onbeschadigd is. Als er onderdelen ontbreken of kapot zijn, bel dan zo snel mogelijk 1-888-866-5797.
| WAARSCHUWINGSSYMBOLEN EN DEFINITIES | |
| Dit is het veiligheidswaarschuwingssymbool. Het wordt gebruikt om u te waarschuwen voor mogelijke gevaren voor persoonlijk letsel. Neem alle veiligheidsberichten die op dit symbool volgen in acht om mogelijk letsel of overlijden te voorkomen. | |
| Geeft een gevaarlijke situatie aan die, indien niet vermeden, de dood of ernstig letsel tot gevolg zal hebben. | |
| Geeft een gevaarlijke situatie aan die, indien niet vermeden, de dood of ernstig letsel tot gevolg kan hebben. | |
| Geeft een gevaarlijke situatie aan die, indien niet vermeden, kan leiden tot licht of matig letsel. | |
![]() | Heeft betrekking op praktijken die geen verband houden met persoonlijk letsel. |
BELANGRIJKE VEILIGHEIDSINSTRUCTIES
BEWAAR DEZE INSTRUCTIES
Deze handleiding bevat belangrijke instructies die moeten worden gevolgd tijdens de installatie en het onderhoud van de Generator en eventuele batterijen.
Voorzorgsmaatregelen bij het opzetten
- Dit apparaat moet zo worden geïnstalleerd dat de toegang beperkt is tot alleen gekwalificeerd servicepersoneel dat is geïnstrueerd over de redenen voor de beperkingen die op de locatie worden toegepast en over alle voorzorgsmaatregelen die moeten worden genomen. Toegang moet plaatsvinden door middel van een speciaal gereedschap, of slot en sleutel, of andere beveiligingsmiddelen en moet worden gecontroleerd door de autoriteit die verantwoordelijk is voor de locatie.
- Benzine en dampen zijn ontvlambaar en potentieel explosief. Gebruik de juiste procedures voor brandstofopslag en -behandeling. Bewaar geen brandstof of andere ontvlambare materialen in de buurt.
- Houd meerdere brandblussers van de ABC-klasse in de buurt.
- De werking van deze apparatuur kan vonken veroorzaken die branden kunnen veroorzaken rond droge vegetatie. Een vonkenvanger kan vereist zijn. De bediener moet contact opnemen met de plaatselijke brandweer voor wetten of voorschriften met betrekking tot brandpreventie-eisen.
- Zet alleen op en gebruik alleen op een vlakke, horizontale, goed geventileerde ondergrond.
- Alle aansluitingen en leidingen van de Generator naar de belasting mogen alleen worden geïnstalleerd door getrainde en erkende elektriciens, en in overeenstemming met alle relevante lokale, staats- en federale elektrische codes en normen, en andere voorschriften waar van toepassing.
- Aansluitingen voor stand-by stroom op een elektrisch systeem van een gebouw moeten worden gemaakt door een gekwalificeerde elektricien. De aansluiting moet de Generator stroom isoleren van de netstroom en moet voldoen aan alle toepasselijke wetten en elektrische codes.
- Een transferschakelaar moet worden geïnstalleerd door een erkende elektricien in overeenstemming met alle toepasselijke wetten en elektrische codes.
- Draag een ANSI-goedgekeurde veiligheidsbril, zware werkhandschoenen en een stofmasker/ademhalingsapparaat tijdens het opzetten.
- Gebruik alleen smeermiddelen en brandstof die in deze handleiding worden aanbevolen.
- Onjuiste aansluitingen op een elektrisch systeem van een gebouw kunnen ervoor zorgen dat elektrische stroom van de Generator terugvloeit naar de nutsleidingen. Dergelijke terugvoeding kan werknemers van het nutsbedrijf of anderen die tijdens een stroomstoring in contact komen met de leidingen elektrocuteren, en de Generator kan exploderen, branden of branden veroorzaken wanneer de netstroom wordt hersteld. Raadpleeg het nutsbedrijf en een gekwalificeerde elektricien als u van plan bent de Generator te gebruiken voor back-upstroom.
- Bedien de Generator niet voordat deze is geaard. De Generator moet vóór gebruik in overeenstemming met alle relevante elektrische codes en normen aan de aarde worden geaard.
- Installeer koolmonoxidemelders met batterijback-up in nabijgelegen gebouwen volgens de instructies van de fabrikant.
Bedieningsvoorschriften
![Gevaar voor koolmonoxide]()
GEVAAR VOOR KOOLMONOXIDE
Het gebruik van een generator binnenshuis KAN BINNEN ENKELE MINUTEN DODELIJK ZIJN.
De uitlaatgassen van de generator bevatten koolmonoxide. Dit is een gif dat u niet kunt zien of ruiken.
![Gebruik NOOIT in een huis of garage, ZELFS NIET als deuren en ramen open staan.]()
Gebruik hem NOOIT in een huis of garage, ZELFS NIET als deuren en ramen open staan.
![Gebruik hem alleen BUITEN en ver van ramen, deuren en ventilatieopeningen.]()
Gebruik hem alleen BUITEN en ver van ramen, deuren en ventilatieopeningen.- KOOLMONOXIDE-AFSLUITING
OM ERNSTIG LETSEL EN OVERLIJDEN DOOR KOOLMONOXIDE-INADEMING TE VOORKOMEN: De koolmonoxidesensor is slechts een extra beschermingslaag. Gebruik de generator niet in een ruimte of situatie waarin koolmonoxide zich kan ophopen.
- KNIPPEREND ROOD LICHT: Er hebben zich gevaarlijke concentraties koolmonoxidegas opgebouwd en de generator wordt uitgeschakeld. Verlaat de ruimte onmiddellijk tot deze is gelucht. Verplaats de generator naar een goed geventileerde ruimte voordat u hem gebruikt.
- KNIPPEREND GEEL LICHT: Storing in de koolmonoxidesensor. De sensor heeft onderhoud nodig. Gebruik de generator niet voordat de sensor goed werkt. Voor technische vragen kunt u bellen met 1-888-866-5797.
OPMERKING: Geel licht knippert één keer na het starten om aan te geven dat de zelftest is geslaagd en dat de sensor normaal functioneert.
De koolmonoxidesensor mag alleen worden onderhouden door een gekwalificeerde technicus om de oorspronkelijke instellingen te herstellen. Wijzig of manipuleer de koolmonoxidesensor niet. Het niet opvolgen van deze instructies kan leiden tot de dood of ernstig letsel als gevolg van een storing in de koolmonoxidesensor.
- Gebruik een generator nooit binnenshuis, ook niet in garages, kelders, kruipruimtes en schuren. Het openen van deuren en ramen of het gebruik van ventilatoren voorkomt GEEN ophoping van koolmonoxide in huis.
- Houd generatoren bij gebruik buiten en uit de buurt van open deuren, ramen en ventilatieopeningen om te voorkomen dat er giftige hoeveelheden koolmonoxide binnenshuis ontstaan.
- Als u zich tijdens het gebruik van een generator ziek, duizelig of zwak begint te voelen, ga dan onmiddellijk naar de frisse lucht. De koolmonoxide van generatoren kan snel leiden tot volledig onvermogen en de dood.
- Houd kinderen uit de buurt van de apparatuur, vooral tijdens het gebruik.
- Houd alle toeschouwers op minstens zes voet afstand van de motor tijdens bedrijf.
- Raak de motor tijdens gebruik niet aan. Laat de motor na gebruik afkoelen.
- Bewaar nooit brandstof of andere ontvlambare materialen in de buurt van de motor.
- Brandgevaar! Vul de benzinetank niet bij terwijl de motor draait. Niet gebruiken als er benzine is gemorst. Maak gemorste benzine schoon voordat u de motor start. Niet gebruiken in de buurt van een waakvlam of open vuur.
- Als het aangesloten product abnormaal of ongewoon traag werkt, stop dan onmiddellijk met het gebruik van de generator als stroombron. Lees en volg altijd de instructiehandleiding van het product dat van stroom moet worden voorzien om er zeker van te zijn dat het veilig en efficiënt kan worden gevoed door een draagbare generator.
- Voordat u een apparaat of stroomkabel op de generator aansluit: Zorg ervoor dat deze in goede staat verkeert. Defecte apparaten of stroomkabels kunnen een risico op elektrische schokken veroorzaken.
- Overschrijd het maximale vermogen van de generator niet. Zorg ervoor dat het totale elektrische vermogen van alle gereedschappen of apparaten die tegelijkertijd op de generator zijn aangesloten, niet hoger is dan dat van de generator. Controleer of de opstartpiek de limiet van de generator niet overschrijdt. Vermogensniveaus tussen nominaal en maximaal mogen niet langer dan 30 minuten worden gebruikt.
- Vermijd aanzienlijke overbelasting, waardoor de stroomonderbreker wordt geactiveerd. Het overschrijden van de tijdslimiet voor maximaal vermogen of het licht overbelasten van de generator schakelt de stroomonderbreker of stroombeveiliging mogelijk niet UIT, maar verkort de levensduur van de generator wel.
- Probeer geen belastingsaansluitingen aan te sluiten of los te koppelen terwijl u in het water staat of op een natte of drassige ondergrond.
- Raak geen elektrisch bekrachtigde onderdelen van de generator en verbindingskabels of geleiders aan met een deel van het lichaam, of met een niet-geïsoleerd geleidend object.
- Sluit de generator alleen aan op een belasting of elektrisch systeem (120 volt of 240 volt) dat compatibel is met de elektrische kenmerken en het nominale vermogen van de generator.
- GFCI-VOORZORGSMAATREGELEN
Test de aardlekschakelaar (Ground Fault Circuit Interrupter, GFCI) vóór elk gebruik als volgt:- Koppel alle apparaten los van de generator.
- Start de motor.
- Druk op de testknop (Test button) op het stopcontact om de GFCI-inrichting te activeren.
- De resetknop (Reset button) moet uitsteken en de stroom naar het stopcontact onderbreken.
- Als de bovenstaande test mislukt, gebruik het stopcontact dan niet totdat het is gerepareerd of vervangen.
- Druk op de resetknop (Reset button) om hem te gebruiken.
Raadpleeg Aarding.
- Isoleer alle aansluitingen en losgekoppelde draden.
- Bescherm uzelf tegen elektrische schokken. Voorkom lichamelijk contact met geaarde oppervlakken zoals leidingen, radiatoren, fornuizen en koelkasten.
- Gebruik alleen een geschikt transportmiddel en hefwerktuigen met voldoende draagvermogen bij het transport van de generator.
- Zet de generator vast op transportvoertuigen om te voorkomen dat het gereedschap rolt, glijdt en kantelt.
- Industriële toepassingen moeten voldoen aan de OSHA-eisen.
- Laat de generator niet onbeheerd achter als hij draait. Schakel de generator uit (en verwijder indien beschikbaar de veiligheidssleutels) voordat u de werkplek verlaat.
- De generatormotor kan hoge geluidsniveaus produceren. Langdurige blootstelling aan geluidsniveaus boven 85 dBA is schadelijk voor het gehoor. Draag altijd gehoorbescherming bij het bedienen van of werken in de buurt van de gasmotor terwijl deze draait.
- Draag tijdens gebruik een ANSI-goedgekeurde veiligheidsbril, gehoorbescherming en een door NIOSH goedgekeurd stofmasker/ademhalingstoestel.
- Mensen met pacemakers moeten voor gebruik hun arts(en) raadplegen. Elektromagnetische velden in de nabijheid van een hartpacemaker kunnen storingen of uitval van de pacemaker veroorzaken. Voorzichtigheid is geboden in de buurt van de motor-magneto of de terugslagstarter.
- Gebruik alleen accessoires die door Harbor Freight Tools worden aanbevolen voor uw model. Accessoires die geschikt zijn voor een bepaald apparaat kunnen gevaarlijk worden bij gebruik op een ander apparaat.
- Niet gebruiken in explosieve omgevingen, zoals in de buurt van ontvlambare vloeistoffen, gassen of stof. Op benzine werkende motoren kunnen het stof of de dampen ontsteken.
- Houd geaarde geleidende objecten, zoals gereedschap, uit de buurt van blootliggende, onder spanning staande elektrische onderdelen en aansluitingen om vonken of vlambogen te voorkomen. Deze gebeurtenissen kunnen dampen of dampen ontsteken.
- Blijf alert, let op wat u doet en gebruik uw gezond verstand bij het bedienen van dit apparaat. Gebruik dit apparaat niet als u moe bent of onder invloed bent van drugs, alcohol of medicijnen.
- Kleed u op de juiste manier. Draag geen losse kleding of sieraden. Houd haar, kleding en handschoenen uit de buurt van bewegende onderdelen. Losse kleding, sieraden of lang haar kunnen vast komen te zitten in bewegende onderdelen.
- Onderdelen, met name onderdelen van het uitlaatsysteem, worden tijdens gebruik erg heet. Blijf uit de buurt van hete onderdelen.
- Bedek de generator of de motor niet tijdens bedrijf.
- Houd de generator, de motor en de omgeving te allen tijde schoon. Houd de generator op minstens 1,5 meter afstand van brandbare voorwerpen.
- Niet roken en geen vonken, vlammen of andere ontstekingsbronnen in de buurt van de apparatuur toestaan, vooral niet tijdens het tanken.
- Gebruik de generator, accessoires, enz. in overeenstemming met deze instructies en op de manier die bedoeld is voor het betreffende type apparatuur, rekening houdend met de werkomstandigheden en de uit te voeren werkzaamheden. Gebruik van de apparatuur voor andere dan de beoogde werkzaamheden kan leiden tot een gevaarlijke situatie.
- Gebruik de generator niet met bekende lekken in het brandstofsysteem van de motor.
- Wanneer er brandstof of olie wordt gemorst, moet dit onmiddellijk worden opgeruimd. Voer vloeistoffen en reinigingsmiddelen af volgens de lokale, provinciale of federale wet- en regelgeving. Bewaar oliedoeken in een bodemgeventileerde, afgedekte metalen container.
- Houd handen en voeten uit de buurt van bewegende onderdelen. Reik tijdens het gebruik niet over of door de generator.
- Controleer voor gebruik op verkeerde uitlijning of vastlopen van bewegende onderdelen, breuk van onderdelen en andere omstandigheden die de werking van de generator kunnen beïnvloeden. Laat de generator repareren voordat u hem gebruikt als hij beschadigd is. Veel ongelukken worden veroorzaakt door slecht onderhouden apparatuur.
- Gebruik de juiste generator voor de toepassing. Wijzig de generator of de motor niet en gebruik de generator niet voor een doel waarvoor hij niet is bedoeld.
- Verlengsnoer - Zorg ervoor dat uw verlengsnoer in goede staat is. Gebruik bij het gebruik van een verlengsnoer een verlengsnoer dat zwaar genoeg is om de stroom te dragen die uw product verbruikt. Een te klein verlengsnoer veroorzaakt een spanningsval, wat resulteert in vermogensverlies en oververhitting.
De onderstaande tabel toont de juiste snoerdikte die u moet gebruiken, afhankelijk van de snoerlengte en het nominale ampèrevermogen. Gebruik bij twijfel de volgende dikkere maat. Hoe kleiner het meetnummer, hoe dikker het snoer.
| AANBEVOLEN MINIMALE DRAADDIKTE VOOR VERLENGSNOEREN | |||||
| STROOM (AMpS) | Belasting @ 120V (WATT) | Belasting @ 240V (WATT) | 0 ~ 15 meter | 15 ~ 23 meter | 23 ~ 30 meter |
| 2 | 240 | 480 | 18 AWG | ||
| 4 | 480 | 960 | 18 AWG | 16 AWG | |
| 6 | 720 | 1440 | 18 AWG | 16 AWG | 14 AWG |
| 8 | 960 | 1920 | 16 AWG | 12 AWG | |
| 10 | 1200 | 2400 | 16 AWG | 14 AWG | 12 AWG |
| 15 | 1800 | 3600 | 14 AWG | 12 AWG | 10 AWG |
| 20 | 2400 | 4800 | 12 AWG | 10 AWG | |
| 25 | 3000 | 6000 | 12 AWG | 10 AWG | 8 AWG |
| 30 | 3600 | 7200 | 10 AWG | 8 AWG | |
| 35 | 4200 | 8400 | 8 AWG | 6 AWG | |
| 40 | 4800 | 9600 | 6 AWG | ||
Servicevoorzorgsmaatregelen
- Voor service, onderhoud of reiniging:
- Koppel alle apparaten los van de Generator.
- Zet de motorschakelaar in de "OFF" (UIT) stand.
- Laat de motor volledig afkoelen.
- Koppel de negatieve (-) accupool los.
- Verwijder vervolgens de bougiedop van de bougie.
- Houd alle veiligheidsvoorzieningen op hun plaats en in goede staat. Veiligheidsvoorzieningen omvatten onder andere de uitlaatdemper, het luchtfilter, mechanische beschermingen en hitteschilden.
- Zorg ervoor dat de Engine Switch (Motorschakelaar) in de "OFF" (UIT) stand staat voordat u de Generator verplaatst en voordat u service-, onderhouds- of reinigingsprocedures aan het apparaat uitvoert.
- Houd alle elektrische apparatuur schoon en droog. Vervang alle bedrading waarvan de isolatie is gebarsten, gesneden, geschuurd of anderszins aangetast. Vervang terminals die versleten, verkleurd of gecorrodeerd zijn. Houd terminals schoon en strak.
- Wijzig of pas geen enkel onderdeel van de apparatuur of de motor aan dat is verzegeld door de fabrikant of distributeur. Alleen een gekwalificeerde servicemonteur mag onderdelen aanpassen die het gereguleerde motortoerental kunnen verhogen of verlagen.
- Draag tijdens de service een ANSI-goedgekeurde veiligheidsbril, heavy-duty werkhandschoenen en een stofmasker/ademhalingsmasker.
- Onderhoud labels en naamplaatjes op de apparatuur. Deze bevatten belangrijke informatie. Als ze onleesbaar zijn of ontbreken, neem dan contact op met Harbor Freight Tools voor een vervanging.
- Laat de apparatuur onderhouden door een gekwalificeerde reparateur die uitsluitend identieke vervangingsonderdelen gebruikt. Dit zorgt ervoor dat de veiligheid van de apparatuur behouden blijft. Probeer geen service- of onderhoudsprocedures uit te voeren die niet in deze handleiding worden uitgelegd, of procedures waarvan u niet zeker weet of u ze veilig of correct kunt uitvoeren.
- Bewaar apparatuur buiten het bereik van kinderen.
- Volg het geplande motor- en apparatuuronderhoud.
GFCI-beveiliging:
Deze generator is uitgerust met twee 3-polige, duplex 120 V aardlekschakelaar (GFCI) stopcontacten. Deze stopcontacten bieden extra bescherming tegen het risico op elektrische schokken. Mocht vervanging van de stopcontacten noodzakelijk zijn, gebruik dan uitsluitend identieke vervangingsonderdelen die GFCI-beveiliging bevatten.
Brandstof bijvullen:
- Vul de brandstoftank niet bij terwijl de motor draait of heet is.
- Niet roken en geen vonken, vlammen of andere ontstekingsbronnen in de buurt van de apparatuur toestaan, vooral niet tijdens het tanken.
- OM BRANDSTOFLEKKAGE EN BRANDGEVAAR TE VOORKOMEN, mag u de tank niet te vol tanken. Vul met brandstof volgens de brandstofniveau-informatie onder de specificatietabel voor uw model.
- Vul de brandstoftank niet tot de bovenkant. Laat een beetje ruimte over voor de brandstof om uit te zetten als dat nodig is.
- Tank alleen bij in een goed geventileerde ruimte.
- Veeg gemorste brandstof op en laat het teveel verdampen voordat u de motor start. Om BRAND te voorkomen, start u de motor niet als er nog brandstofgeur in de lucht hangt.
Accuservice:
- Het onderhoud aan accu's moet worden uitgevoerd door of onder toezicht staan van personeel dat kennis heeft van accu's en de vereiste voorzorgsmaatregelen. Houd onbevoegd personeel uit de buurt van accu's.
- Gebruik bij het vervangen van de accu het volgende type accu: 12 V, 1,6 A h Lithium Iron Phosphate (LiFEPO4) type.
Gooi de accu of batterijen niet in vuur. De accu kan exploderen. Gooi oude accu's op de juiste manier weg of recycle ze.
Open of vermink de accu niet. Vrijgekomen elektrolyt staat erom bekend schadelijk te zijn voor de huid en ogen en giftig te zijn.
Een accu vormt een risico op een hoge kortsluitstroom. De volgende voorzorgsmaatregelen moeten worden nageleefd bij het werken aan accu's:- Verwijder horloges, ringen of andere metalen voorwerpen.
- Gebruik gereedschap met geïsoleerde handgrepen.
- Leg geen gereedschap of metalen onderdelen bovenop accu's.
BEWAAR DEZE INSTRUCTIES.
Functionele beschrijving
Specificaties
| Generator | Output | 120 / 240 V AC, 60 Hz, 58.3 / 29.2 A, 1 Fase 7.000 Running Watts (8.750 max. start Watts) 12VDC, 8.3A 5V USB, 3.1A | |
| Batterij voor elektrische start | 12V, 1.6AH Lithium Iron Phosphate (LiFEPO4) | ||
| Elektrisch stopcontact | Twee 3-polige, duplex NEMA #5-20 120 V GFCI Eén 4-polige, NEMA #L14-30 twistlock 120 V / 240 V Eén DC-aansluiting 12 V DC 2X USB-A-poorten | ||
| Motor | Cilinderinhoud | 420 cc | |
| Motortype | Horizontale eencilinder 4-takt OHV | ||
| Koelsysteem | Geforceerde luchtkoeling | ||
| Brandstof | Type | 87+ octaangehalte gestabiliseerde loodvrije benzine | |
| Capaciteit | 5.9 Gallons | ||
| Motorolie | Type SAE | 10W – 30 boven 32°F 5W – 30 bij 32°F of lager | |
| Capaciteit | 1.1 Quart | ||
| Bougie | Type | Torch F6RTC, of gelijkwaardig | |
| Gap | 0.028" – 0.031" | ||
| Klepspeling inlaat/uitlaat | 0.0019' - 0.0039' | ||
| Looptijd @ 25% belasting | 15.1 uur | ||
| Operationeel volume | 75 dB @ 21 ft., geen belasting | ||
Het emissiecontrolesysteem voor deze Generator's Engine wordt gegarandeerd voor normen die zijn vastgesteld door de U.S. Environmental Protection Agency en door de California Air Resources Board (ook bekend als CARB). Raadpleeg de laatste pagina's van deze handleiding voor garantie-informatie.
Componenten en bedieningselementen

Hieronder volgen beschrijvingen van de bedieningselementen op het stroompaneel. Uw Generator heeft stopcontacten om uw producten van stroom te voorzien met stroomonderbrekers om de spanningsstroom te beschermen.
- Engine Switch: Wordt gebruikt om de Engine te starten en te stoppen. (Motor schakelaar: Wordt gebruikt om de motor te starten en te stoppen.)
![]()
- AC Receptacles: De Generator bevat verschillende AC-stopcontacten om gereedschap en apparatuur van stroom te voorzien. (AC Stopcontacten: De Generator bevat verschillende AC-stopcontacten om gereedschap en apparatuur van stroom te voorzien.)
- 3-polige, duplex 120 volt GFCI-stopcontact (NEMA #5-20)
![]()
- 4-polige, twistlock, 120/240 volt stopcontact (NEMA #L14-30)
![]()
OM ERNSTIG LETSEL TE VOORKOMEN: Sluit gereedschap en apparatuur alleen aan op het stopcontact (120 volt of 240 volt) dat compatibel is met de elektrische kenmerken en nominale capaciteiten van het gereedschap en de apparatuur die wordt gebruikt.
- 3-polige, duplex 120 volt GFCI-stopcontact (NEMA #5-20)
- Circuit Breakers: De stroomonderbreker beschermt de Generator tegen overbelasting. De classificatie van de stroomonderbreker en de belasting die hij beschermt, staan in de buurt van de stroomonderbreker. Als een van de stroomonderbrekers uitschakelt, stopt de Generator de elektriciteitsafgifte. Als dit gebeurt, koppelt u alle belastingen los van de Generator. Zet vervolgens de uitgeschakelde stroomonderbreker op ON (AAN) en bevestig de belastingen geleidelijk opnieuw. OPMERKING: Laat voor stroomonderbrekers van het push-type een paar minuten afkoelen voordat u opnieuw start. (Stroomonderbrekers: De stroomonderbreker beschermt de generator tegen overbelasting.)
![]()
![]()
- 12 VDC Receptacle: 12 VDC Receptacle biedt een stroombron voor 12 volt DC-items. (12 VDC Stopcontact: 12 VDC Stopcontact biedt een stroombron voor 12 volt DC-items.)
- Grounding Terminal: Stel voorafgaand aan elk gebruik de aarddraad (niet inbegrepen) in op de Grounding Terminal (Aardingsklem) om de Generator correct te aarden. Raadpleeg Aarding voor instructies over het aarden van de Generator.
![]()
- Digital Display: Druk op de Mode Button (Modusknop) om door de functies van het Display te bladeren:
- Voltage (Geeft U + spanningswaarde weer. Voorbeeld: "U240")
- Frequency (Geeft F + frequentiewaarde weer. Bijv.: "F60")
- Current session runtime (Huidige sessie runtime)
- Total (accumulated) runtime (Totale (geaccumuleerde) runtime)
Note: Every 50 hours, a blinking maintenance reminders will appear on the screen (P050, P100, P150, etc.). To clear a maintenance reminder, press and hold the Mode Button for 5 seconds. (Opmerking: om de 50 uur verschijnen er knipperende onderhoudsherinneringen op het scherm (P050, P100, P150, enz.). Om een onderhoudsherinnering te wissen, houdt u de Modusknop 5 seconden ingedrukt.)
Eerste gereedschapsinstallatie/montage
Lees het VOLLEDIGE BELANGRIJKE VEILIGHEIDSINFORMATIE-gedeelte aan het begin van deze handleiding, inclusief alle tekst onder de subkopjes daarin, voordat u dit product installeert of gebruikt.
OM ERNSTIG LETSEL TE VOORKOMEN:
Gebruik alleen met de juiste vonkenvanger geïnstalleerd. De werking van deze apparatuur kan vonken veroorzaken die brand kunnen veroorzaken in droge vegetatie. Een vonkenvanger kan vereist zijn. De operator dient contact op te nemen met de plaatselijke brandweer voor wetten of voorschriften met betrekking tot brandpreventie-eisen.
Op grote hoogte moeten de carburateur, de regelaar en alle andere onderdelen van de motor die de brandstof-luchtverhouding regelen, worden afgesteld door een gekwalificeerde monteur om efficiënt gebruik op grote hoogte mogelijk te maken en schade aan de motor en andere apparaten die bij dit product worden gebruikt, te voorkomen.
Note: For additional information regarding the parts listed in the following pages, refer to the Assembly Diagram near the end of this manual. (Opmerking: raadpleeg het montageschema aan het einde van deze handleiding voor meer informatie over de onderdelen die op de volgende pagina's worden vermeld.)
Wheel Kit Assembly
Install the included wheel kit by following the instructions included with it. (Wielset montage
Installeer de meegeleverde wielset volgens de meegeleverde instructies.)
Installing the Wheels
- Unpack and identify all parts. (Pak alle onderdelen uit en identificeer ze.)
- Slide the Axle (11a) onto one side of the compressor frame and secure the Nut (14a) in place. Repeat on the other side of the frame. (Schuif de as (11a) op één kant van het compressorframe en zet de moer (14a) vast. Herhaal dit aan de andere kant van het frame.)
![]()
- Slide a Washer (10a), a Wheel (12a), and another Washer (13a) onto an Axle and secure the Nut (9a) in place. Repeat on the other Axle. (Schuif een sluitring (10a), een wiel (12a) en nog een sluitring (13a) op een as en zet de moer (9a) vast. Herhaal dit op de andere as.)
![]()
Installing the Feet
- Secure the Foot (18a) onto the bottom of the Foot Support (16a) with a Bolt (19a) and Nut (15a). (Zet de voet (18a) vast aan de onderkant van de voetsteun (16a) met een bout (19a) en moer (15a).)
![]()
- Working on the opposite end of the Frame from the wheels, align the holes in the frame with a Foot Support (16a) and secure in place with two Bolts (17a) and Nuts (15a). Repeat with the other Foot support. (Werkend aan de andere kant van het frame van de wielen, lijn de gaten in het frame uit met een voetsteun (16a) en zet deze vast met twee bouten (17a) en moeren (15a). Herhaal dit met de andere voetsteun.)
![]()
Installing the Handle
- Remove the Bolt (6a) holding the Handle (4a) to the Handle Seat (7a) before installing the Handle Seat. (Verwijder de bout (6a) die het handvat (4a) aan de handgreepzitting (7a) vasthoudt voordat u de handgreepzitting installeert.)
![]()
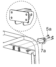
- Holding the Handle Seat as shown at right, align the holes of the Handle Seat (7a) with the holes on the generator frame on the same side as the Feet. (Houd de handgreepzitting vast zoals rechts weergegeven en lijn de gaten van de handgreepzitting (7a) uit met de gaten op het generatorframe aan dezelfde kant als de voeten.)
![]()
- Secure in place with four Bolts (5a). (Zet vast met vier bouten (5a).)
- Align the Handle (4a) with the holes in the Handle Seat and secure in place with the Bolt (6a) and Nut (8a). (Lijn het handvat (4a) uit met de gaten in de handgreepzitting en zet het vast met de bout (6a) en moer (8a).)
![]()
- Use the Pin (2a) to secure the handle in the raised or lowered position. (Gebruik de pin (2a) om het handvat in de verhoogde of verlaagde positie vast te zetten.)
![]()
Battery Setup Instructions
All generators can be started using the recoil method. This Generator requires installation of a battery to operate the electric start feature. Connect the battery to the Generator engine: (Instructies voor het instellen van de batterij
Alle generatoren kunnen worden gestart met behulp van de terugslagmethode. Deze Generator vereist de installatie van een batterij om de elektrische startfunctie te bedienen. Sluit de batterij aan op de Generator-motor:)
- Remove terminal covers from the battery, if installed. (Verwijder de afdekkingen van de accupolen, indien geïnstalleerd.)
- Attach the positive (red) cable connector from the engine to the Positive Terminal on the battery. Connect cable securely to prevent disconnection and short circuits. (Sluit de positieve (rode) kabelconnector van de motor aan op de positieve pool van de batterij. Sluit de kabel stevig aan om loskoppeling en kortsluiting te voorkomen.)
- Attach the negative (black) cable connector to the negative battery terminal. (Sluit de negatieve (zwarte) kabelconnector aan op de negatieve accupool.)
Grounding
The Generator must be properly grounded before use. Have the unit grounded by a qualified electrician if you are not qualified to do so. To ground the Generator, connect a #6 AWG grounding wire (not included) from the Grounding Terminal on the Control Panel to a grounding rod (not included) that has been driven at least 24 inches deep into the earth. The grounding rod must be an earth-driven copper or brass rod (electrode) which can adequately ground the Generator.
Note: There is a permanent conductor between the portable generator inverter module (Neutral Conductor) and the frame. (Aarding
De Generator moet voor gebruik correct geaard zijn. Laat de unit aarden door een gekwalificeerde elektricien als u hier niet toe bevoegd bent. Om de Generator te aarden, sluit u een #6 AWG aarddraad (niet inbegrepen) aan van de aardingsklem op het bedieningspaneel op een aardingsstaaf (niet inbegrepen) die minstens 24 inch diep in de grond is gedreven. De aardingsstaaf moet een in de grond gedreven koperen of messing staaf (elektrode) zijn die de Generator voldoende kan aarden.
Opmerking: er is een permanente geleider tussen de draagbare generator-omvormermodule (neutrale geleider) en het frame.)
Remove the Shipping Brackets
To protect the Generator during shipping, Shipping Brackets have been installed between the Engine and Frame. These brackets MUST BE REMOVED BEFORE adding oil or gasoline to the Generator.
NOTICE: DO NOT attempt to start Generator without first removing the Shipping Brackets. Damage to the Generator as a result of not removing the Brackets will void the warranty. (Verwijder de transportbeugels
Om de Generator tijdens verzending te beschermen, zijn er transportbeugels geïnstalleerd tussen de motor en het frame. Deze beugels MOETEN WORDEN VERWIJDERD VOORDAT er olie of benzine aan de Generator wordt toegevoegd.
LET OP: probeer de Generator NIET te starten zonder eerst de transportbeugels te verwijderen. Schade aan de Generator als gevolg van het niet verwijderen van de beugels maakt de garantie ongeldig.)
- BEFORE filling the Engine with oil or gasoline, tip the Generator onto its recoil end. Tip onto the flattened cardboard box the Generator came in or other protective surface so as to not scratch the Frame. (Voordat u de motor met olie of benzine vult, kantelt u de generator op het terugslag-einde. Kantel op de platgedrukte kartonnen doos waarin de Generator is geleverd of een ander beschermend oppervlak om te voorkomen dat het Frame bekrast.)
- Remove the Bolts from the grey Shipping Brackets. Bolts and Shipping Brackets can be discarded. (Verwijder de bouten van de grijze transportbeugels. Bouten en transportbeugels kunnen worden weggegooid.)
![Predator - 57480 - Verwijder de transportbeugels Verwijder de transportbeugels]()
- Tip the Generator upright. (Kantel de Generator rechtop.)
High Altitude Operation Above 3000 feet (Werking op grote hoogte boven 3000 voet)
TO PREVENT SERIOUS INJURY FROM FIRE:
Follow instructions in a well-ventilated area away from ignition sources. If the engine is hot from use, shut the engine off and wait for it to cool before proceeding. Do not smoke.
NOTICE Warranty void if necessary adjustments are not made for high altitude use. At high altitudes, the engine's carburetor, governor, and any other parts that control the fuel-air ratio will need to be adjusted by a qualified mechanic to allow efficient high-altitude use and to prevent damage to the engine and any other devices used with this product. The fuel system on this engine may be influenced by operation at higher altitudes. Proper operation can be ensured by installing an altitude kit at altitudes higher than 3000 ft. above sea level. At elevations above 8000 ft, the engine may experience decreased performance, even with the proper main jet. Operating this engine without the proper altitude kit installed may increase the engine's emissions and decrease fuel economy and performance. The kit should be installed by a qualified mechanic. (OM ERNSTIG LETSEL DOOR BRAND TE VOORKOMEN:
Volg de instructies in een goed geventileerde ruimte, uit de buurt van ontstekingsbronnen. Als de motor heet is door gebruik, schakel de motor uit en wacht tot deze is afgekoeld voordat u verder gaat. Niet roken.
LET OP Garantie vervalt als de nodige aanpassingen niet zijn gemaakt voor gebruik op grote hoogte. Op grote hoogte moeten de carburateur, de regelaar en alle andere onderdelen van de motor die de brandstof-luchtverhouding regelen, worden afgesteld door een gekwalificeerde monteur om efficiënt gebruik op grote hoogte mogelijk te maken en schade aan de motor en andere apparaten die bij dit product worden gebruikt, te voorkomen. Het brandstofsysteem van deze motor kan worden beïnvloed door gebruik op grotere hoogten. Een goede werking kan worden gegarandeerd door een hoogtekit te installeren op hoogten hoger dan 3000 ft. boven zeeniveau. Op hoogten boven 8000 ft kan de motor verminderde prestaties ondervinden, zelfs met de juiste hoofdsproeier. Het gebruik van deze motor zonder de juiste hoogtekit kan de uitstoot van de motor verhogen en het brandstofverbruik en de prestaties verminderen. De kit moet worden geïnstalleerd door een gekwalificeerde monteur.)
- Turn off the engine. (Zet de motor uit.)
- Close the fuel valve. (Sluit de brandstofklep.)
- Place a bowl under the fuel cup to catch any spilled fuel. (Plaats een kom onder de brandstofbeker om gemorste brandstof op te vangen.)
Carburetor bowl may have gas in it which will leak upon removing the bolt. (In de carburateurkom kan zich gas bevinden dat lekt bij het verwijderen van de bout.) - Unthread the bolt holding the fuel cup. (Draai de bout los die de brandstofbeker vasthoudt.)
- Remove the bolt, Bolt Seal, fuel cup, Fuel Cup Seal and Main Jet from the body of the carburetor assembly. A carburetor screwdriver (not included) is needed to remove and install the Main Jet. (Verwijder de bout, boutafdichting, brandstofbeker, brandstofbekerafdichting en hoofdsproeier van het lichaam van de carburateurconstructie. Een carburateurschroevendraaier (niet inbegrepen) is nodig om de hoofdsproeier te verwijderen en te installeren.)
Note: The mixing tube is held in place by the Main Jet and might fall out when it is removed. If it falls out, replace it in the same orientation before replacing the Main Jet. (Opmerking: de mengbuis wordt op zijn plaats gehouden door de hoofdsproeier en kan eruit vallen wanneer deze wordt verwijderd. Als deze eruit valt, plaats deze dan terug in dezelfde richting voordat u de hoofdsproeier vervangt.) - Replace the Main Jet with the replacement Main Jet needed for your altitude range (part 1a or 2a). Note: The Fuel Cup Seal and Bolt Seal may be damaged during removal and should be replaced with the new ones from the kit. (Vervang de hoofdsproeier door de vervangende hoofdsproeier die nodig is voor uw hoogtebereik (onderdeel 1a of 2a). Opmerking: de brandstofbekerafdichting en boutafdichting kunnen beschadigd raken tijdens het verwijderen en moeten worden vervangen door de nieuwe uit de kit.)
- Replace the Fuel Cup Seal (4a), fuel cup, Bolt Seal (3a), and bolt. Tighten in place. (Vervang de brandstofbekerafdichting (4a), brandstofbeker, boutafdichting (3a) en bout. Draai vast.)
NOTICE: Do not cross thread bolt when tightening. Finger tighten first and then use a wrench to make sure the bolt is properly threaded. (LET OP: Draai de bout niet te vast bij het aandraaien. Draai eerst met de vinger vast en gebruik vervolgens een sleutel om ervoor te zorgen dat de bout correct is ingedraaid.) - Wipe up any spilled fuel and allow excess to evaporate before starting engine. To prevent FIRE, do not start the engine while the smell of fuel hangs in the air. (Veeg gemorste brandstof op en laat overtollige brandstof verdampen voordat u de motor start. Om BRAND te voorkomen, start de motor niet als er brandstofgeur in de lucht hangt.)
High Altitude Kit parts List - A
| Part | Description | Qty |
| 1a | Main Jet 3000-6000 ft. (Hoofdsproeier 3000-6000 ft.) | 1 |
| 2a | Main Jet 6000-8000 ft. (Hoofdsproeier 6000-8000 ft.) | 1 |
| 3a | Bolt Seal (Boutafdichting) | 1 |
| 4a | Fuel Cup Seal (Brandstofbekerafdichting) | 1 |

Bedieningsinstructies
Lees de VOLLEDIGE BELANGRIJKE VEILIGHEIDSINFORMATIE sectie aan het begin van deze handleiding, inclusief alle tekst onder de subkoppen daarin, vóór de installatie of het gebruik van dit product.
Inspecteer het gereedschap voor gebruik en zoek naar beschadigde, losse en ontbrekende onderdelen. Als er problemen worden gevonden, gebruik het gereedschap dan niet voordat het is gerepareerd.
Generator Pre-Start Checks (Voorafgaande controles generator)
Inspecteer de motor en apparatuur en zoek naar beschadigde, losse en ontbrekende onderdelen vóór de installatie en start. Als er problemen worden gevonden, gebruik de apparatuur dan niet voordat deze correct is gerepareerd.
Checking and Filling Engine Oil (Motorolie controleren en bijvullen)
Your Warranty is VOID if the engine's crankcase is not properly filled with oil before each use (Uw garantie vervalt als het carter van de motor niet goed is gevuld met olie voor elk gebruik). Before each use, check the oil level (Controleer voor elk gebruik het oliepeil). Do not run the engine with low or no engine oil (Laat de motor niet draaien met weinig of geen motorolie). Running the engine with no or low engine oil WILL permanently damage the engine (Als de motor met geen of weinig motorolie draait, wordt de motor PERMANENT beschadigd).
- Make sure the engine is stopped and is level (Zorg ervoor dat de motor is uitgeschakeld en waterpas staat).
- Close the Fuel Valve (Sluit de brandstofklep).
- Clean the top of the Dipstick (Maak de bovenkant van de peilstok schoon) and the area around it (en het gebied eromheen). Remove the Dipstick (Verwijder de peilstok) by threading it counterclockwise (door hem tegen de klok in te draaien), and wipe it off with a clean lint free rag (en veeg hem af met een schone, pluisvrije doek).
![Predator - 57480 - Generator Pre-Start Checks (Voorafgaande controles generator) Generator Pre-Start Checks (Voorafgaande controles generator)]()
- Reinsert the Dipstick without threading it in (Plaats de peilstok terug zonder hem erin te draaien) and remove it to check the oil level (en verwijder hem om het oliepeil te controleren). The oil level should be up to the full level as shown above (Het oliepeil moet tot het volledige niveau zijn, zoals hierboven weergegeven).
- If the oil level is at or below the low mark (Als het oliepeil op of onder het lage merkteken staat) add the appropriate type of oil until the oil level is at the proper level (voeg dan het juiste type olie toe totdat het oliepeil op het juiste niveau is). SAE 10W-30 oil is recommended for general use (SAE 10W-30-olie wordt aanbevolen voor algemeen gebruik). (The SAE Viscosity Grade chart in the Service section shows other viscosities to use in different average temperatures.)
- Thread the dipstick back in clockwise (Draai de peilstok met de klok mee terug).
Do not run the engine with too little oil (Laat de motor niet draaien met te weinig olie). The engine will be permanently damaged (De motor zal permanent beschadigd raken).
Checking and Filling Fuel (Brandstof controleren en bijvullen)

TO PREVENT SERIOUS INJURY FROM FIRE (OM ERNSTIG LETSEL DOOR BRAND TE VOORKOMEN):
Fill the fuel tank in a well-ventilated area away from ignition sources (Vul de brandstoftank in een goed geventileerde ruimte, uit de buurt van ontstekingsbronnen). If the engine is hot from use (Als de motor heet is door gebruik), shut the engine off and wait for it to cool before adding fuel (schakel de motor uit en wacht tot hij is afgekoeld voordat u brandstof toevoegt). Do not smoke (Niet roken).
- Clean the Fuel Cap (Maak de brandstofdop schoon) and the area around it (en het gebied eromheen).
- Unscrew and remove the Fuel Cap (Draai de brandstofdop los en verwijder deze).
- If needed (Indien nodig), fill the Fuel Tank to about 1 inch under the fill neck with 87 octane or higher unleaded gasoline that has been treated with a fuel stabilizer additive (vul de brandstoftank tot ongeveer 2,5 cm onder de vulhals met loodvrije benzine van 87 octaan of hoger die is behandeld met een brandstofstabilisatoradditief). Follow fuel stabilizer manufacturer's recommendations for use (Volg de aanbevelingen van de fabrikant van de brandstofstabilisator voor gebruik).
Note (Opmerking): Do not use gasoline containing more than 10% ethanol (E10) (Gebruik geen benzine met meer dan 10% ethanol (E10)). Do not use E85 ethanol (Gebruik geen E85-ethanol).
Note (Opmerking): Do not use gasoline that has been stored in a metal fuel container or a dirty fuel container (Gebruik geen benzine die is opgeslagen in een metalen brandstofcontainer of een vuile brandstofcontainer). It can cause particles to enter the carburetor, effecting engine performance and/or causing damage (Het kan ervoor zorgen dat er deeltjes in de carburateur terechtkomen, wat de motorprestaties beïnvloedt en/of schade veroorzaakt). - Then replace the Fuel Cap (Vervang dan de brandstofdop).
- Wipe up any spilled fuel and allow excess to evaporate before starting engine (Veeg eventueel gemorste brandstof op en laat overtollige brandstof verdampen voordat u de motor start). To prevent FIRE (Om BRAND te voorkomen), do not start the engine while the smell of fuel hangs in the air (start de motor niet als er nog brandstofgeur in de lucht hangt).
Using the Generator (De generator gebruiken)
Before Starting the Generator Engine (Voordat u de generatormotor start)
Before starting the engine (Voordat u de motor start):
- Follow the Set Up Instructions to prepare the Generator (Volg de installatie-instructies om de generator voor te bereiden).
- Unplug all loads from the Generator (Koppel alle belastingen los van de generator).
- Inspect the Generator and engine (Inspecteer de generator en de motor).
- Fill the engine with the proper amount and type of both stabilizer-treated fuel and oil (Vul de motor met de juiste hoeveelheid en het juiste type brandstof en olie die met stabilisator zijn behandeld).
Basic Generator Use procedure - (Basisprocedure voor gebruik van de generator -)
See following pages for specific instructions (Zie de volgende pagina's voor specifieke instructies)
- Check that the Generator can handle the wattage needed to power your products (Controleer of de generator het wattage aankan dat nodig is om uw producten van stroom te voorzien).
- Start the Engine (Start de motor), and allow the Engine and Generator to run and warm up for five minutes after starting with no electrical load (en laat de motor en generator na het starten vijf minuten draaien en opwarmen zonder elektrische belasting).
- With the engine running (Terwijl de motor draait), test GFCI receptacles (test de GFCI-stopcontacten) before each use as follows (voor elk gebruik als volgt):
- Press "Test" (Test)-button on receptacle to trip the GFCI device (om het GFCI-apparaat te activeren).
- The "Reset" (Reset)-button should extend, cutting off electricity to the receptacle (De Reset-knop moet uitsteken, waardoor de elektriciteit naar het stopcontact wordt uitgeschakeld).
- If above test fails (Als de bovenstaande test mislukt), do not use receptacle until it is repaired or replaced (gebruik het stopcontact niet voordat het is gerepareerd of vervangen).
- Press "Reset" (Reset)-button in for use (druk op de Reset-knop voor gebruik).
![]()
- Plug in products (Sluit producten aan).
- When finished using the Generator (Wanneer u klaar bent met het gebruik van de generator), disconnect all electrical loads (koppel alle elektrische belastingen los).
Note (Opmerking): Do not allow Generator to run out of fuel with loads attached (Zorg ervoor dat de generator niet zonder brandstof komt te zitten terwijl er belastingen zijn aangesloten). - Turn off the Engine (Schakel de motor uit).
- Allow the Generator and its Engine to completely cool (Laat de generator en de motor volledig afkoelen). Then store the unit in a clean (Berg het apparaat vervolgens op in een schone), dry (droge), safe location out of reach of children and other unauthorized people (veilige plaats, buiten bereik van kinderen en andere onbevoegden).
After starting the engine (Nadat u de motor hebt gestart), allow it to run at no load for five minutes with no load after each start-up so that the engine can stabilize (laat hem na elke start vijf minuten zonder belasting draaien, zodat de motor kan stabiliseren).
Break-in period (Inloopperiode):
- Breaking-in the engine will help to ensure proper equipment and engine operation (Het inrijden van de motor helpt om een goede werking van de apparatuur en de motor te garanderen).
- The break-in period will last about 25 hours of use (De inloopperiode duurt ongeveer 25 gebruiksuren). DO NOT exceed 75% of the Generator's rated capacity during this period (Overschrijd gedurende deze periode NIET 75% van het nominale vermogen van de generator).
- Change the engine oil after this period (Vervang de motorolie na deze periode).
Under normal operating conditions subsequent maintenance follows the schedule explained in the MAINTENANCE section (Onder normale bedrijfsomstandigheden volgt het daaropvolgende onderhoud het schema dat wordt uitgelegd in het hoofdstuk ONDERHOUD).
Starting the Engine (De motor starten)
- To start a cold engine (Om een koude motor te starten), pull the "Choke" (Choke)-Knob out to the START position (trekt u de Choke-knop naar de START-stand). To restart a warm engine (Om een warme motor opnieuw te starten), leave the "Choke" (Choke)-Knob in the RUN position (laat u de Choke-knop in de RUN-stand staan).
![]()
- Open the Fuel Valve (Open de brandstofklep).
![]()
- Put ESC Switch in off position (Zet de ESC-schakelaar in de uit-stand).
- For MANUAL START (Voor HANDMATIG STARTEN)
- Turn the Engine Switch to ON (Zet de motorschakelaar op AAN).
![]()
- Grip the Starter Handle of the Engine loosely and pull it slowly several times to allow the gasoline to flow into the Engine's carburetor (Pak de startgreep van de motor losjes vast en trek deze langzaam een paar keer om de benzine in de carburateur van de motor te laten stromen). Then pull the Starter Handle gently until resistance is felt (Trek vervolgens voorzichtig aan de startgreep totdat er weerstand wordt gevoeld). Allow Cable to retract fully and then pull it quickly (Laat de kabel volledig intrekken en trek hem vervolgens snel). Repeat until the engine starts (Herhaal dit totdat de motor start).
Note (Opmerking): Do not let the Starter Handle snap back against the engine (Laat de startgreep niet tegen de motor slaan). Hold it as it recoils so it doesn't hit the engine (Houd hem vast terwijl hij terugtrekt, zodat hij de motor niet raakt).
![]()
Turn the Engine Switch to START (Zet de motorschakelaar op START).
![]()
Note (Opmerking): To prolong starter life (Om de levensduur van de starter te verlengen), use short starting cycles (5 seconds maximum) (gebruikt u korte startcycli (maximaal 5 seconden)). Then wait one minute before attempting to start again (Wacht vervolgens een minuut voordat u opnieuw probeert te starten). - Turn the Engine Switch to ON (Zet de motorschakelaar op AAN).
- Allow the Engine to run for several seconds (Laat de motor een paar seconden draaien). Then (Als de choke-knop in de CHOKE-stand staat), if the "Choke" (Choke)-Knob is in the CHOKE position (verplaatst u de choke-knop heel langzaam naar de RUN-stand). move the "Choke" (Choke)-Knob very slowly to its RUN position.
![]()
Note (Opmerking): Moving the "Choke" (Choke)-Knob too fast could stall the engine (Als u de choke-knop te snel verplaatst, kan de motor afslaan).
Allow the engine to run at no load for five minutes with no load after each start-up so that the engine can stabilize (Laat de motor na elke start vijf minuten zonder belasting draaien, zodat de motor kan stabiliseren).
CARBON MONOXIDE SHUTOFF (KOOLMONOXIDESLUITING)
TO PREVENT SERIOUS INJURY AND DEATH FROM CARBON MONOXIDE INHALATION (OM ERNSTIG LETSEL EN OVERLIJDEN DOOR KOOLMONOXIDE-INADEMING TE VOORKOMEN): The Carbon Monoxide sensor is an additional layer of protection only (De koolmonoxidesensor is slechts een extra beschermingslaag). Do not use the Generator in any area or situation that will allow carbon monoxide to accumulate (Gebruik de generator niet in een gebied of situatie waarin koolmonoxide zich kan ophopen).
- FLASHING RED LIGHT (KNIPPEREND ROOD LICHT):
Dangerous levels of carbon monoxide gas have built up and generator will shut off (Er hebben zich gevaarlijke niveaus van koolmonoxidegas opgebouwd en de generator wordt uitgeschakeld). Leave immediately until area has aired out (Verlaat onmiddellijk het gebied totdat het is geventileerd). Move Generator to well-ventilated area before operation (Verplaats de generator naar een goed geventileerde ruimte voor gebruik).
- FLASHING YELLOW LIGHT (KNIPPEREND GEEL LICHT):
Carbon monoxide sensor malfunction (Storing in de koolmonoxidesensor). Sensor needs service (Sensor heeft onderhoud nodig). Do not use the Generator until the sensor is working properly (Gebruik de generator niet voordat de sensor goed werkt). For technical questions (Voor technische vragen), please call 1-888-866-5797.
NOTE (OPMERKING): Yellow light flashes once after starting to indicate passing self-check and is functioning normally (Geel licht knippert eenmaal na het starten om aan te geven dat de zelftest is geslaagd en dat de sensor normaal functioneert).
De koolmonoxidesensor mag alleen worden onderhouden door een gekwalificeerde technicus om de oorspronkelijke instellingen te herstellen. Wijzig of manipuleer de koolmonoxidesensor niet. Het niet opvolgen van deze instructies kan leiden tot de dood of ernstig letsel als gevolg van een defect aan de koolmonoxidesensor.
Aansluiten van elektrische belastingen
Maak uzelf vertrouwd met de motorbediening, het stroompaneel en hoe u de motor start voordat u de generator gebruikt. Bereken het wattage van de producten die u met de generator gaat gebruiken en controleer of de generator de totale belasting aankan.

Sluit alleen correct bedrade stekkers aan op de generator. Een stekker die op een ander snoer is gesplitst, kan gevaarlijk zijn. Alleen een gekwalificeerde elektricien mag een stekker op een snoer aansluiten.
Overschrijd nooit de nominale capaciteit van deze generator, omdat ernstige schade aan de generator en/of apparaten, gereedschappen en apparatuur kan ontstaan door overbelasting. De benodigde wattage voor het starten en draaien moet altijd worden berekend bij het afstemmen van de wattagecapaciteit van deze generator op het apparaat, gereedschap of de apparatuur.
Gebruik de DC12 V-aansluiting om 12 V DC-apparatuur van stroom te voorzien.
OM ERNSTIG LETSEL TE VOORKOMEN: Laad geen batterijen op zonder een goede laadregelaar. Laad niet te veel op.
- Sluit eerst de items aan die het meeste wattage vereisen.
- Sluit vervolgens "inductieve" belastingsapparaten, gereedschappen en apparatuur aan. Inductieve belastingen zijn kleine handgereedschappen en sommige kleine apparaten.
- Sluit vervolgens alle lampen aan.
- Spanningsgevoelige apparaten, gereedschappen en apparatuur moeten als laatste op de generator worden aangesloten. Sluit spanningsgevoelige items zoals tv's, dvd-spelers, magnetrons en draadloze telefoons aan op een UL-gecertificeerde overspanningsbeveiliging (niet inbegrepen). Sluit vervolgens de overspanningsbeveiliging aan op de generator.
Als u apparaten, gereedschappen en apparatuur niet in deze volgorde aansluit en bedient, kan dit schade veroorzaken aan de generator, apparaten, gereedschappen en apparatuur en vervalt de garantie van deze generator.
Opmerking: Als de motorsnelheid of spanning fluctueert bij een belasting die lager is dan het draaiende wattage van de generator, zet u de motorklephendel in de "HALF-CHOKE" (HALVE VERSTIKKING) positie.
ALS ER STROOMONDERBREKERS ACTIVEREN, CONTROLEER HET VOLGENDE:

- Zorg ervoor dat ALLE stroomonderbrekers zijn gereset voordat u de generator opnieuw start.
- Pas de stekkers zo aan dat de belastingen over de stopcontactcircuits worden verdeeld.
Om het nominale vermogen van de generator te bereiken, verdeelt u de belastingen over de stopcontacten.
Het totale wattage berekenen van apparaten die met de generator worden gebruikt
Voordat u de generator gebruikt, controleert u of de producten die u op het apparaat wilt aansluiten lager zijn dan de nominale en maximale wattage van de generator. Gebruik de onderstaande wattberekeningstabel en de wattages die op uw producten staan vermeld om het totale wattage te berekenen.
De tabel gebruiken:
- Tel het draaiende wattage op van alle items die u op een bepaald moment wilt gebruiken.
- Zorg ervoor dat dit totaal onder het draaiende wattage van 7.000 van de generator ligt.
- Zoek het hoogste startwattage voor de geselecteerde items en tel dit op bij het totaal.
- Zorg ervoor dat dit totaal onder het maximale startwattage van 8.750 van de generator ligt.
- Sluit producten aan en zet ze aan van het grootste wattage naar het kleinste.
Wattageberekeningstabel
| Apparatuur | Draaiende wattage |
| Totaal draaiende wattage (moet minder zijn dan 7.000) | |
| Grootste extra opstartwattage | |
| Totaal benodigde opstartwattage voor alle belastingen (moet minder zijn dan 8.750) |
Voorbeeld

Een generator die hoger is beoordeeld dan het minimaal vereiste max. startwattage gaat veel langer mee dan een generator die alleen het exact benodigde wattage levert.
Wattage berekenen
Volt en ampère kunnen met elkaar worden vermenigvuldigd om watt te krijgen (volt x ampère = watt).
Extra opstartwattage berekenen
(als ze niet worden vermeld)
Voor apparatuur met een motor: gebruik het nominale wattage als schatting van het extra opstartwattage. Voor de meeste lampen of verwarmingen: er is geen extra opstartwattage.
Wattageschattingstabellen
Opmerking: De hieronder vermelde wattages zijn slechts schattingen voor dat type apparatuur. Controleer de wattage op het naamplaatje van alle belastingen voordat u ze op de generator aansluit.
| NOODGEVAL | ||
| Apparaat | Draaiende wattage | Extra opstartwattage |
| Koelkast/vriezer | 700 | 1500 |
| Radio | 100 | 0 |
| WERKLOCATIE | ||
| Apparaat | Draaiende wattage | Extra opstartwattage |
| Luchtcompressor - 1/2 PK | 1000 | 1000 |
| Tafelzaag - 10" | 1700 | 1300 |
| Bandschuurmachine - 3" | 1200 | 1200 |
| Handboor - 1/2" | 600 | 600 |
| Halogeen werklamp | 1000 | 0 |
| Reciprozaag | 900 | 900 |
| RECREATIE | ||
| Apparaat | Draaiende wattage | Extra opstartwattage |
| AM/FM-radio | 100 | 0 |
| Elektrische grill | 1700 | 0 |
| Opblaaspomp | 50 | 100 |
| CD/DVD-speler | 100 | 0 |
| Boxventilator - 20" | 200 | 200 |
| Koffiezetapparaat | 600 | 0 |
| HUISHOUDEN | ||
| Apparaat | Draaiende wattage | Extra opstartwattage |
| Computer met monitor | 800 | 0 |
| Elektrische wasdroger | 5500 | 500 |
| Elektrisch fornuis | 2100 | 0 |
| Elektrische boiler | 2000 | 0 |
| Gloeilamp - 100 watt | 100 | 0 |
| Magnetron - 1000 watt | 1000 | 200 |
| Dompelpomp - 1/2 PK | 1000 | 1100 |
| Televisie | 400 | 0 |
| Wasmachine | 1100 | 1100 |
| Bronpomp - 1/2 PK | 1000 | 1000 |
| TUIN & GAZON | ||
| Apparaat | Draaiende wattage | Extra opstartwattage |
| Heggenschaar | 400 | 400 |
| Hogedrukreiniger | 1200 | 1200 |
| Grasmaaier | 1200 | 1200 |
| Kantensnijder | 1000 | 1000 |
| VERWARMING & KOELING | ||
| Apparaat | Draaiende wattage | Extra opstartwattage |
| Centrale airco - 10.000 BTU | 1500 | 1500 |
| Kachelventilator - 1/2 PK | 900 | 1400 |
| Ruimteverwarmer | 1800 | 0 |
| Raamairco - 10.000 BTU | 1200 | 600 |
De motor in een noodgeval stoppen
- Om de motor in een noodgeval te stoppen, zet u de motorschakelaar uit (off).
![]()
LET OP: Het uitschakelen van de generator onder belasting kan de generator en de aangesloten apparatuur beschadigen.
De motor uitschakelen onder normale omstandigheden
- Voordat u de motor uitschakelt, schakelt u alle elektrische belastingen uit en trekt u de stekker eruit.
![Schakel alle elektrische belastingen uit en trek de stekker eruit.]()
- Zet de ESC-schakelaar in de uit-stand (off).
![Zet de ESC-schakelaar in de uit-stand.]()
- Zet de motorschakelaar uit (off).
![Zet de motorschakelaar uit.]()
- Sluit de brandstofklep.
Gebruikers-onderhoudsinstructies
Procedures die niet specifiek in deze handleiding worden uitgelegd, mogen alleen worden uitgevoerd door een gekwalificeerde technicus.
OM ERNSTIG LETSEL DOOR ACCIDENTELE BEDIENING TE VOORKOMEN: Zet de aan/uit-schakelaar (Power Switch) van de Generator in de "OFF" (UIT) stand, wacht tot de motor is afgekoeld en ontkoppel de bougiedop voordat u inspectie-, onderhouds- of reinigingsprocedures uitvoert.
OM ERNSTIG LETSEL DOOR APPARATUURSTORING TE VOORKOMEN: Gebruik geen beschadigde apparatuur. Als er abnormaal geluid, trillingen of overmatige rookontwikkeling optreedt, laat het probleem dan verhelpen voordat u het verder gebruikt. Volg alle service-instructies in deze handleiding. De motor kan kritiek falen als deze niet correct wordt onderhouden.
Veel onderhoudsprocedures, inclusief alle procedures die niet in deze handleiding worden beschreven, moeten om veiligheidsredenen worden uitgevoerd door een gekwalificeerde technicus. Als u twijfelt of u de apparatuur of motor veilig kunt onderhouden, laat de apparatuur dan onderhouden door een gekwalificeerde technicus.
Reiniging, onderhoud en smering
Opmerking: Dit onderhoudsschema is uitsluitend bedoeld als algemene richtlijn. Als de prestaties afnemen of als de apparatuur ongebruikelijk werkt, controleer dan onmiddellijk de systemen. De onderhoudsbehoeften van elk apparaat verschillen, afhankelijk van factoren zoals duty cycle, temperatuur, luchtkwaliteit, brandstofkwaliteit en andere factoren.
Opmerking: De volgende procedures zijn een aanvulling op de regelmatige controles en het onderhoud die worden uitgelegd als onderdeel van de regelmatige werking van de motor en apparatuur.
| Procedure | Voor elk gebruik | Maandelijks of elke 20 uur gebruik | Elke 3 maanden of 50 uur gebruik | Elke 6 maanden of 100 uur gebruik | Jaarlijks of elke 300 uur gebruik | Elke 2 jaar |
| Buitenkant van de motor afborstelen | ![]() | ![]() | ![]() | ![]() | ![]() | ![]() |
| Controleer het motoroliepeil | ![]() | ![]() | ![]() | ![]() | ![]() | ![]() |
| Controleer het luchtfilter | ![]() | ![]() | ![]() | ![]() | ![]() | |
| Controleer de bezinkingsbeker | ![]() | ![]() | ![]() | ![]() | ||
| Motorolie verversen | ![]() | ![]() | ![]() | ![]() | ||
| Luchtfilter reinigen/vervangen | * | ![]() | ![]() | ![]() | ||
| Bougie controleren en reinigen | ![]() | ![]() | ![]() | |||
| ** | ** | ||||
| Brandstofleiding vervangen indien nodig | ** |
* Vaker onderhoud plegen bij gebruik in stoffige omgevingen.
** Deze items moeten worden onderhouden door een gekwalificeerde technicus.
Brandstof controleren en bijvullen

OM ERNSTIG LETSEL DOOR BRAND TE VOORKOMEN: Vul de brandstoftank in een goed geventileerde ruimte uit de buurt van ontstekingsbronnen. Als de motor heet is door gebruik, zet de motor dan uit en wacht tot deze is afgekoeld voordat u brandstof toevoegt. Niet roken.
- Reinig de brandstofdop (Fuel Cap) en het gebied eromheen.
- Draai de brandstofdop (Fuel Cap) los en verwijder deze.
Opmerking: Gebruik geen benzine die meer dan 10% ethanol (E10) bevat. Gebruik geen E85-ethanol.
Opmerking: Gebruik geen benzine die is opgeslagen in een metalen brandstofcontainer of een vuile brandstofcontainer. Het kan ervoor zorgen dat er deeltjes in de carburateur terechtkomen, wat de motorprestaties beïnvloedt en/of schade veroorzaakt.
- Vul indien nodig de brandstoftank (Fuel Tank) tot ongeveer 2,5 cm onder de vulhals met 87-octaan of hogere loodvrije benzine die is behandeld met een brandstofstabilisatoradditief. Volg de aanbevelingen van de fabrikant van de brandstofstabilisator voor gebruik.
- Plaats de brandstofdop (Fuel Cap) terug.
- Veeg eventueel gemorste brandstof op en laat overtollige brandstof verdampen voordat u de motor start. Om BRAND te voorkomen, start u de motor niet als de geur van brandstof in de lucht hangt.
Motorolie verversen
Olie is erg heet tijdens bedrijf en kan brandwonden veroorzaken. Wacht tot de motor is afgekoeld voordat u de olie ververst.
- Zorg ervoor dat de motor is uitgeschakeld en waterpas staat.
- Sluit de brandstofklep (Fuel Valve).
- Plaats een opvangbak (niet inbegrepen) onder de aftapplug van het carter.
- Verwijder de aftapplug en kantel het carter indien mogelijk iets om de olie eruit te laten lopen. Recycle gebruikte olie.
- Plaats de aftapplug terug en draai hem vast.
- Reinig de bovenkant van de peilstok (Dipstick) en het gebied eromheen. Verwijder de peilstok (Dipstick) door deze tegen de klok in te draaien en veeg hem af met een schone, pluisvrije doek.
![Predator - 57480 - Motorolie verversen Motorolie verversen]()
- Voeg het juiste type olie toe totdat het oliepeil op het maximale niveau staat. SAE 10W-30-olie wordt aanbevolen voor algemeen gebruik.
Opmerking: Draai de peilstok (dipstick) niet vast bij het controleren van het oliepeil.
De SAE-viscositeitsgraden geeft andere viscositeiten weer die u kunt gebruiken bij verschillende gemiddelde temperaturen.
SAE-viscositeitsgraden
![]()
- Draai de peilstok (dipstick) weer met de klok mee vast.
Laat de motor niet draaien met te weinig olie. De motor raakt permanent beschadigd.
Onderhoud van het luchtfilterelement
- Verwijder het luchtfilterdeksel en de luchtfilterelementen en controleer op vuil. Reinig zoals hieronder beschreven.
- Reiniging:
- Voor "papieren" filterelementen: Om letsel door stof en vuil te voorkomen, draagt u een ANSI-goedgekeurde veiligheidsbril, een NIOSH-goedgekeurd stofmasker/ademhalingstoestel en heavy-duty werkhandschoenen. Gebruik in een goed geventileerde ruimte uit de buurt van omstanders perslucht om stof uit het luchtfilter te blazen. Als het filter hierdoor niet schoon wordt, vervang het dan.
- Voor schuimfilterelementen: Was het element meerdere keren in warm water en een mild reinigingsmiddel. Spoelen. Knijp overtollig water eruit en laat het volledig drogen. Dompel het filter kort in lichtgewicht olie en knijp vervolgens de overtollige olie eruit.
- Installeer het gereinigde filter. Maak het luchtfilterdeksel (Air Cleaner Cover) vast voor gebruik.
Bougie-onderhoud
- Koppel de bougiedop los van het uiteinde van de bougie. Verwijder vuil rond de bougie.
- Verwijder de bougie met een bougiesleutel.
- Inspecteer de bougie: Als de elektrode vettig is, reinig deze dan met een schone, droge doek. Als er afzettingen op de elektrode zitten, polijst deze dan met schuurpapier. Als de witte isolator is gebarsten of afgebroken, moet de bougie worden vervangen.
LET OP: Het gebruik van een onjuiste bougie kan de motor beschadigen. Raadpleeg de specificatietabel voor uw Generator voor het vereiste type en de vereiste opening. - Pas bij het installeren van een nieuwe bougie de opening van de bougie aan volgens de specificatie in de specificatietabel. Wrik niet tegen de elektrode, de bougie kan beschadigd raken.
- Installeer de nieuwe bougie of de gereinigde bougie in de motor. Pakkingstijl: Draai met de hand vast totdat de pakking contact maakt met de cilinderkop, en draai vervolgens nog ongeveer 1/2-2/3 slag verder. Niet-pakkingstijl: Draai met de hand vast totdat de bougie contact maakt met de kop en draai vervolgens nog ongeveer 1/16 slag verder.
LET OP: Draai de bougie op de juiste manier vast. Als de bougie los zit, zal de motor oververhit raken. Als de bougie te vast zit, raken de schroefdraad in het motorblok beschadigd. - Breng diëlektrische bougiedopbeschermer (niet inbegrepen) aan op het uiteinde van de bougie en bevestig de draad weer stevig.
Opslag
Wanneer de apparatuur langer dan 20 dagen buiten gebruik wordt gesteld, bereidt u de motor (Engine) als volgt voor op opslag:
- REINIGING:
Wacht tot de motor (Engine) is afgekoeld en reinig de motor (Engine) vervolgens met een droge doek. LET OP: Niet reinigen met water. Het water komt geleidelijk in de motor (Engine) terecht en veroorzaakt roestschade. Breng een dunne laag roestwerende olie aan op alle metalen onderdelen. - BRANDSTOF:
Benzinebehandeling/De brandstoftank leegmaken
Om de brandstoftank (Fuel Tank) tijdens opslag te beschermen, vult u de tank met verse benzine die is behandeld met een brandstofstabilisatoradditief. Volg de aanbevelingen van de fabrikant van de brandstofstabilisator voor gebruik. Raadpleeg Brandstof controleren en bijvullen. Oude benzine die niet van tevoren met stabilisator is behandeld, moet veilig worden afgevoerd en mag niet door de motor (Engine) worden gebruikt.
![]()
OM ERNSTIG LETSEL DOOR BRAND TE VOORKOMEN:
Vul de tank in een goed geventileerde ruimte uit de buurt van ontstekingsbronnen. Als de motor (Engine) heet is door gebruik, zet de motor (Engine) dan uit en wacht tot deze is afgekoeld voordat u brandstof toevoegt. Niet roken.
De carburateur leegmaken
Plaats na het sluiten van de brandstofklep (Fuel Valve) een geschikte container onder de carburateur en verwijder voorzichtig de aftapbout (Drain Bolt) van de onderkant van de carburateurkom (Carburetor Bowl), zodat de brandstof volledig kan weglopen. Plaats de aftapbout (Drain Bolt) terug na het leegmaken.
Om ernstig letsel en brand te voorkomen, sluit u de brandstofklep (Fuel Valve) voordat u de carburateur leegmaakt.
SMERING:
- Motorolie verversen.
- Maak het gebied rond de bougie schoon. Verwijder de bougie en giet een eetlepel motorolie in de cilinder via het bougiegat.
- Plaats de bougie terug, maar laat de bougiedop losgekoppeld.
- Trek aan de starthendel (Starter Handle) om de olie in de cilinder te verdelen. Stop na één of twee omwentelingen wanneer u voelt dat de zuiger aan de compressieslag begint (wanneer u weerstand begint te voelen).
- OPSLAGRUIMTE:
Afdekken en opslaan in een droge, vlakke, goed geventileerde ruimte buiten bereik van kinderen. De opslagruimte moet ook uit de buurt van ontstekingsbronnen zijn, zoals waterverwarmers, wasdrogers en ovens. Vermijd directe blootstelling aan regen en zonlicht.
LET OP: Tijdens langere opslagperioden moet de motor (Engine) om de 3 maanden worden gestart en 15-20 minuten draaien, anders vervalt de garantie. - NA OPSLAG:
Voordat u de motor (Engine) start tijdens of na opslag, moet u er rekening mee houden dat onbehandelde benzine snel achteruitgaat. Laat de brandstoftank (Fuel Tank) leeglopen en stap over op verse brandstof als onbehandelde benzine een maand heeft gestaan, als behandelde benzine langer heeft gestaan dan de aanbevolen periode van de brandstofstabilisator, of als de motor (Engine) niet start.
Probleemoplossing
| Probleem | Mogelijke oorzaken | Waarschijnlijke oplossingen |
Motor start niet | BRANDSTOF GERELATEERD:
| BRANDSTOF GERELATEERD:
|
ONTSTEKING (VONK) GERELATEERD:
| ONTSTEKING (VONK) GERELATEERD:
| |
COMPRESSIE GERELATEERD:
| COMPRESSIE GERELATEERD:
| |
Motor stopt bij zware belasting |
|
|
Motor hapert |
|
|
Motor stopt plotseling |
|
|
Motor klopt |
|
|
Motor slaat terug |
|
|
Product heeft geen stroom |
|
|
| Product begint abnormaal te werken. |
|
|
Volg alle veiligheidsmaatregelen bij het diagnosticeren of onderhouden van de apparatuur of motor.
Voor technische vragen kunt u bellen met 1-888-866-5797.
Bezoek onze website op: http://www.harborfreight.com
E-mail onze technische ondersteuning op: productsupport@harborfreight.com
E-mail onze motorondersteuning op: predator@harborfreight.com
Copyright © 2020 by Harbor Freight Tools ®. Alle rechten voorbehouden. Geen enkel deel van deze handleiding of enig artwork hierin mag worden gereproduceerd in welke vorm dan ook zonder de uitdrukkelijke schriftelijke toestemming van Harbor Freight Tools. Diagrammen in deze handleiding zijn mogelijk niet proportioneel getekend. Als gevolg van voortdurende verbeteringen kan het werkelijke product enigszins afwijken van het hierin beschreven product. Gereedschap dat nodig is voor montage en service is mogelijk niet inbegrepen.

Referenties
Download handleiding
Hier kunt u de volledige pdf-versie van de handleiding downloaden. Deze kan aanvullende veiligheidsinstructies, garantie-informatie, FCC-regels, enz. bevatten.
Download Predator 8750 Watt, 57480 - Inverter Generator Handleiding


































