Inloggen
Upload
Download
Inhoudsopgave
Inhoud
Voeg toe aan mijn lijst
Verwijder uit mijn lijst
Deel
URL van deze pagina:
HTML Link:
Markeer deze pagina
Toevoegen
Handleiding wordt automatisch toegevoegd aan "Mijn handleidingen"
Print deze pagina
×
Bladwijzer toegevoegd
×
Toegevoegd aan mijn handleidingen
Handleidingen
Merken
WAGNER Handleidingen
Verfspuitpistool
HC 920
Gebruiksaanwijzing
12.10 Esquema Eléctrico Hc920 • Hc940; 12.11 Esquema Eléctrico Hc960 - Wagner Hc 920 Gebruiksaanwijzing
Airless hogedrukspuitinstallatie
Verberg thumbnails
1
2
3
4
5
6
7
8
9
10
11
12
13
14
15
16
17
18
19
20
21
22
23
24
25
26
27
28
29
30
31
32
33
34
35
36
37
38
39
40
41
42
43
44
45
46
47
48
49
50
51
52
53
54
55
56
57
58
59
60
61
62
63
64
65
66
67
68
69
70
71
72
73
74
75
76
77
78
79
80
81
82
83
84
85
86
87
88
89
90
91
92
93
94
95
96
97
98
99
100
101
102
103
104
105
106
107
108
109
110
111
112
113
114
115
116
117
118
119
120
121
122
123
124
125
126
127
128
129
130
131
132
133
134
135
136
pagina
van
136
Ga
/
136
Inhoud
Inhoudsopgave
Bladwijzers
Inhoudsopgave
Beschikbare talen
NL
ES
SE
DK
Meer
Beschikbare talen
DUTCH, pagina 32
ESPAÑOL, página 2
SVENSKA, sida 92
DANSK, side 62
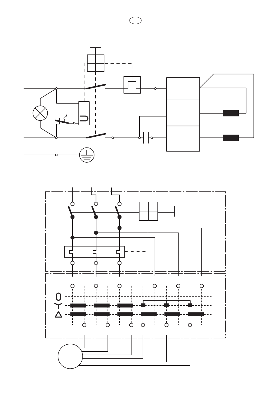
Esquema eléctrico
12.10 Esquema eléctrico HC920 • HC940
L1
N
PE
12.11 Esquema eléctrico HC960
V
b
6
L1
L1
L1
1
3
2
4
L1
L2
U1
V1
M
3~
E
3
BK
5
6
L3
L1a
W1 W2
U2
26
Z1
U1
U2
Z2
L2a
L3a
V2
HC 920 • HC 940 • HC 960
Inhoud
sopgave
Vorige
Pagina
Volgende
Pagina
1
...
25
26
27
28
29
30
31
32
Hoofdstukken
Español
3
Dutch
33
Dansk
63
Inhoudsopgave
Gerelateerde Handleidingen voor WAGNER HC 920
Verfspuitpistool WAGNER PLAST COAT HP 30 Gebruikshandleiding
(92 pagina's)
Verfspuitpistool WAGNER GM 4700AC Gebruiksaanwijzing
(48 pagina's)
Verfspuitpistool WAGNER GA 250AL Gebruiksaanwijzing
Automatisch airless spuitpistool (40 pagina's)
Verfspuitpistool WAGNER SupraCoat GA 3000SCIC Gebruiksaanwijzing
(52 pagina's)
Verfspuitpistool WAGNER AirCoat GM 4100AC Vertaling Van De Originele Gebruiksaanwijzing
(44 pagina's)
Verfspuitpistool WAGNER TwinControl 5-60 ABS Vertaling Van De Originele Gebruiksaanwijzing
(80 pagina's)
Verfspuitpistool WAGNER AC 4600 Professional Gebruiksaanwijzing
(48 pagina's)
Verfspuitpistool WAGNER Cobra 40-10 Gebruiksaanwijzing
(92 pagina's)
Verfspuitpistool WAGNER W 590 Flexio Gebruiksaanwijzing
(21 pagina's)
Verfspuitpistool WAGNER GM 5000EAC Gebruiksaanwijzing
(108 pagina's)
Verfspuitpistool WAGNER GM 5000EA Gebruiksaanwijzing
(100 pagina's)
Verfspuitpistool WAGNER PowerPainter 60 Vertaling Van De Originele Gebruiksaanwijzing
(14 pagina's)
Verfspuitpistool WAGNER LineCoat 820 Gebruikshandleiding
(104 pagina's)
Verfspuitpistool WAGNER TempSpray-H126 Gebruikshandleiding
(112 pagina's)
WAGNER W100 Handleiding
(artikel)
WAGNER CONTROL PRO 250 M Handleiding
(artikel)
Deze handleiding is ook geschikt voor:
Hc 940
Hc 960
Hc 940-ssp
Hc 960-ssp
Inhoudsopgave
Afdrukken
Hernoem de bladwijzer
Verwijder bladwijzer?
Verwijder uit mijn lijst?
Inloggen
Inloggen
OF
Inloggen met Facebook
Inloggen met Google
Handleiding uploaden
Uploaden vanaf harde schijf
Uploaden vanaf URL