Download Inhoudsopgave Inhoud Print deze pagina

Sony RM-AV3000T Gebruiksaanwijzing pagina 69

Inhoudsopgave
Wissen van de timerinstellingen
die voor een bepaalde PROG (1-
12) Label-toets zijn
geprogrammeerd
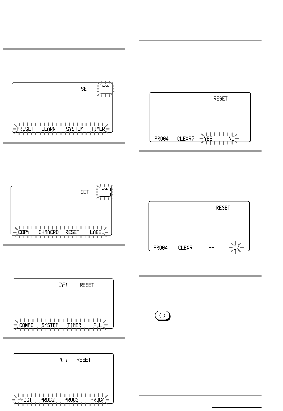
1
Houd de COMMANDER OFF
toets ingedrukt en druk daarbij
op %.
2
Druk eenmaal op de Mode
Display-toets (SET) om "RESET"
op één van de Label-toetsen op
het scherm te laten verschijnen.
3
Druk op de RESET toets.
"RESET" verschijnt op de Mode
Display-toets.
4
Druk op de TIMER toets.
"PROG1" - "PROG4" verschijnen.
Om de Label-toetsen te wijzigen,
drukt u op de TIMER toets.
5
Druk op de Label-toets waarvan
u de timerinstellingen wilt
wissen.
Het gekozen programmanummer
verschijnt op de linker Label-toets.
6
Druk op de YES toets.
Tijdens het wissen blijft "c c"
branden. Wanneer het wissen is
voltooid, verschijnt "OK" en klinkt er
een pieptoon.
Als u op de NO toets drukt
Het scherm keert terug naar stap 4.
7
Druk op de COMMANDER OFF
toets.
COMMANDER
OFF
Als u de COMMANDER OFF toets
langer dan 2 seconden ingedrukt
houdt
Dan schakelt de afstandsbediening uit.
Als u de COMMANDER OFF toets
minder dan 2 seconden ingedrukt
houdt
Dan keert de afstandsbediening terug
naar de vorige instelstand.
Wordt vervolgd
69
Inhoudsopgave
loading

Inhoudsopgave