Download Inhoudsopgave Inhoud Print deze pagina

Pioneer DEX-P99RS Installatiehandleiding pagina 89

Verberg thumbnails Zie ook voor DEX-P99RS:
Inhoudsopgave
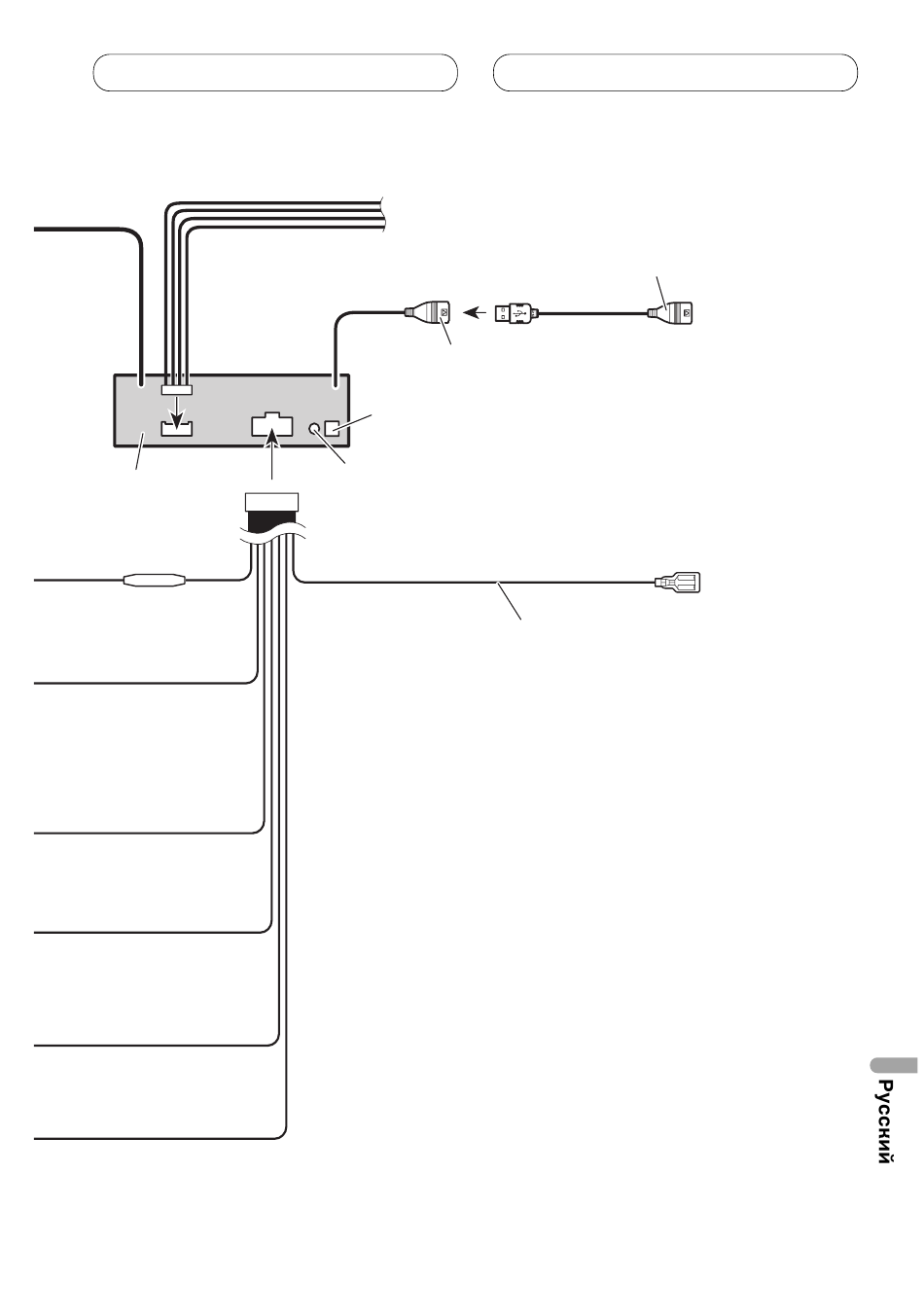
Подключение устройств
Высокий/Средний/Низкий/выход
Низкочастотного динамика
Данное устройство
Предохранител
ьный резистор
All manuals and user guides at all-guides.com
20 cм
Гнездо входа USB
Разъем для подключения IP-BUS (голубой)
Дистанционный монтажный вход
Адаптер жестко смонтированного
дистанционного управления может быть
подключен (продается отдельно).
USB кабель
Подключите к отдельно
продаваемому USB устройству.
1,5 м
Синий/белый (SYSTEM REMOTE
CONTROL)
Подключите к клемме системы
контроля усилителя мощности или к
клемме управления реле
автомобильной антенны (макс. 300 мА
12 В пост.ток).
5
Inhoudsopgave
loading

Inhoudsopgave